
9月14日,CDE官网显示,江苏万邦生化医药集团的递交的3.3类生物药德谷胰岛素注射液临床试验申请获受理。目前国内尚无该9亿重磅降糖药的生物类似药上市。

截图来源:CDE官网
德谷胰岛素最早由丹麦诺和诺德开发,作为新一代基础胰岛素类似物,德谷胰岛素具有平稳、安全、有效控制血糖的特点,一天注射一次,可强效控制全天血糖,糖化血红蛋白(HbA1c)达标率高达89.9%,降低低血糖发生风险且体重获益明确,能更好地满足治疗需求。
德谷胰岛素最早于2012年9月首次在日本获批上市,后陆续在欧洲和美国获批上市。2017年9月中国国家药品监督管理局(NMPA)批准德谷胰岛素注射液用于治疗2型糖尿病,正式在我国上市(中文商品名:诺和达)。后被纳入国家医保品种(乙类),限中长效胰岛素难以控制的2型糖尿病患者。
近年来,德谷胰岛素在糖尿病治疗中的地位日渐凸显,市场迅速扩容。据药融云统计,2021年德谷胰岛素在全球和中国均保持良好增长态势,其中国内医院销售额近10亿元,同比增长了228%;2022年第一季度也保持了113%的超高增长率。
德谷胰岛素注射液中国院内销售情况

截图来源:药融云全国医院销售数据库
截至目前,全球范围内尚没有德谷胰岛素的生物类似药上市。国内布局药企中,吉林惠升生物进展最快,已于今年7月首家申报该品种上市(受理号:CXSS2200066/CXSS2200067)。不过,珠海联邦制药、东阳光、正大天晴、吉林津升/重庆派金、重庆宸安生物/上海博唯生物的研发进展也很快,德谷胰岛素的临床试验均已处于III期阶段。
德谷胰岛素注射液国内临床试验情况(搜索"药融云小程序"进行相关更多数据查询)

截图来源:药融云中国临床试验数据库
除此次申报临床的江苏万邦生化外,此外还有杭州中美华东制药、通化东宝等企业已递交了德谷胰岛素的临床试验申请。值得一提的是,通化东宝刚于8月底取得了德谷胰岛素利拉鲁肽注射液临床试验申请受理通知书,是国产首家提交该品种注册申请的企业。
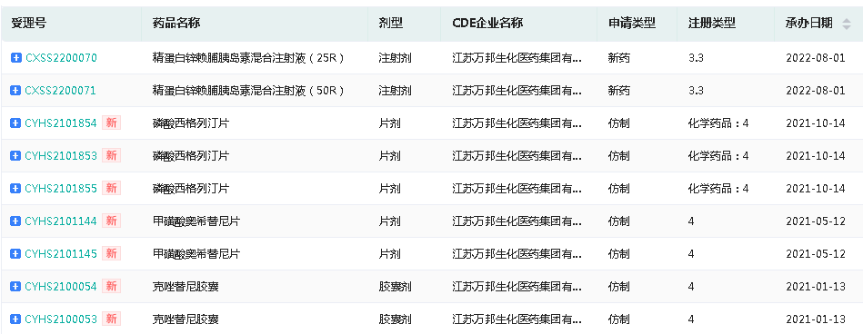
经药融云查询,江苏万邦生化还有2款糖尿病治疗药物已申报上市,目前正在审评审批中,分别为3.3类新药精蛋白锌赖脯胰岛素混合注射液(25R)和4类仿制化药磷酸西格列汀片。
江苏万邦生化报产在审的药物

截图来源:药融云中国药品审批数据库
参考来源:
[1] CDE官网
[2] 药融云数据库
要解锁更多药企创新药信息吗?查询药融云数据库(vip.pharnexcloud.com/?zmt-mhwz)掌握药企创新药产品布局、基本信息、研发阶段、最新进展、申报获批情况、临床试验信息、市场规模与前景,可否投入研发!注册立享15天免费试用和虎年首份医药数据大礼包!

—END—







浙公网安备33011002015279
本网站未发布麻醉药品、精神药品、医疗用毒性药品、放射性药品、戒毒药品和医疗机构制剂的产品信息
收藏
登录后参与评论
暂无评论