
4月28日,据CDE官网显示,石家庄四药递交的4类仿制化药马来酸氟伏沙明片(受理号:CYHS2401286)的上市申请获受理。今日,石家庄龙泽制药提交该药品的上市申请也获得受理。据药融云数据统计,该品种在2022年全国院内销售额超4亿元。(相关阅读:6亿静脉麻醉药:丙泊酚,石四药重磅获批!)

截图来源:CDE官网
马来酸氟伏沙明片由雅培制药研发,作为一种选择性5-HT再摄取抑制剂,适用于抑郁症及相关症状的治疗以及强迫症症状的治疗,是国家医保目录乙类品种。1994年在美国获批,2000年进入中国。据药融云数据统计,马来酸氟伏沙明片在2022年全国院内销售额达4.39亿元,同比增长达25.6%。2023年(截止Q3)其销售额已突破4亿元,接近2022年全年销售额,市场表现极为强劲。

截图来源:药融云全国医院销售数据库
此前在国内市场,马来酸氟伏沙明片仅有原研厂家雅培和首仿企业丽珠集团获批上市。2024年4月17日,华信制药的马来酸氟伏沙明片获批上市,为国产第2家。石家庄四药若能顺利获批,有望斩获国产第3家。

截图来源:药融云中国药品批文数据库
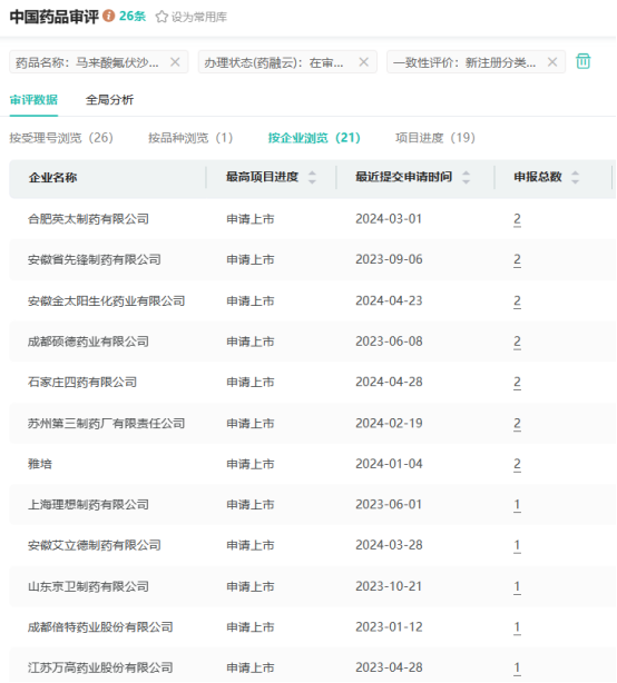
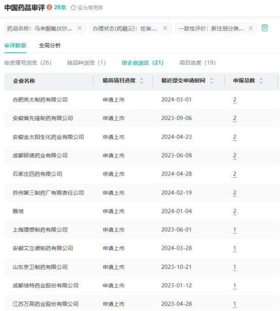
除石家庄四药,马来酸氟伏沙明片还有成都倍特药业、江苏万高药业、石家庄龙泽制药等20家药企提交了仿制申请,均在审评审批中。

截图来源:药融云中国药品审评数据库
2024年至今,石家庄四药提交了氯化钾氯化钠注射液、脂肪乳(10%)/氨基酸(15)/葡萄糖(20%)注射液、达格列净片、乌拉地尔缓释胶囊等53个品种的仿制申请,均在审评审批中。

截图来源:药融云中国药品审评数据库
此外,在过评方面,今年(截止4月29日)石家庄四药已有盐酸利多卡因注射液、硫酸镁注射液、丙泊酚中/长链脂肪乳注射液、马来酸氯苯那敏注射液等14个品种过评,其中仅利奈唑胺干混悬剂1个品种迎来首家过评。
<END>
要解锁更多企业药品研发信息吗?查询药融云数据库(vip.pharnexcloud.com/?zmt-mhwz)掌握药品各国上市情况、药品批文信息、销售情况与各维度分析、市场竞争格局、一致性评价情况、集采中标情况、药企申报审批信息、最新动态与前景等,以及帮助企业抉择可否投入时提供数据参考!注册立享15天免费试用!








川公网安备51019002008863号
本网站未发布麻醉药品、精神药品、医疗用毒性药品、放射性药品、戒毒药品和医疗机构制剂的产品信息
收藏
登录后参与评论
暂无评论