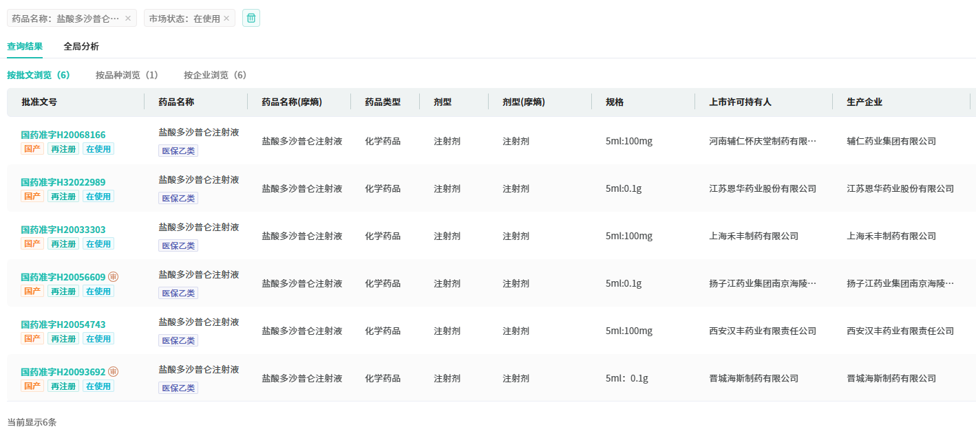
然而,长期以来,这一赛道陷入“无人过评”的尴尬局面。此前虽有扬子江药业、江苏恩华药业等6家企业获批生产,但均未完成一致性评价。在带量采购优先选用原研或已过评品种的规则下,这些产品长期处于劣势。

查数据,找摩熵!图源:摩熵医药-中国药品批文数据库
石家庄四药的入局,一举打破僵局。
石家庄四药拿下首家过评,不仅是技术实力的体现,更是市场准入的战略高地。这意味着石四药将在接下来的集采入围、临床替代及医保谈判中占据主动权,真正实现从“跟跑”到“领跑”。
值得注意的是,嗅觉敏锐的竞争者正在逼近。摩熵医药数据显示,扬州中宝药业、江苏九旭药业等6家企业的同品种仿制申请已进入审评阶段。未来一两年,这片原本沉寂的市场或将迅速演变为红海战场,“有无之争”很快将转向“成本与渠道之争”。

查数据,找摩熵!图源:摩熵医药-中国药品审评数据库
二、45个品种中选国采接续,原料+制剂一体化显威力
如果说单品突围是“狙击”,那么国采接续就是“集团冲锋”。
2月27日公布的国采接续采购覆盖1-8批集采的316个常用药,横跨抗感染、抗肿瘤、心脑血管、神经系统等26个治疗领域。全国5.1万家医疗机构参与,来自1091家企业的4623个产品同台竞技。这是国采化学药首次全国范围统一接续,由江苏、河南、广东三省医保局联合牵头,规则统一、规格极高。

截图来源:广东省医疗保障官网
在这场千军万马过独木桥的竞争中,石家庄四药以45个品种的庞大阵容霸气登榜。这背后,是其深厚的“原料药+制剂”一体化布局在支撑。在成本控制和供应链稳定性成为集采核心竞争力的当下,拥有原料自供能力的石四药,无疑在价格厮杀中握有更多底牌。
三、170个品种获批,今年已拿下4款
作为生物医药产业的骨干力量,石家庄四药始终秉承“做好药,为人民”的初心。近年来,公司将创新确立为核心动能,持续加码特色仿制药、短缺用药、罕见病用药以及创新药、复杂制剂和特色原料药等领域的研发投入。
2026年以来,石家庄四药已先后获批 培哚普利氨氯地平片(Ⅲ)、复合磷酸氢钾注射液(2ml)、盐酸普罗帕酮注射液(20ml∶70mg)、盐酸多沙普仑注射液(5ml:100mg)4个制剂新产品。其中,盐酸多沙普仑注射液 为首家过评,盐酸普罗帕酮注射液 则为国内第3家获批。

查数据,找摩熵! 图源:摩熵医药-过评药品汇总数据库
截至目前,石家庄四药已有170个品种获批并过评。创新成果的不断涌现与落地转化,正持续为这家老牌药企的高质量发展注入强劲动能,推动其在新时代的医药产业浪潮中乘风破浪,行稳致远。
收藏
登录后参与评论
暂无评论