
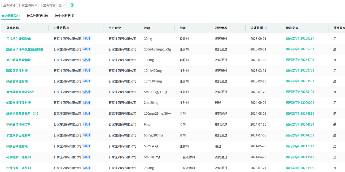
近日,石家庄四药大丰收!公司公告显示,其提交的盐酸丙卡特罗吸入溶液、氨茶碱片、注射用丁二磺酸腺苷蛋氨酸3款品种于11月24日同日获批。今日,其4类仿制药吸入用布地奈德混悬液上市申请获国家药品监督管理局药品审评中心(CDE)受理。据摩熵医药数据显示,今年以来,石家庄四药已有50款品种获批并过评。

截图来源:CDE官网
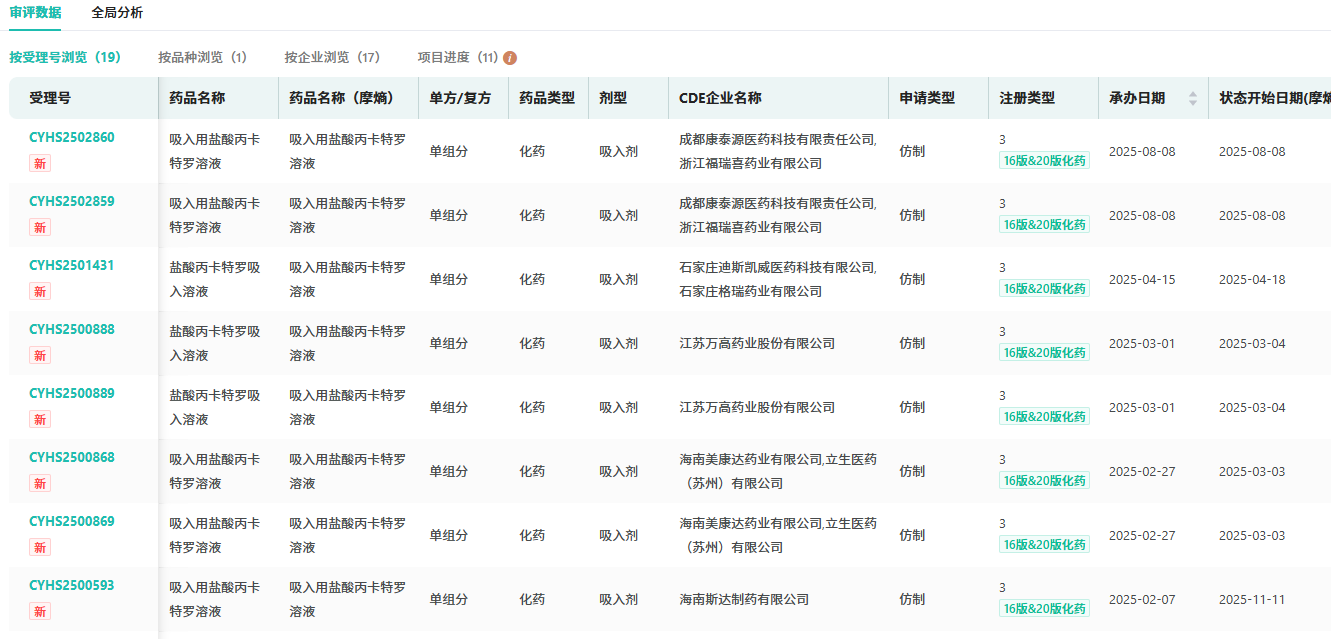
拿下大涨470%吸入剂,呼吸系统药迎第3家过评
盐酸丙卡特罗吸入溶液主要用于缓解支气管哮喘、慢性支气管炎及肺气肿以气流受限为基础的各种症状。据摩熵医药数据库显示,该品种在2025年上半年全终端医院市场的销售总额超3亿元,同比增长达470.06%。











川公网安备51019002008863号
本网站未发布麻醉药品、精神药品、医疗用毒性药品、放射性药品、戒毒药品和医疗机构制剂的产品信息
收藏
登录后参与评论
暂无评论