
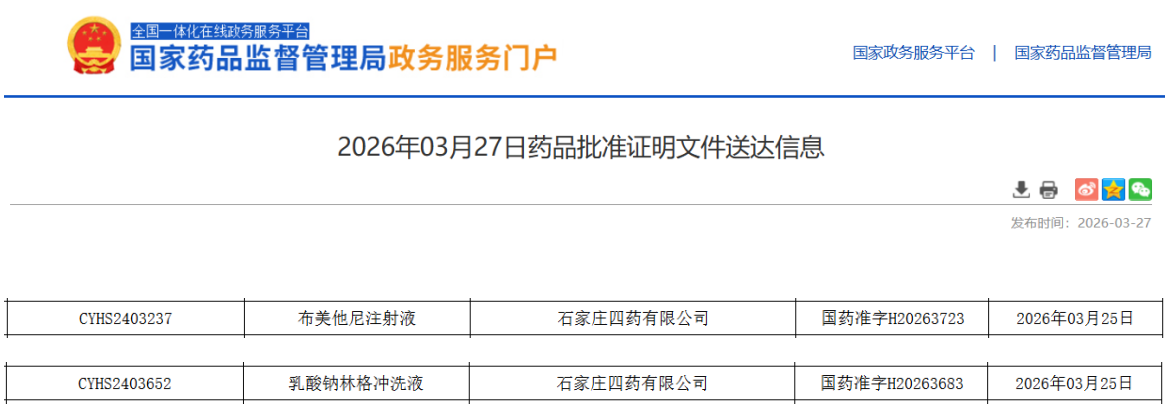
3月27日,国家药监局(NMPA)官网显示,石家庄四药提交的乳酸钠林格冲洗液(3000ml)和布美他尼注射液(2ml:1mg)两款3类仿制药同日获批上市,并视同通过一致性评价。其中,乳酸钠林格冲洗液(3000ml)为国内首仿+首家过评,标志着企业在冲洗液领域取得重要突破。

截图来源:NMPA
一、攻克大规格冲洗液,拿下乳酸钠林格冲洗液国内首仿
乳酸钠林格冲洗液适用于允许使用无菌电解质溶液的一般冲洗需求。此次石家庄四药获批的3000ml大规格产品,填补了市场空白,满足了临床对于大容量冲洗液的需求。该产品采用3类仿制药路径申报,获批即视同通过一致性评价,体现了其与原研药在质量和疗效上的一致性。
目前,除石家庄四药外,尚有上海长征富民金山制药、海南爱科制药、安徽丰原药业等4家企业提交了该品种的3类仿制申请,均处于审评审批阶段。石家庄四药凭借先发优势,在此赛道已占据领先身位。

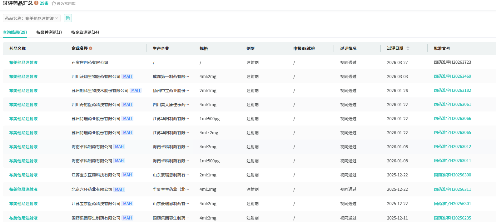
查数据,找摩熵!图源:摩熵医药-中国药品审评数据库
此次乳酸钠林格冲洗液的成功获批,将与集团已有的生理氯化钠溶液、平衡盐溶液、甘氨酸冲洗液、山梨醇甘露醇冲洗剂等产品形成链式发展格局,进一步丰富和拓展了其在冲洗剂领域多元化、系列化的产品体系,显著增强了市场竞争力。
二、拓展利尿剂产品线,布美他尼注射液获批入局
同日获批的布美他尼注射液是一款高效能利尿剂,临床上广泛用于治疗水肿性疾病(如充血性心力衰竭、肝硬化、肾脏疾病等)、高血压、预防急性肾功能衰竭、高钾血症及高钙血症等。其上市为临床提供了又一重要的治疗选择。
据摩熵医药数据库显示,该品种在2025年全终端医院市场的销售额超过1亿元,市场容量可观。从竞争格局看,2025年桂林南药以67.23%的市场份额占据院内市场榜首。石家庄四药的入局,将为该市场带来新的竞争者,有望重塑市场格局。









川公网安备51019002008863号
本网站未发布麻醉药品、精神药品、医疗用毒性药品、放射性药品、戒毒药品和医疗机构制剂的产品信息
收藏
登录后参与评论
暂无评论