
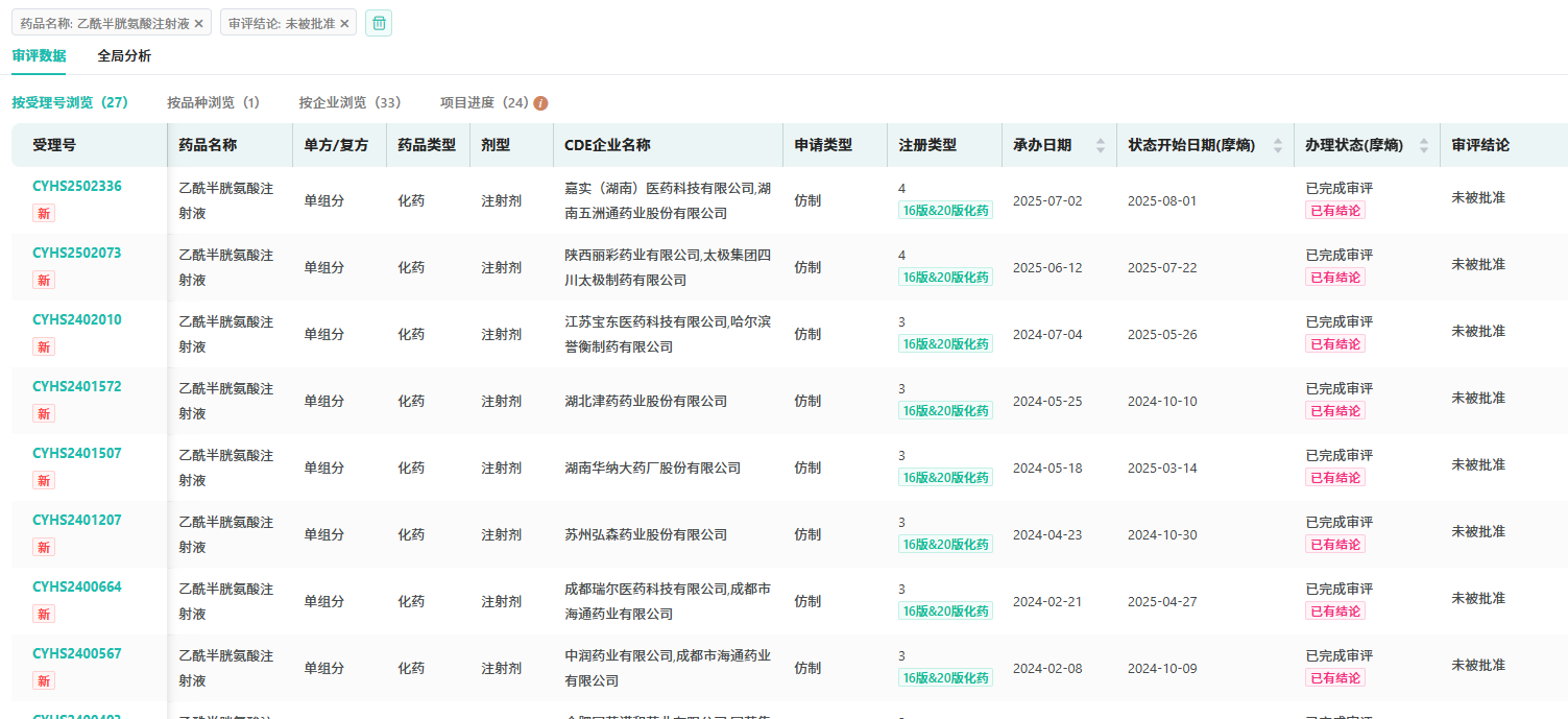
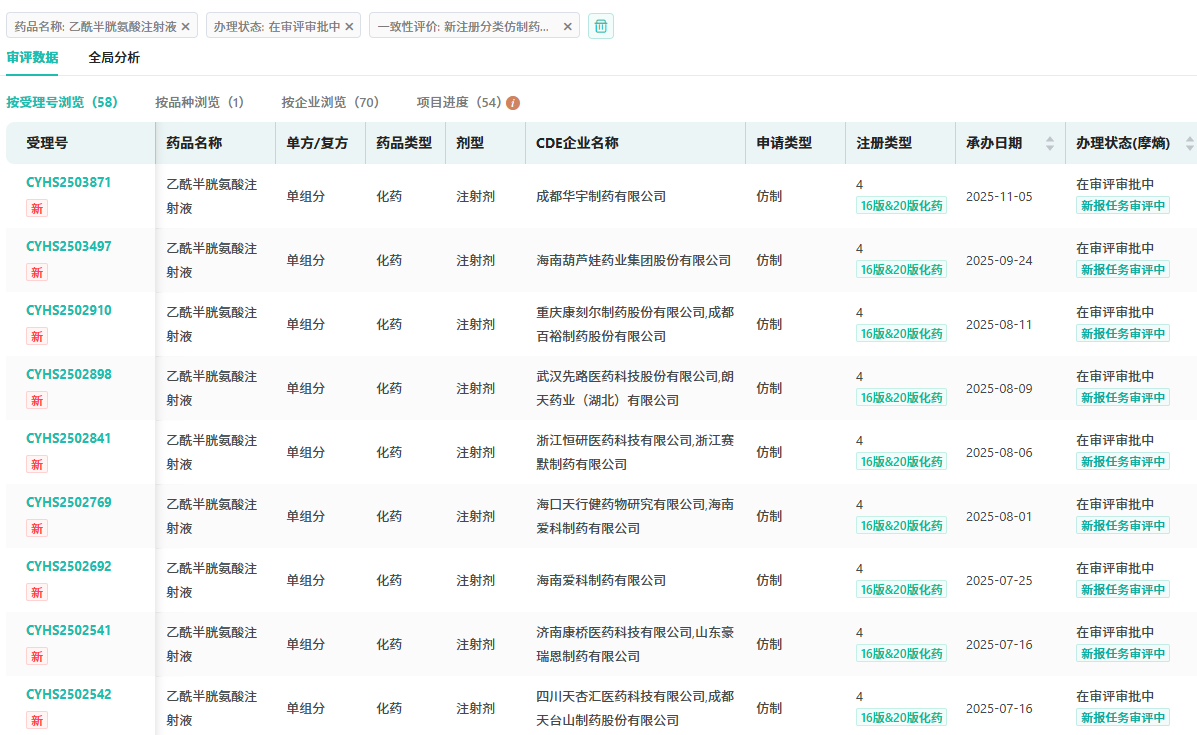
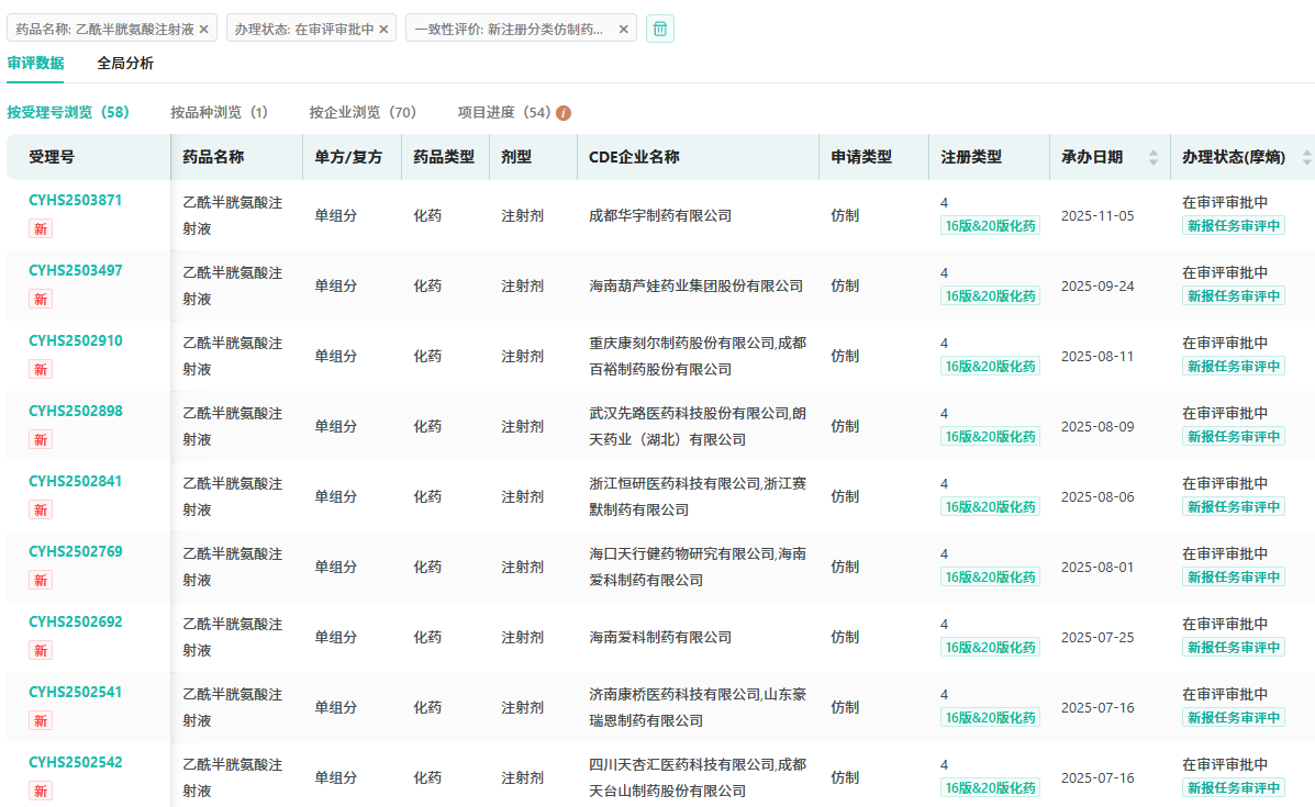
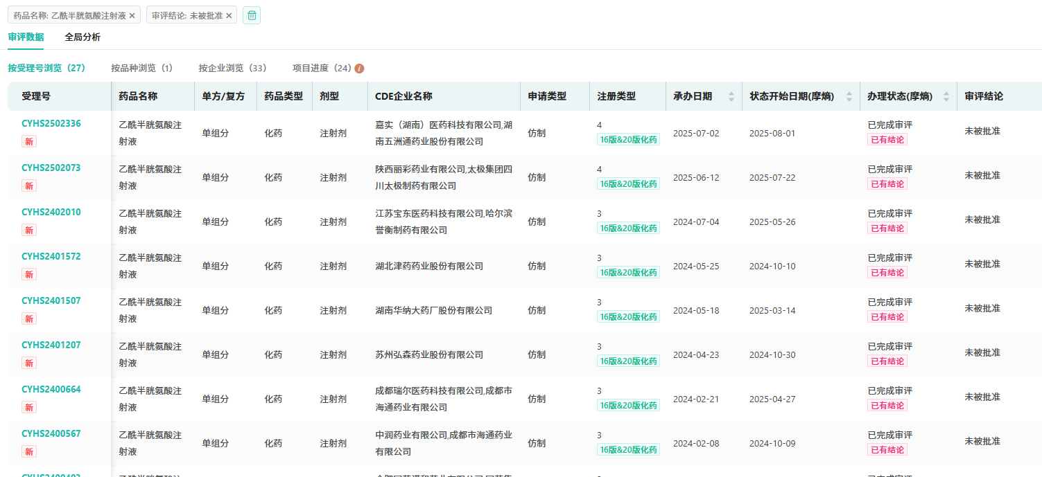
12月11日,石家庄四药集团发布公告,其申报的化学药第3类乙酰半胱氨酸注射液(25ml:5g)获国家药监局生产注册批件,并视同通过一致性评价,是国内第3家获批该品种的企业。

截图来源:企业公告
乙酰半胱氨酸注射液原研为意大利的赞邦制药(Zambon Group),赞邦于2018年申请临床,并在中国完成I期和III期临床。该品种适用于急性对乙酰氨基酚中毒解毒,用于预防或减轻其过量引起的肝脏损伤。据摩熵医药数据库显示,在2024年全终端医院市场乙酰半胱氨酸注射液的销售额近6亿元,2025年上半年销售额超1亿元。











川公网安备51019002008863号
本网站未发布麻醉药品、精神药品、医疗用毒性药品、放射性药品、戒毒药品和医疗机构制剂的产品信息
收藏
登录后参与评论
暂无评论