
2024年4月23日,据NMPA官网公示,石家庄四药的4类仿制药利奈唑胺干混悬剂获批上市并视同过评。此前,国内市场上利奈唑胺干混悬剂仅有辉瑞的原研药获批进口,此次石四药获批,成功拿下国内首仿。(相关阅读:石家庄四药:头孢呋辛酯干混悬剂和盐酸利多卡因注射液同日获批上市!)

截图来源:NMPA官网
利奈唑胺是辉瑞子公司Pharmacia研发的恶唑烷酮类抗菌药(商品名为 Zyvox),主要用于治疗革兰氏阳性菌引起的感染。利奈唑胺是第一个恶唑烷酮类抗生素。于2000年经美国 FDA 批准上市。2014 年第二代恶唑烷酮类抗生素磷酸特地唑胺问世(商品名 Sivextro)。相较于第一代恶唑烷酮类抗生素利奈唑胺,磷酸特地唑胺对耐受甲氧西林的革兰阳性菌的抑制作用要高 4~16 倍,安全性在一定程度上也有所提高。
销售峰值超17亿元,石四药斩获新剂型首仿
此前国内生产的利奈唑胺仅利奈唑胺片和利奈唑胺葡萄糖注射液2种剂型。据药融云数据统计,在全国院内销售市场上,这2个品种峰值销售总额超17亿元,其抗菌谱广泛,市场应用前景乐观。

截图来源:药融云全国医院销售数据库
在院内市场,利奈唑胺葡萄糖注射液凭借其独特的疗效和广泛的应用领域,占据了高达81.66%的市场份额,稳坐市场领头羊的地位。与此同时,利奈唑胺片也凭借其便捷的使用方式和良好的治疗效果,在市场中分得了一杯羹,占据了18.34%的市场份额。两者共同构成了利奈唑胺在院内市场的完整版图,展现了其强大的市场影响力和竞争力。

截图来源:药融云全国医院销售数据库-全局分析
目前,利奈唑胺在国内获批生产的有三种剂型,包括注射剂、片剂和干混悬剂。其中,对于利奈唑胺干混悬剂,石家庄四药集团是较早开发和率先获批的药企。此前国内市场上利奈唑胺干混悬剂仅有辉瑞的原研药获批进口,此次石四药获批,成功拿下国内首仿。

截图来源:药融云中国药品批文数据库
14款品种重磅获批,1类新药直击2大千亿市场
近年来,石四药以市场需求为导向,坚持仿创结合的模式,持续加大研发强度,不断完善产品梯度开发体系。据财报显示,石四药集团2023年上半年营收29.62亿元,同比增长4.7%;实现净利约6.39亿港元,同比增12%。
石四药在仿制药领域的表现卓越,2024年至今,已成功过评包括盐酸利多卡因注射液、硫酸镁注射液、丙泊酚中/长链脂肪乳注射液、头孢呋辛酯干混悬剂等在内的14个品种,其中有2款干混悬剂,利奈唑胺干混悬剂是今年首家过评品种,也是国内首个获批的品种。

截图来源:药融云过评药品汇总数据库
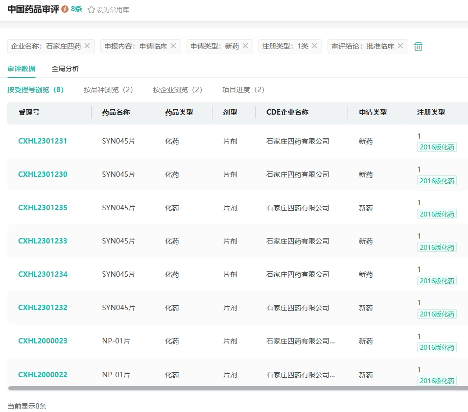
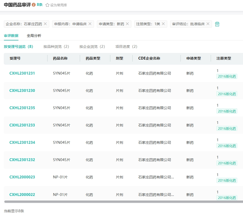
在创新药方面,石四药有2款1类新药申请并获批临床。NP-01片拟用于治疗胃癌、肺癌、肝癌等晚期实体瘤,全球尚无同靶点药物获批上市。值得一提的是,NP-01是石四药集团首个获批临床的创新药。
SYN045是一种选择性长效PGI2受体激动剂,拟用于肺动脉高压。据了解,临床前研究表明,SYN045具有良好的靶点选择性、化合物活性、安全性。SYN045研发取得积极进展,为临床罕见疾病患者治疗带来了希望和福音,同时进一步彰显了该集团创新药物研发步入发展快车道。

截图来源:药融云中国药品审评数据库
据药融云数据统计,在全国院内市场抗肿瘤药和免疫机能调节药物、心脑血管与血液系统药物(含中药)的销售峰值均超1300亿元。
<END>
要解锁更多企业药品研发信息吗?查询药融云数据库(vip.pharnexcloud.com/?zmt-mhwz)掌握药品各国上市情况、药品批文信息、销售情况与各维度分析、市场竞争格局、一致性评价情况、集采中标情况、药企申报审批信息、最新动态与前景等,以及帮助企业抉择可否投入时提供数据参考!注册立享15天免费试用!








川公网安备51019002008863号
本网站未发布麻醉药品、精神药品、医疗用毒性药品、放射性药品、戒毒药品和医疗机构制剂的产品信息
收藏
登录后参与评论
暂无评论