
2024年5月11日,据CDE官网公示,石家庄四药递交的4类仿制化药盐酸贝尼地平片上市申请获受理。据药融云数据库显示,目前,盐酸贝尼地平片国内除原研公司外,仅1家药企过评。

截图来源:CDE官网
盐酸贝尼地平原研药于1991年由协和发酵麒麟株式会社首次在日本上市销售,用于原发性高血压,心绞痛。它是一种长效第三代二氢吡啶类钙拮抗剂。2004年协和发酵麒麟制药的盐酸贝尼地平片在国内进口上市。目前是国家医保乙类品种。据药融云数据统计,全国心血管系统药物市场规模庞大,销售额峰值超过800亿元。其中,盐酸贝尼地平片在2022年的院内市场销售额超过4亿元,山东华素制药占比超过55%,目前正在不断抢占原研药的市场份额。

截图来源:药融云全国医院销售数据库
目前,盐酸贝尼地平片加原研国内有3家药企获批,其中仅山东华素制药1家药企过评。

截图来源:药融云过评药品汇总
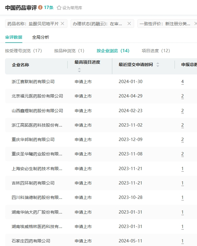
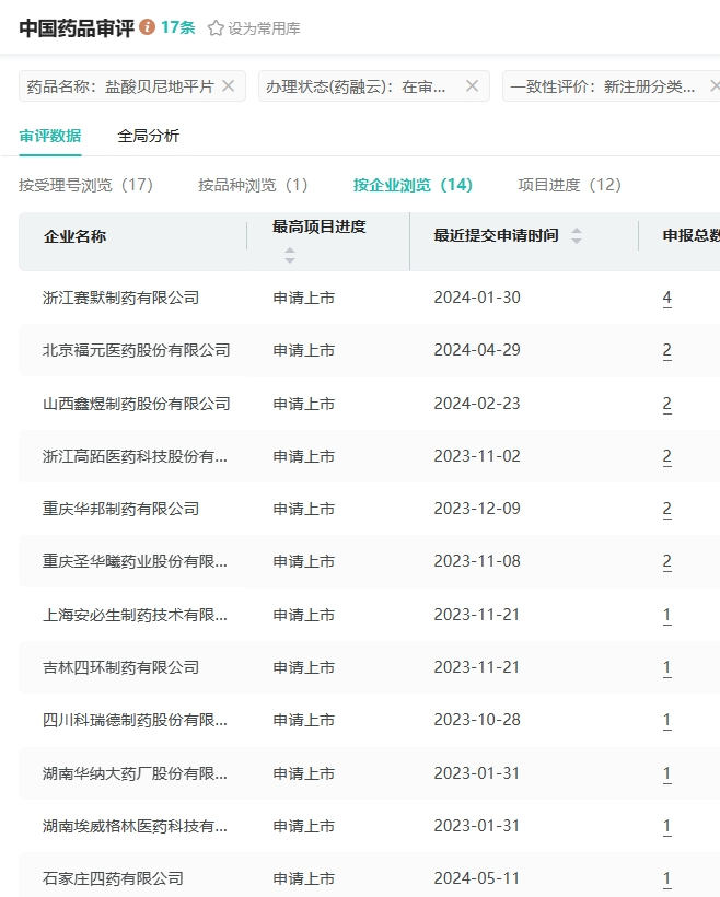
除此次提交的石家庄四药,目前盐酸贝尼地平片还北京福元医药、重庆华邦制药、四川科瑞德制药、辰欣药业等13家药企提交了仿制申请,均在审评审批中。

截图来源:药融云中国药品审评数据库
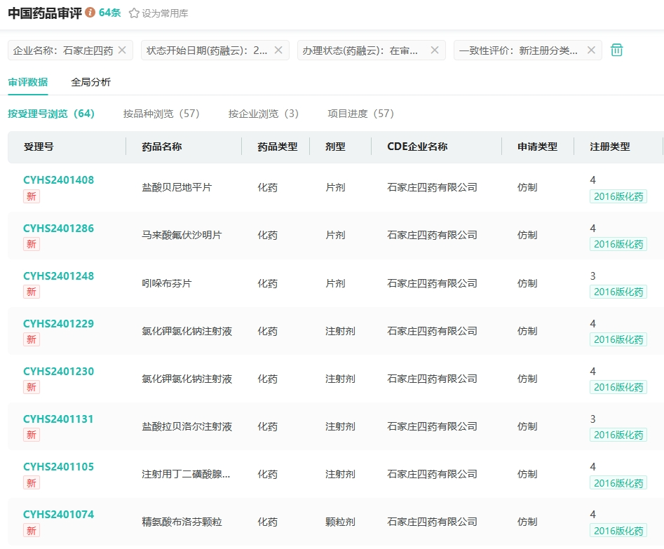
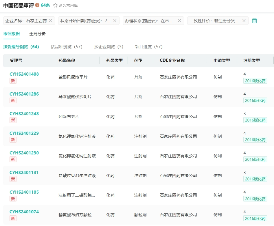
2024年至今,石家庄四药提交了氯化钾氯化钠注射液、脂肪乳(10%)/氨基酸(15)/葡萄糖(20%)注射液、达格列净片、乌拉地尔缓释胶囊等57个品种的仿制申请,均在审评审批中。

截图来源:药融云中国药品审评数据库
此外,在过评方面,今年(截止5月11日)石家庄四药已有盐酸利多卡因注射液、硫酸镁注射液、丙泊酚中/长链脂肪乳注射液、马来酸氯苯那敏注射液等14个品种过评,其中仅利奈唑胺干混悬剂1个品种迎来首家过评。
<END>
要解锁更多企业药品研发信息吗?查询药融云数据库(vip.pharnexcloud.com/?zmt-mhwz)掌握药品各国上市情况、药品批文信息、销售情况与各维度分析、市场竞争格局、一致性评价情况、集采中标情况、药企申报审批信息、最新动态与前景等,以及帮助企业抉择可否投入时提供数据参考!注册立享15天免费试用!








川公网安备51019002008863号
本网站未发布麻醉药品、精神药品、医疗用毒性药品、放射性药品、戒毒药品和医疗机构制剂的产品信息
收藏
登录后参与评论
暂无评论