
7月24日,据NMPA官网最新公示,倍特药业旗下公司--成都倍特得诺药业提交的3类仿制药倍他米松磷酸钠注射液获批并视同过评。据药融云数据库显示,今年以来,倍特药业(含子公司)有26款品种过评。

截图来源:NMPA官网
倍他米松磷酸钠注射液临床可用于治疗过敏性与自身免疫性炎症性疾病,如红斑狼疮、风湿性关节炎、哮喘、急性白血病等,也用于某些感染的综合治疗,国内外临床广泛应用。据药融云数据库显示,倍他米松磷酸钠注射液在2023年全国院内市场销售额超1亿元,同比增长近45%。

截图来源:药融云全国医院销售数据库
目前,倍他米松磷酸钠注射液在国内有8家药企拥有生产批文,其中重庆华邦制药、成都倍特得诺药业、遂成药业3家药企过评。

截图来源:药融云过评药品汇总数据库
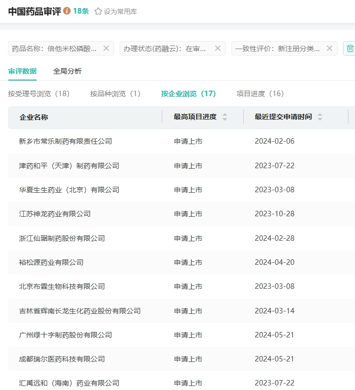
在仿制药布局方面,倍他米松磷酸钠注射液有辰欣药业、华夏生生药业、津药和平(天津)制药、成都瑞尔医药等17家药企提交了上市申请,均在审评审批中。

截图来源:药融云中国药品审评数据库
近年来,倍特药业产品线进入密集收获期,年度获批品种数量持续创新高。2024年至今,倍特药业(含子公司)已有倍他米松磷酸钠注射液 、注射用哌拉西林钠他唑巴坦钠、注射用头孢唑肟钠等26个品种过评,3个品种为首家过评,其中呋塞米口服溶液是2024年至今,倍特斩获的第一个首仿药。
参考来源:
[1] NMPA官网
[2] 药融云数据库
<END>
想要解锁更多药物研发信息吗?查询药融云数据库(vip.pharnexcloud.com/?zmt-mhwz)掌握药物基本信息、市场竞争格局、销售情况与各维度分析、药企研发进展、临床试验情况、申报审批情况、各国上市情况、最新市场动态、市场规模与前景等,以及帮助企业抉择可否投入时提供数据参考!注册立享15天免费试用!








川公网安备51019002008863号
本网站未发布麻醉药品、精神药品、医疗用毒性药品、放射性药品、戒毒药品和医疗机构制剂的产品信息
收藏
登录后参与评论
暂无评论