
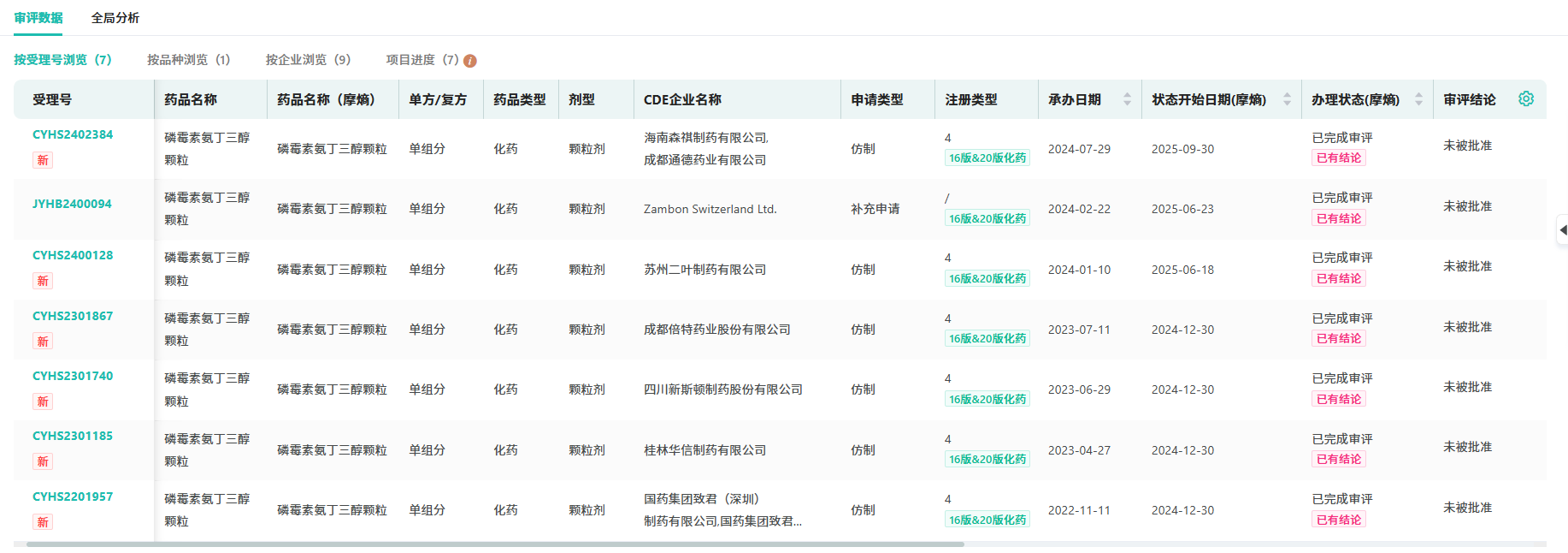
近日(10月15日),据CDE官网公示,成都倍特药业按化药注册分类4类申报的磷霉素氨丁三醇颗粒上市申请已获受理。截至目前,该品种在国内仅有原研药上市。

截图来源:NMPA
磷霉素氨丁三醇颗粒原研持证商为Zambon,2004年便进口中国。作为经典的广谱抗菌药物,它主要用于治疗敏感菌株引起的尿路感染,更是被国内外泌尿外科指南列为单纯性尿路感染的一线治疗药物,重要性不言而喻。目前,国内仅有原研药上市,其参比制剂也仅有颗粒一种,且在国内、美国、欧盟均有上市。
磷霉素氨丁三醇颗粒在国内的发展并非一帆风顺。早期销量惨淡,但在2018年纳入国家医保后,市场增速惊人,2024年销售额已突破五千多万,市场完全由原研药独占。










川公网安备51019002008863号
本网站未发布麻醉药品、精神药品、医疗用毒性药品、放射性药品、戒毒药品和医疗机构制剂的产品信息
收藏
登录后参与评论
暂无评论