
8月17日,据CDE官网显示,成都倍特药业提交的4类仿制药枸橼酸托瑞米芬片上市申请已获受理(受理号CYHS2402686)。据药融云数据库显示,该品种在2023年全国院内市场的销售额达3.28亿元。

截图来源:CDE官网
枸橼酸托瑞米芬片由日本KYOWA KIRIN公司研发,商品名为法乐通® (FARESTON®),是一种非类固醇三苯乙烯衍生物,可与雌激素竞争性的与雌激素受体结合从而阻止癌细胞的增殖,适用于治疗绝经后妇女雌激素受体阳性或不详的转移性乳腺癌,属于国家医保乙类品种。1997年6月于美国上市,2018年7月国家药监局批准芬兰Orion Corporation公司药物FARESTON®进口注册上市。据药融云数据库显示,枸橼酸托瑞米芬片在2023年全国院内市场的销售额达3.28亿元,同比增长达2.94%。

截图来源:药融云全国医院销售数据库
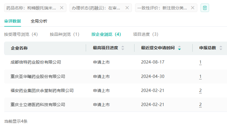
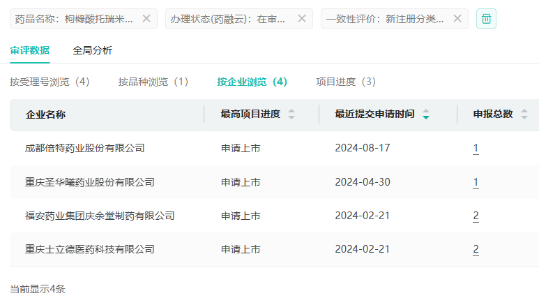
目前,枸橼酸托瑞米芬片有3家药企拥有生产批文,其中有福安药业集团宁波天衡制药、江苏奥赛康药业2家药企过评。在仿制药布局方面,枸橼酸托瑞米芬片有成都倍特药业、重庆圣华曦药业、福安药业集团庆余制药、重庆士立德医药4家药企提交了4类仿制药注册申请,均在审评审批中。

截图来源:药融云中国药品审评数据库
今年以来,成都倍特药业(含子公司)在仿制药布局方面提交了枸橼酸托瑞米芬片、吸入用盐酸氨溴索溶液 、乳果糖口服溶液、二甲硅油乳剂、布洛芬混悬液等超20款品种的仿制申请,均在审评审批中。

截图来源:药融云中国药品审评数据库
2024年至今,成都倍特药业(含子公司)有26个品种过评,其中注射用头孢唑肟钠、呋塞米口服溶液、钆贝葡胺注射液3个品种为首家过评。
参考来源:
[1] CDE官网
[2] 药融云数据库
<END>
想要解锁更多药物研发信息吗?查询药融云数据库(vip.pharnexcloud.com/?zmt-mhwz)掌握药物基本信息、市场竞争格局、销售情况与各维度分析、药企研发进展、临床试验情况、申报审批情况、各国上市情况、最新市场动态、市场规模与前景等,以及帮助企业抉择可否投入时提供数据参考!注册立享15天免费试用!








川公网安备51019002008863号
本网站未发布麻醉药品、精神药品、医疗用毒性药品、放射性药品、戒毒药品和医疗机构制剂的产品信息
收藏
登录后参与评论
暂无评论