
5月21日,据NMPA官网公示,成都倍特药业提交的2款仿制化药马来酸氟伏沙明片和依帕司他片同日获批上市并视同过评。据药融云数据统计,今年(截止5月21日)成都倍特药业已有11个品种过评。

截图来源:NMPA
4亿+畅销抗抑郁药,国产第3家来袭!
马来酸氟伏沙明片由雅培制药研发,作为一种选择性5-HT再摄取抑制剂,适用于抑郁症及相关症状的治疗以及强迫症症状的治疗,是国家医保目录乙类品种。1994年在美国获批,2000年进入中国。据药融云数据统计,马来酸氟伏沙明片在2022年全国院内销售额达4.39亿元,同比增长达25.6%。2023年(截止Q3)其销售额已突破4亿元,接近2022年全年销售额,市场表现极为强劲。

截图来源:药融云全国医院销售数据库
据药融云数据统计,马来酸氟伏沙明片有3家企业拥有生产批文,其中丽珠集团和桂林华信制药2家国产企业过评。本次成都倍特药业获批并过评,斩获国产第3家。

截图来源:药融云过评药品汇总数据库
目前,马来酸氟伏沙明片有石家庄四药、江苏万高药业、山东京卫制药、辰欣药业等22家(除倍特)药企提交了新注册仿制申请,均在审评审批中。
10亿糖尿病药,成都倍特药业拿下!
依帕司他片作为一种高效的可逆性醛糖还原酶非竞争性抑制剂,被广泛应用于糖尿病神经病变的治疗。临床数据显示,依帕司他显著抑制了糖尿病性外周神经病变患者红细胞中山梨醇的累积,相较于对照组,它明显改善了患者的自觉症状,并有效减轻了神经功能障碍。据药融云数据统计,依帕司他片在2022年全国院内销售额近10亿元,同比增长达20.57%,2023年(截止Q3)销售额超8亿元,市场增长强劲。

截图来源:药融云全国医院销售数据库
此前,依帕司他片有石家庄四药、扬子江药业、浙江恒研医药、山东达因海洋生物制药等8家药企获批。
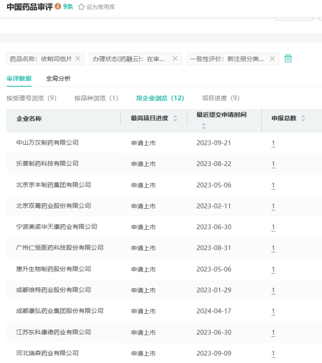
除倍特药业,依帕司他片目前有北京双鹭药业、乐普制药、中山万汉制药、惠升生物制药等11家药企提交了仿制申请,均在审评审批中。

截图来源:药融云中国药品审批数据库
据药融云数据统计,今年(截止5月21日)成都倍特药业(含子公司)已有11个品种过评,其中呋塞米口服溶液 、钆贝葡胺注射液2个品种迎来首家过评。
参考来源:
[1] NMPA官网
[2] 药融云数据库
<END>
想要解锁更多药物研发信息吗?查询药融云数据库(vip.pharnexcloud.com/?zmt-mhwz)掌握药物基本信息、市场竞争格局、销售情况与各维度分析、药企研发进展、临床试验情况、申报审批情况、各国上市情况、最新市场动态、市场规模与前景等,以及帮助企业抉择可否投入时提供数据参考!注册立享15天免费试用!








川公网安备51019002008863号
本网站未发布麻醉药品、精神药品、医疗用毒性药品、放射性药品、戒毒药品和医疗机构制剂的产品信息
收藏
登录后参与评论
暂无评论