
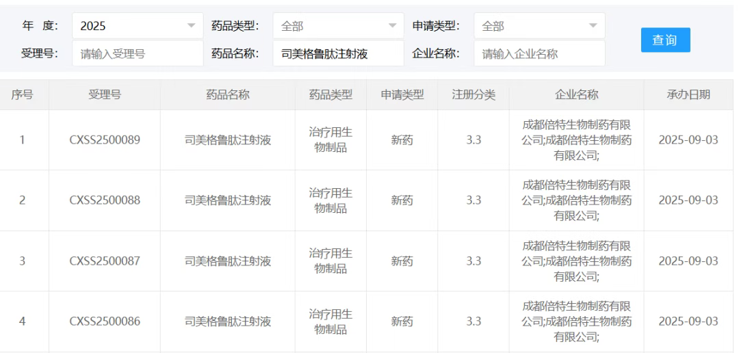
今日,成都倍特生物制药有限公司的司美格鲁肽注射液3.3类的上市申请被受理,成为国产第8家申报司美格鲁肽上市的企业。

8月5日,石药集团以化药注册分类2.2类申报的司美格鲁肽注射液上市申请已正式获得受理。
8月15日,四环医药对外宣布,其控股子公司惠升生物开发的司美格鲁肽注射液,已向NMPA递交上市申请,并成功获得受理。
9月3日,成都倍特提交了上市申请。
短短一个月,申报达3家,司美格鲁肽卷起来的速度令人咋舌。
据摩熵医药数据库显示,截至目前,司美格鲁肽注射液已有8家国产企业提交了上市申请,分别是九源基因、丽珠集团、华东医药、齐鲁制药、联邦制药、惠升生物、石药集团和成都倍特。

另外起码还有10款以上的司美格鲁肽类似药处于II/III期临床试验阶段。
保守估计:未来的中国医药市场,至少有20款以上的司美格鲁肽生物类似药和原研药一起同场厮杀。
目前申报上市的国产司美格鲁肽类似药,都是主打的降糖适应症,该适应症上市企业达到一定数量就会被纳入生物药集采范围。
大批量国产司美格鲁肽上市,将大大加剧目前以胰岛素为代表的降糖药物市场的竞争激烈程度。
但其实国产司美格鲁肽着眼一直是减重适应症。
8月28日,齐鲁提交了一项司美格鲁肽的临床申请,推测是减重相关适应症。
截至目前,国内司美格鲁肽注射液体重管理适应症暂无进口及国内产品上市。国内已有联邦制药、九源基因、健康元等企业获批开展司美格鲁肽注射液减重适应症临床试验。
目前国内司美格鲁肽已呈现严重饱和趋势,目前仍然在研的企业及产品,务必要想好自己的市场定位和竞争优势,否则产品上市的那一刻,就是价格无底线贴地的开始。
参考:药事纵横、医药投资部落








川公网安备51019002008863号
本网站未发布麻醉药品、精神药品、医疗用毒性药品、放射性药品、戒毒药品和医疗机构制剂的产品信息
收藏
登录后参与评论
暂无评论