
12月29日,福森药业发布港交所公告,其全资附属公司研发的复合磷酸氢钾注射液(膳维喜)获国家药监局批准上市,作为磷酸补充剂用于临床。这款年销超4亿元、同比增长27.3%的临床“硬通货”,在持续增长的市场中迎来了又一位竞争者。

截图来源:企业公告
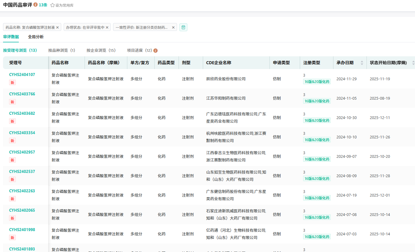
复合磷酸氢钾注射液是临床纠正成人及儿童低磷血症的关键药物,尤其在患者无法经口补充时,是维持生命体征稳定的静脉磷钾“精准补给方案”。与常规营养制剂不同,其定位于满足特定临床场景下的电解质精准补充,属于治疗性刚需。该品种被纳入国家医保乙类目录多年,临床认知与使用已高度成熟。
市场数据印证了其价值。据摩熵医药数据库显示,该品种近三年在全终端医院市场保持稳定增长,2024年销售额突破4亿元,同比增长27.3%,在血液代用品与灌注液品类中稳居市场前列。福森药业此次获批,正值该市场处于明确的扩容时期。










川公网安备51019002008863号
本网站未发布麻醉药品、精神药品、医疗用毒性药品、放射性药品、戒毒药品和医疗机构制剂的产品信息
收藏
登录后参与评论
暂无评论