
日前,据CDE官网公示,成都倍特药业的4类仿制化药吗啉硝唑氯化钠注射液上市申请获受理。据药融云数据统计,目前吗啉硝唑氯化钠注射液仅有江苏豪森药业以新药1.1类获批。国内暂无其他企业获批4类仿制药,此次,倍特药业若顺利获批,有望获得首仿。

截图来源:CDE官网
吗啉硝唑氯化钠注射液主要作用是可以抗菌消炎,这属于一种抗生素类的药物。适用于敏感细菌引起的成人(≥18 岁)感染,如妇科盆腔炎,包括子宫内膜炎、输卵管炎、输卵管卵巢脓肿、盆腔腹膜炎等。据药融云数据统计,吗啉硝唑氯化钠注射液2021年销售额超5亿元,同比增长达12.63%,2022年略有下滑,销售额超4亿元。

截图来源:药融云全国医院销售数据库
据药融云数据统计,目前,吗啉硝唑氯化钠注射液仅有江苏豪森药业以新药1.1类获批,暂无其他企业获批4类仿制药,此次,若顺利获批,有望获得首仿。此外,除成都倍特药业,还有山东齐都药业、仁合益康集团、四川汇宇制药等10家企业提交了吗啉硝唑氯化钠注射液的仿制申请,均在审评审批中。

截图来源:药融云中国药品审评数据库
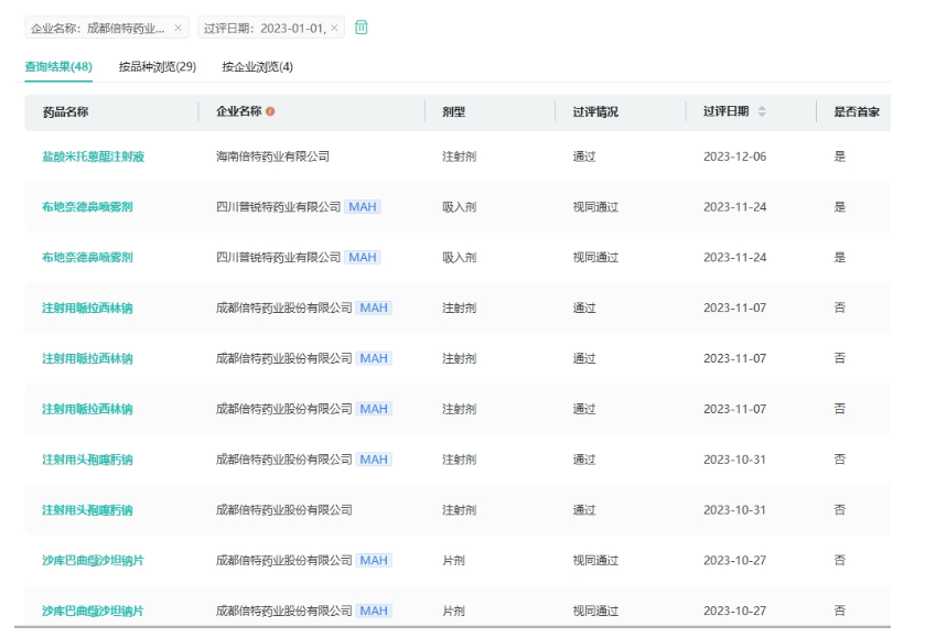
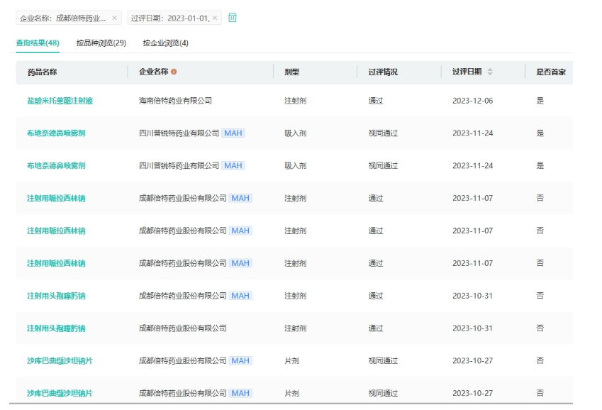
2023年至今,成都倍特药业还提交了罗沙司他胶囊、卡络磺钠注射液、注射用哌拉西林钠他唑巴坦钠、碘佛醇注射液等53个品种(70个品规)仿制药的申请,均在审评审批中。今年还有注射用哌拉西林钠、注射用头孢噻肟钠、呋塞米注射液、地高辛注射液等29个品种(48个品规)过评,其中布地奈德鼻喷雾剂、碘普罗胺注射液、盐酸米托蒽醌注射液、利匹韦林片、达可替尼片、盐酸西替利嗪口服溶液6个品种是首家过评。

截图来源:药融云过评药品汇总数据库
<END>
要解锁更多企业药品研发信息吗?查询药融云数据库(vip.pharnexcloud.com/?zmt-mhwz)掌握药品各国上市情况、药品批文信息、销售情况与各维度分析、市场竞争格局、一致性评价情况、集采中标情况、药企申报审批信息、最新动态与前景等,以及帮助企业抉择可否投入时提供数据参考!注册立享15天免费试用!








川公网安备51019002008863号
本网站未发布麻醉药品、精神药品、医疗用毒性药品、放射性药品、戒毒药品和医疗机构制剂的产品信息
收藏
登录后参与评论
暂无评论