
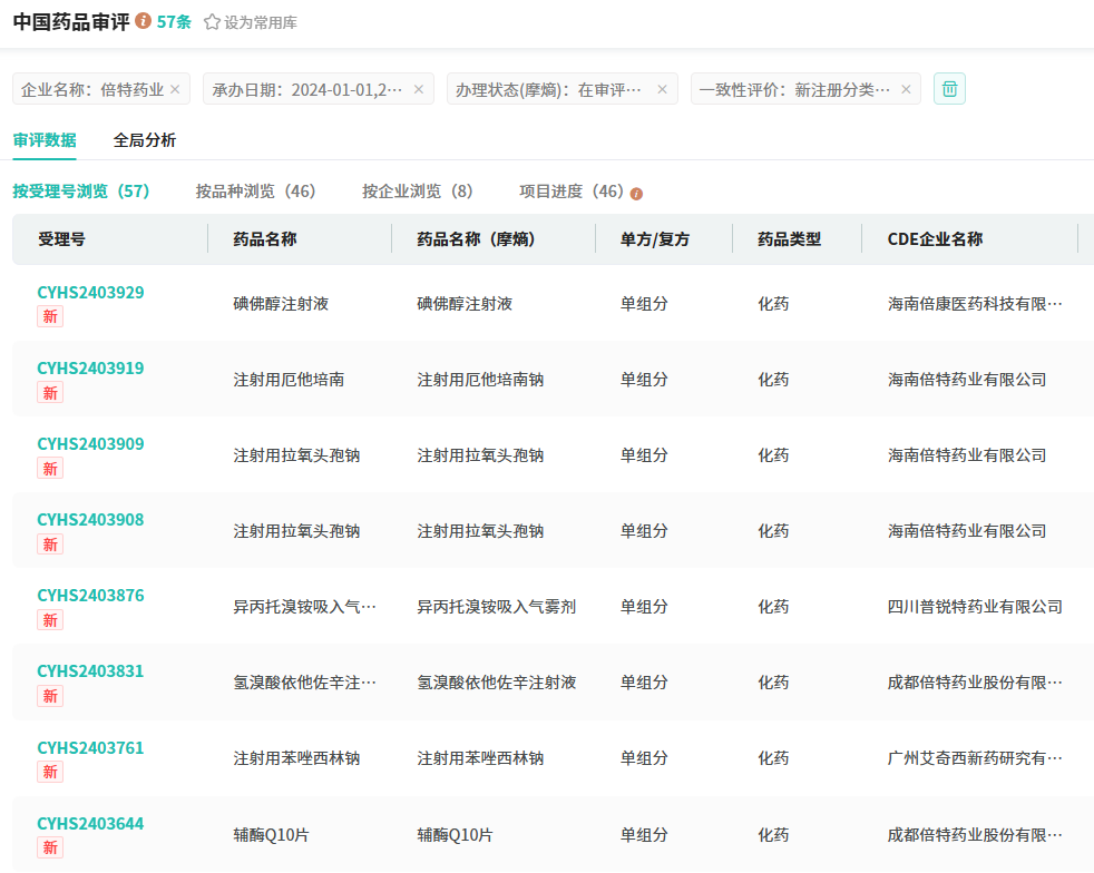
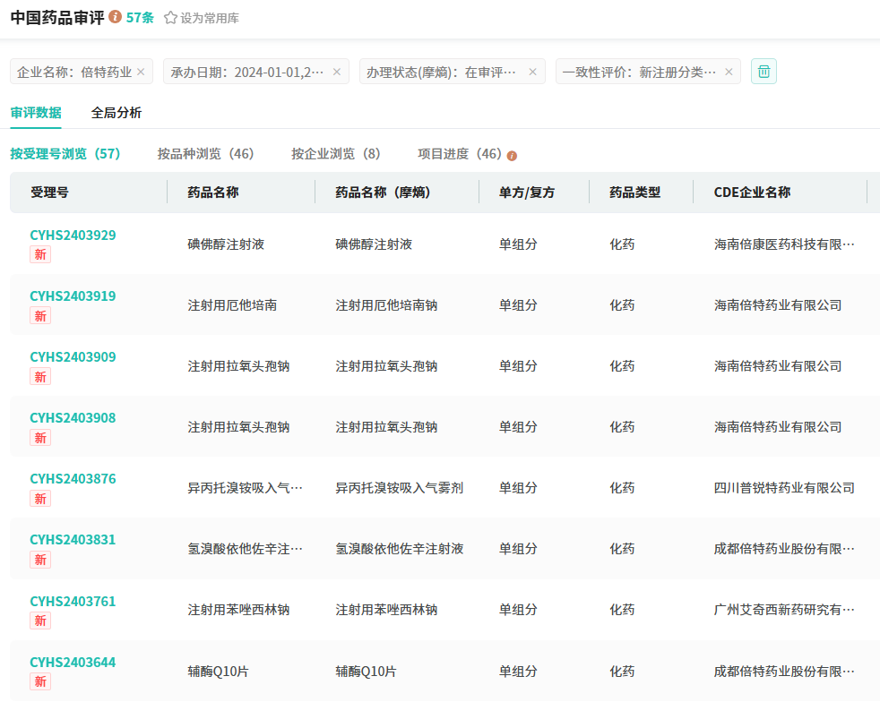
11月15日,据CDE官网最新公示,海南倍特药业提交的4类仿制药注射用厄他培南上市申请获受理。今年以来,倍特药业在仿制药布局方面,有超40款品种报产在审。
截图来源:CDE
倍特入局6亿新型抗菌药,仿制药布局超40款
厄他培南是默沙东原研的非典型β-内酰胺类抗生素,具有广谱、强效、细菌耐药发生率低等特点,适用于敏感菌株引起的中度至重度感染,包括继发性腹腔感染、复杂性皮肤及附属器感染、社区获得性肺炎、复杂性尿道感染、急性盆腔感染、菌血症等。据摩熵医药数据库显示,注射用厄他培南在2023年全国院内市场的销售额逼近6亿元。











川公网安备51019002008863号
本网站未发布麻醉药品、精神药品、医疗用毒性药品、放射性药品、戒毒药品和医疗机构制剂的产品信息
收藏
登录后参与评论
暂无评论