
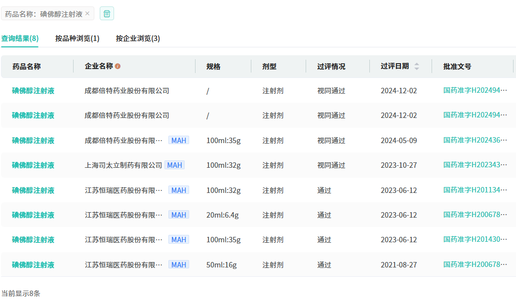
12月2日,据NMPA官网公示,倍特药业有4款注射剂同日获批生产并视同过评,包含碘佛醇注射液、尼莫地平注射液、卡络磺钠注射液和子公司海南倍特药业的注射用盐酸罗沙替丁醋酸酯。其中碘佛醇注射液是造影剂TOP1产品,成为公司第9款造影剂,该品种在2023年全国院内市场的销售额超29亿元。

截图来源:NMPA
29亿造影剂,国内仅3家药企迎来过评
碘佛醇注射液是临床广泛应用的造影剂之一,属于非离子型、低渗、水溶性且X线不透射的造影剂,主要通过血管内给药。其作用原理在于,造影剂注入血管后,能使流经的血管区域呈现不透光性,从而在X光照射下清晰显影。该产品于1988年率先获得美国FDA批准上市,1999年成功引入中国市场,2000年被纳入国家医保乙类目录,2009年更进一步升级至医保甲类目录。据摩熵医药数据库显示,碘佛醇注射液在2023年全国院内市场的销售额超29亿元,同比增长达10.69%,同时碘佛醇注射液是2023年造影剂院内TOP1品种。












川公网安备51019002008863号
本网站未发布麻醉药品、精神药品、医疗用毒性药品、放射性药品、戒毒药品和医疗机构制剂的产品信息
收藏
登录后参与评论
暂无评论