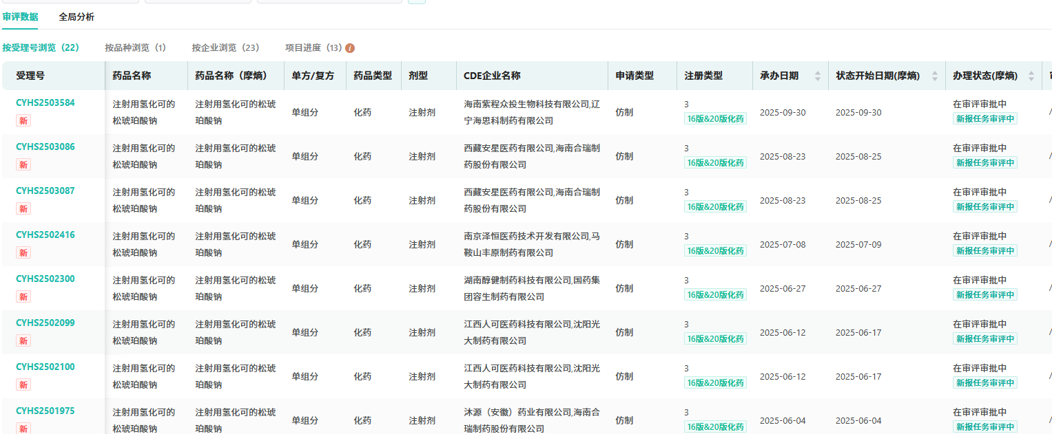
在仿制药布局方面,市场竞争异常激烈。除倍特药业外,在仿制药布局领域,已有超20家药企针对注射用氢化可的松琥珀酸钠提交了3类注册仿制申请,目前这些申请均处于审评审批阶段。而聚焦国内市场,烟台东诚北方制药生产的该药品表现亮眼,成功占据全终端医院47.65%的市场份额,领跑国内药企。

截图来源:摩熵医药中国药品审评数据库
今年以来,倍特药业(含子公司)成果丰硕,已有38款品种获批并过评,其中 维生素K1注射液、复方氨基酸注射液(17AA - Ⅲ) 2款为首家过评品种,彰显出其在医药研发和生产领域的强劲实力。

截图来源:摩熵医药过评药品汇总数据库
此次注射用氢化可的松琥珀酸钠上市申请获受理,是倍特药业在短缺“保命药”市场的重要布局。未来,随着该品种的上市,倍特药业有望在市场中占据一席之地,为患者提供更多优质的选择,同时也将进一步推动国内医药市场的竞争与发展。
参考来源:
[1] CDE官网
[2] 摩熵医药(原药融云)数据库
扩展阅读:
1. 倍特药业丰收!拿下30亿“销冠”品种,第4款热销造影剂迎首家过评...
2. 倍特药业爆发!斩获4大重磅品种,再新入局一款7亿+抗抑郁药
3. 倍特药业:碘佛醇注射液等四款注射剂同日获批且视同过评,造影剂及集采药品布局加速
想要解锁更多药物研发信息吗?查询摩熵医药(原药融云)数据库(vip.pharnexcloud.com/?zmt-mhwz)掌握药物基本信息、市场竞争格局、销售情况与各维度分析、药企研发进展、临床试验情况、申报审批情况、各国上市情况、最新市场动态、市场规模与前景等,以及帮助企业抉择可否投入时提供数据参考!注册立享15天免费试用!

收藏
登录后参与评论
暂无评论