
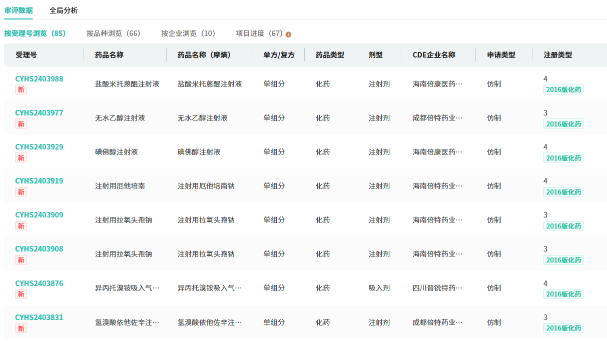
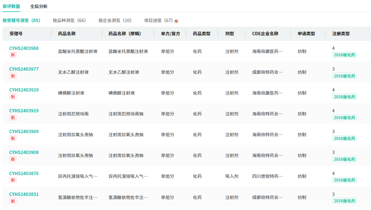
上一周(12.2-12.8),倍特药业迎来大丰收!12月2日,倍特药业(含子公司)斩获了碘佛醇注射液、尼莫地平注射液、卡络磺钠注射液以及注射用盐酸罗沙替丁醋酸酯这四大注射剂品种。次日,倍特药业其子公司海南倍特药业提交的4类仿制药注射用丁二磺酸腺苷蛋氨酸获批生产并视同过评。

截图来源:NMPA官网
注射用丁二磺酸腺苷蛋氨酸是人体组织和体液中普遍存在的一种生理活性分子,主要用于肝硬化前后肝内胆汁淤积和妊娠期肝内胆汁淤积的治疗,同时间丁二磺酸腺苷蛋氨酸还可缓解肝纤维化、增强机体免疫力和治疗多种类型的肝炎等作用。
超9亿元重磅注射剂,国内多家药企的激烈竞争
胆汁淤积性肝病(CLD)是由免疫、遗传、环境等因素引发的胆汁障碍肝胆疾病。上海一项多中心研究显示,在4660例慢性肝病患者中,CLD患病率为10.26%。该病早期无症状,进展时可致黄疸、尿色深、皮肤瘙痒等高胆红素血症症状,并可进展为肝纤维化、肝硬化乃至肝衰竭。CLD发病机制复杂,诊断治疗均具挑战。随着患者增多及治疗方案需求多样化,注射用丁二磺酸腺苷蛋氨酸市场前景稳健增长,潜力巨大。据摩熵医药数据库显示,注射用丁二磺酸腺苷蛋氨酸在2023年全国医院销售(全终端)的销售总额超9亿元,销量突破2300万支。










川公网安备51019002008863号
本网站未发布麻醉药品、精神药品、医疗用毒性药品、放射性药品、戒毒药品和医疗机构制剂的产品信息
收藏
登录后参与评论
暂无评论