
2025年抗精神病药物有重大进展及突破!随着时代的快速发展,越来越多人压力显著增加,在此基础下有关精神健康问题的话题日益突出。世界卫生组织数据显示,全球约10亿人受精神健康问题困扰。值得庆幸的是,现在已经有多种前景广阔的治疗方法正在研发的后期阶段,这为患有抑郁症、精神分裂症、双向情感障碍等疾病的患者带来了新的希望。
一、什么是“精神疾病”?
精神疾病不是一个独立的疾病,而是在生物、心理以及社会环境因素影响下,引起大脑功能失调,导致认知、情感、意志和行为等精神活动出现不同程度障碍,使患者的社会生活、个人生活能力受到损害,造成主观痛苦的一种疾病状态。
常见的精神疾病包括精神分裂症、双相情感障碍、偏执性精神障碍、癫痫所致精神障碍、分裂情感性障碍、精神发育迟缓所致精神障碍,除此之外抑郁症、强迫症、阿尔茨海默症都属于精神疾病。
二、抗精神病药物研发新进展
抗精神病药物是用于治疗精神分裂症、双相情感障碍等精神疾病的重要药物。
典型抗精神病药物(第一代抗精神病药物-FGAs):FGAs的作用机制是多巴胺D2神经受体阻断。根据与多巴胺 D2神经受体的亲和力,FGAs 可分为低效、中效和高效。比如奋乃静、氟哌啶醇、舒必利等,它们通过减少大脑中多巴胺的活动,来帮助患者减轻幻觉和妄想。
非典型抗精神病药物(第二代抗精神病药物-SGAs):SGAs的作用机制是阻断多巴胺D2神经受体,同时阻断血清素5-HT2A神经受体。以利培酮、奥氮平、阿立哌唑等药物为代表,这些药物对精神分裂症的阳性症状和阴性症状都有较好的疗效,而且副作用相对较少,现在依旧是精神科的一线用药。
因篇幅有限,下面我们将主要针对治疗精神分裂症的全球药物研发进展进行盘点与梳理。
全球在研抗精分新药研发进度及信息查询(部分)

数据来源:摩熵医药数据库
精神分裂症是一种反复发作的慢性迁延性疾病,全球约有2400万例精神分裂症患者,即每300人中就有1人患有精神分裂症(0.32%)。近年来,随着对毒蕈碱受体、Gly-T1、PDE10A等新靶点的探索,涌现出新一批的抗精神分裂症新药。据摩熵医药数据统计,全球精神分裂症新药研究火热,截至目前有超300款新药在研,其中有200余款创新药,80余款改良型新药。
1. KarXT(呫诺美林和曲司氯铵)
KarXT (xanomeline和trospium chloride复方,商品名:Cobenfy)是一种口服M1/M4型毒蕈碱乙酰胆碱受体激动剂和毒蕈碱受体拮抗剂的组合。这种组合可直接操纵中枢神经系统的胆碱能网络,并减少外周的胆碱能副作用。KarXT在EMERGENT-1、EMERGENT-2和EMERGENT-3三项安慰剂对照试验中,展现了在减少精神分裂症阳性和阴性症状方面的显著临床效果。
据摩熵医药数据库显示,2024年9月,美国FDA批准 KarXT 用于治疗成人精神分裂症,成为靶向胆碱能受体的首个抗精神病药物,也是数十年来首个治疗精神分裂症的新机制药物。2025年1月,百时美施贵宝/再鼎医药申报的呫诺美林曲司氯铵胶囊上市申请获得受理。
2. Emraclidine (CVL-231)
Cerevel公司开发的 Emraclidine 是一款毒蕈碱乙酰胆碱受体M4的选择性正变构调节剂(PAM),这种作用机制使得该药物可以最大限度地减少与泛毒蕈碱激动剂相关的副作用。
PAMs通过与变构结合位点结合,增加受体被神经递质激活的概率,从而增加单一M4受体的活性,增加受体对乙酰胆碱的反应性。Emraclidine可在发挥抗精神病作用的同时最大限度地减少与其他抗精神病药相关的副作用。
摩熵医药数据库显示,艾伯维在2023年12月以87亿美元的价格收购Cerevel公司,从而获得了Emraclidine。在一项1b期研究中,使用emraclidine治疗六周时,患者的PANSS总分在统计学和临床意义上均有所改善。与安慰剂相比,emraclidine的总体耐受性良好。不过,2024年11月,艾伯维宣布,Emraclidine在两次针对精神分裂症患者的II期临床试验中失败。
Emraclidine全球临床试验信息查询(部分)

图片来源:摩熵医药全球临床试验数据库
3. Iclepertin (BI-425809)
Iclepertin是勃林格殷格翰开发的一种口服甘氨酸转运蛋白1(Gly-T1)抑制剂,通过抑制Gly-T1,提高突触甘氨酸水平,增强NMDA受体信号传导,从而增强谷氨酸能神经传递和下游的神经可塑性过程。NMDA受体功能低下导致的谷氨酸能途径异常是精神分裂症发病的病理原因之一。
其Ⅱ期临床试验(NCT02832037)显示,与安慰剂相比,Iclepertin 2-25 mg组患者的认知功能均较基线改善,其中10 mg和25 mg组患者的认知功能改善幅度最大。所有剂量的Iclepertin总体安全性及耐受性都是良好的。
由于疗效突出,Iclepertin被FDA授予突破性疗法认定,并被CDE纳入突破性治疗品种。但遗憾的是,2025年1月,勃林格殷格翰宣布Iclepertin治疗成人精神分裂症认知障碍的III期临床项目CONNEX未达主要终点和关键次要终点。该公司已决定立即终止长期拓展试验CONNEX-X。
4. Luvadaxistat (NBI-1065844)
Luvadaxistat (NBI-1065844) 是黄素酶D-氨基酸氧化酶(DAAO)的选择性抑制剂。D-丝氨酸是NMDA受体的共激活因子之一,D-丝氨酸浓度升高可间接增加NMDA受体的活性,而抑制DAAO可减少D-丝氨酸代谢,有效改善认知。
2020年,Neurocrine以1.2亿美元的预付款从武田获得了DAAO抑制剂Luvadaxistat和其他研发项目的许可。一项II期研究对认知症状的亚组分析结果显示,与安慰剂相比,Luvadaxistat治疗12周可显著改善认知症状。但在2024年9月,luvadaxistat的二次临床II期试验失败,终决定停止开发。
Luvadaxistat全球医药交易事件信息查询

图片来源:摩熵医药全球医药交易数据库
5. MK-8189
MK-8189是默沙东开发的一款磷酸二酯酶10A(PDE10A)选择性抑制剂。PDE10A在人脑纹状体中大量表达,而在其他组织中没有。纹状体的异常输出与精神分裂症阳性症状有关,包括精神病、幻觉和妄想。
一项随机概念验证临床试验的初步结果表明,与安慰剂相比,MK-8189在4周后PANSS总分相对于基线的变化呈改善趋势。目前,该药正处于Ⅱb期临床开发阶段。
6. DB103(pomaglumetad methionil)
DB103是索元生物从礼来公司引入的一款强效mGlu2/3受体 (mGlu2/3R)激动剂 (LY404039) 的甲硫氨酸前体药物,计划开发用于治疗精神分裂症。DB103是针对谷氨酸受体用于治疗精神分裂症的首创新药,其在治疗精神分裂症临床Ⅱ期试验中获得效果满意,但在随后全球临床三期试验中未达预期疗效。但进一步对多个临床试验回顾性分析发现,Pomaglumetad对特定亚组病人有明显疗效。目前,DB103在国内处于临床II期试验阶段。
7. NH300231
NH300231肠溶片是恩华药业研发的1类新药,为新一代非典型抗精神分裂症药物。它是一种5-HT2A受体拮抗剂和多巴胺受体调节剂,且对5-HT2A受体的拮抗活性明显高于多巴胺D2受体,同时能够抑制五羟色胺转运体活性。目前,处于临床I期试验阶段。
8. LPM787000048马来酸盐缓释片(LY-03020)
LY-03020为绿叶制药基于新分子实体/新治疗实体技术平台开发,为一款痕量胺相关受体1(TAAR1)和5-羟色胺2C受体(5-HT2CR)双靶点激动剂,为新一代抗精神病药物。2024年7月,LY-03020在中国获批临床(CXHL2400453),拟用于治疗精神分裂症。同年8月,该产品单次剂量递增1期临床研究已经登记启动。
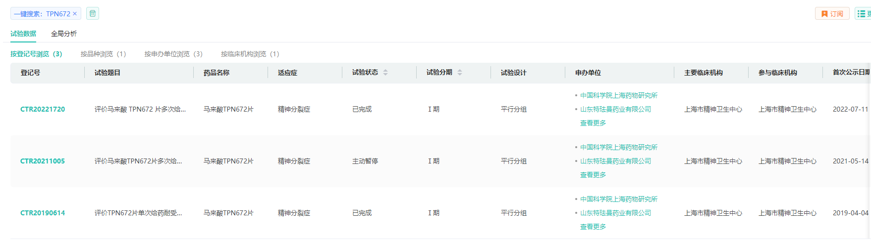
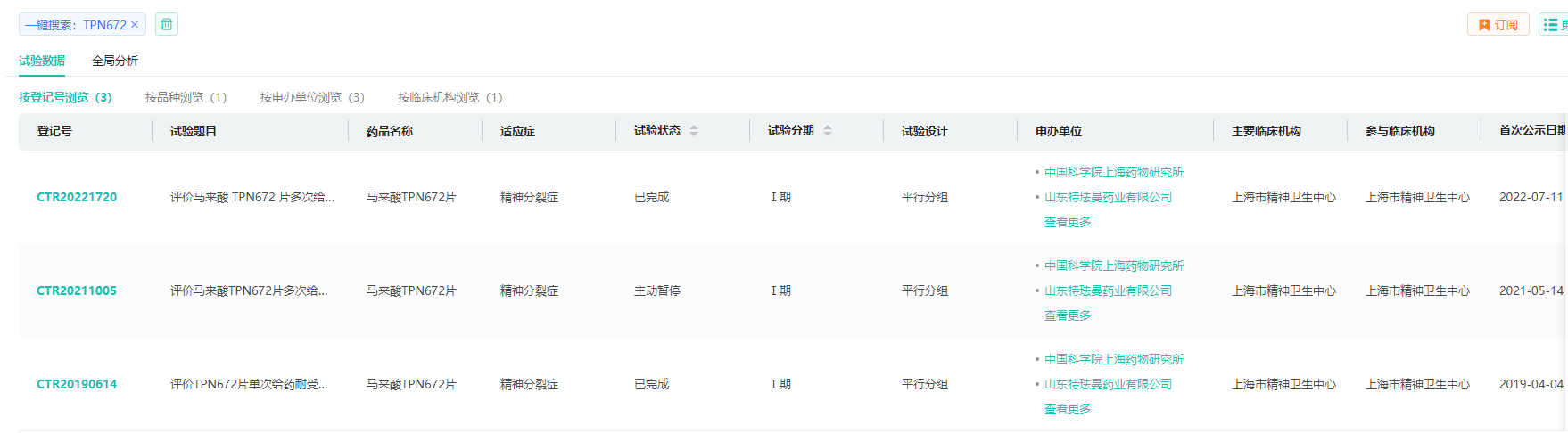
9. TPN672
TPN672是由中国科学院上海药物研究所和旺山旺水生物医药共同开发的一款在研抗精神分裂症药物。TPN672对多巴胺受体具有双向调节作用,并同时作用于5-羟色胺受体和5-羟色胺转运体,从而起到平衡调节中枢神经系统功能的作用。它在临床前研究中表现出更好的改善精神分裂症阴性症状和认知功能的作用。
TPN672于2017年5月在中国获批临床。摩熵医药数据库显示,该药物已经完成两项1期临床,还有一项评价TPN672片在精神分裂症患者的1b期临床研究目前状态为主动暂停。
TPN672中国临床试验详细信息查询

图片来源:摩熵医药中国临床试验数据库
三、抗精神病药物的发展前景与市场趋势
1. 市场潜力
全球抗精神病药物市场规模呈现稳步增长态势。2023年,全球精神分裂症药物市场规模已攀升至81.8亿美元。随着新药的不断推出和市场需求的增加,据预测到2032年,市场规模有望突破129.7亿美元。
2. 多靶点药物研发
传统的抗精神病药物主要作用于单一靶点,如多巴胺受体等。然而,精神分裂症等CNS疾病涉及多个复杂的生理和病理过程,单一靶点的药物往往难以完全满足临床需求。因此,多靶点药物研发将成为未来抗精神病药物的重要方向。比如针对D3、5-HT1A等新靶点的药物将提供更精准的治疗选择。
3. 精准医疗与个性化治疗
未来,抗精神病药物的发展将更加注重精准医疗和个性化治疗。通过基因检测和生物标志物的研究,医生可根据患者的基因特征和病情,为其量身定制最有效的治疗方案,提高治疗成功率。
4. 拓展适应症与联合用药
药企将积极探索现有抗精神病药物在其他精神疾病或非精神疾病领域的潜在适应症,以扩大市场应用范围。同时,联合用药方案的研究也将不断深入,为复杂的精神疾病提供更全面的治疗手段。
抗精神病药物的研发和应用是治疗精神分裂症等CNS疾病的重要手段。随着科学技术的进步和临床需求的增加,抗精神病药物领域取得了诸多令人振奋的新进展。未来,随着精准医疗、个性化治疗、多靶点药物研发等的发展和应用,抗精神病药物领域将迎来更加广阔的发展空间。
想要解锁更多药物研发信息吗?查询摩熵医药(原药融云)数据库(vip.pharnexcloud.com/?zmt-mhwz)掌握药物基本信息、市场竞争格局、销售情况与各维度分析、药企研发进展、临床试验情况、申报审批情况、各国上市情况、最新市场动态、市场规模与前景等,以及帮助企业抉择可否投入时提供数据参考!注册立享15天免费试用!








川公网安备51019002008863号
本网站未发布麻醉药品、精神药品、医疗用毒性药品、放射性药品、戒毒药品和医疗机构制剂的产品信息
收藏
登录后参与评论
暂无评论