
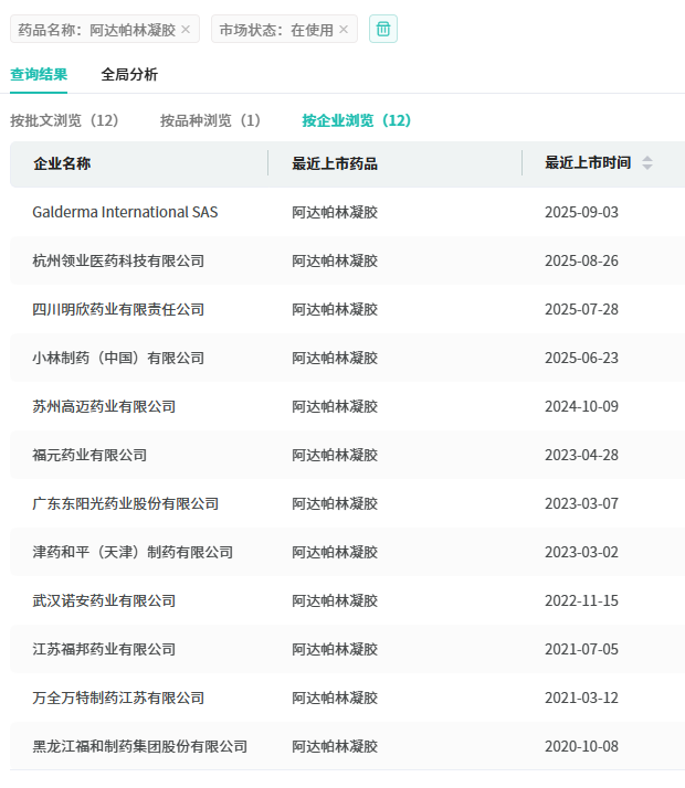
1月12日,据CDE官网最新公示,浙江华海药业按化药注册分类4类申报的阿达帕林凝胶上市申请获受理。这款用于治疗轻中度寻常型痤疮的外用药物,2024年在全终端医院市场的销售额突破1亿元,同比增长达6.36%,成为凝胶剂市场的热门品种。

截图来源:CDE官网
阿达帕林凝胶(商品名:Differin)的原研企业为法国高德美公司(Galderma),Differin最早于1996年5月获批在美国上市,目前该品种已在欧洲、日本等多个国家上市。适用于以粉刺、丘疹和脓疱为主要表现的轻中度寻常型痤疮的局部治疗。可用于治疗面部、胸和背部的痤疮。据摩熵医药数据库显示,阿达帕林凝胶在2024年全终端医院市场的销售额突破1亿元,同比增长达6.36%。











川公网安备51019002008863号
本网站未发布麻醉药品、精神药品、医疗用毒性药品、放射性药品、戒毒药品和医疗机构制剂的产品信息
收藏
登录后参与评论
暂无评论