
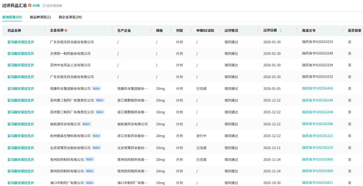
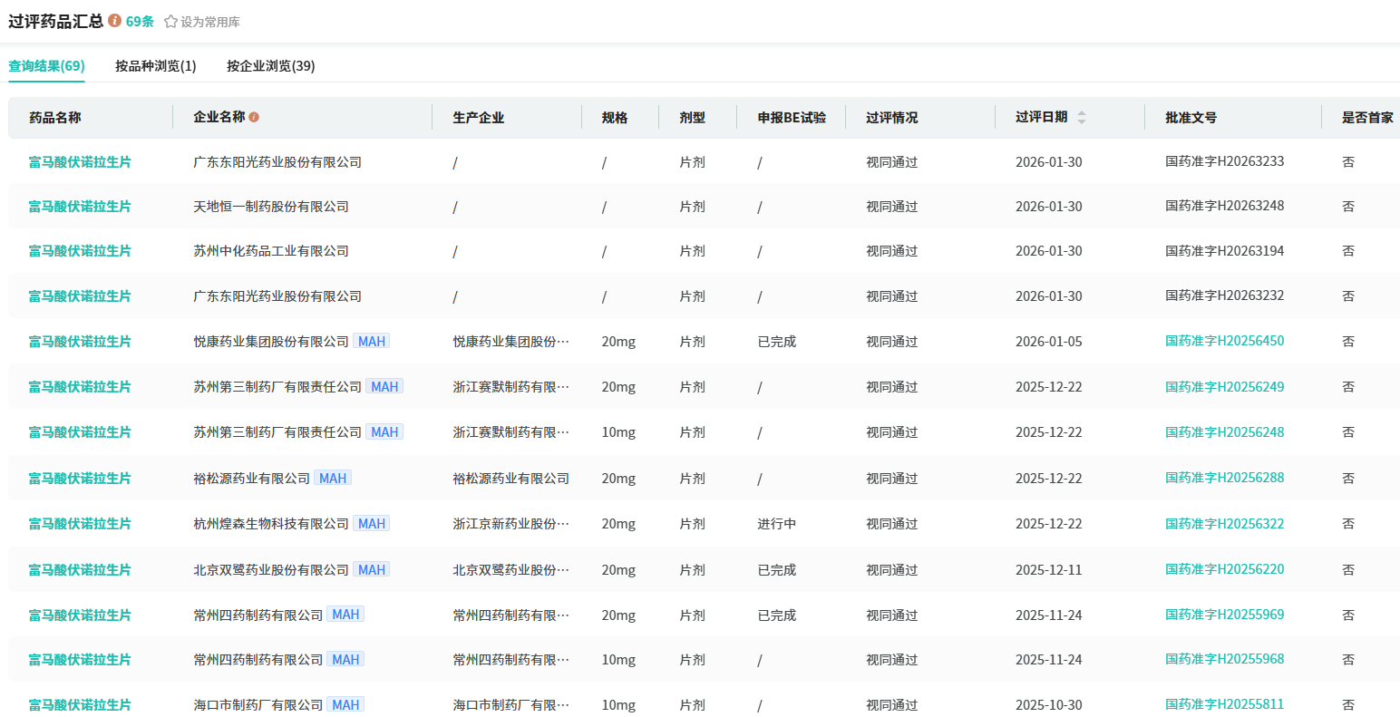
1月30日,据国家药监局官网显示,广东东阳光药业提交的 富马酸伏诺拉生片 正式获批上市,并通过一致性评价。据摩熵医药数据库显示,该品种在2024年全终端医院销逼近8亿元,目前国内仍由原研企业武田制药独家占据。

截图来源:NMPA
尽管受限于化合物专利保护(至2026年8月29日到期),东阳光药业暂时无法上市销售,但此次获批意味着,围绕这一品种的“专利悬崖”抢滩战已悄然进入倒计时。
一、从“首款P-CAB”到医保扩容,武田独占7亿+品种市场
富马酸伏诺拉生片 由日本武田制药与大冢制药联合开发,是全球首批上市的钾离子竞争性酸阻滞剂(P-CAB)之一,凭借起效快、抑酸持久、不受进食影响的特性,被广泛用于反流性食管炎、胃溃疡、十二指肠溃疡等酸相关疾病的治疗。
关键时间轴:2014年在日本获批 → 2019年12月登陆中国,商品名“沃克”,成为国内首款P-CAB药物 → 2020年进入国家医保乙类目录 → 2024年11月根除幽门螺杆菌适应证纳入医保,临床场景进一步拓宽。
市场表现:进入医保后销售额稳步攀升,2024年全终端医院市场总额接近8亿元,2025年前三季度已达7.27亿元,呈现强劲增长势头。










川公网安备51019002008863号
本网站未发布麻醉药品、精神药品、医疗用毒性药品、放射性药品、戒毒药品和医疗机构制剂的产品信息
收藏
登录后参与评论
暂无评论