
近段时间,全国多地流感集中爆发,据叮当快药数据显示,奥司他韦近7天销量飙升237%。
奥司他韦是目前销售额最高的流感特效药,也是第11批国采中标结果最令行业意外的品种。
11批国采的奥司他韦颗粒剂,常年占据七成以上市场份额、报量最大的“流感一哥”东阳光竟未中标,反被CRO湖南慧泽与成都第一制药“捡漏”。
最让人诧异的是,东阳光并非落选,而是主动报高价弃标。业内对此调侃:东阳光这波,有点像原研企业的打法了。
就在大家猜测东阳光的下一步时,11月18日,东阳光突然对外宣布,推出奥司他韦颗粒(可威®)的大包装版本:
15mg×18袋/盒,售价89.6元,并携手京东健康独家首发,现已上市一周。

有意思的是,这款大包装的价格,折合单包售价4.98元/15mg;对比之前的10袋装,单包售价仅4.5元/15mg,算算居然涨价了!
奥司他韦颗粒第11批国采中标价17.88元和19.03元,规格900mg,折算一下与东阳光可威相差了16倍。
集采中选企业打骨折,东阳光主动退出国采价格“不降反升”,意欲何为?
01
事实上,东阳光的“可威”系列从未降价。
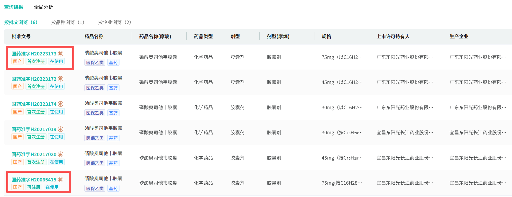
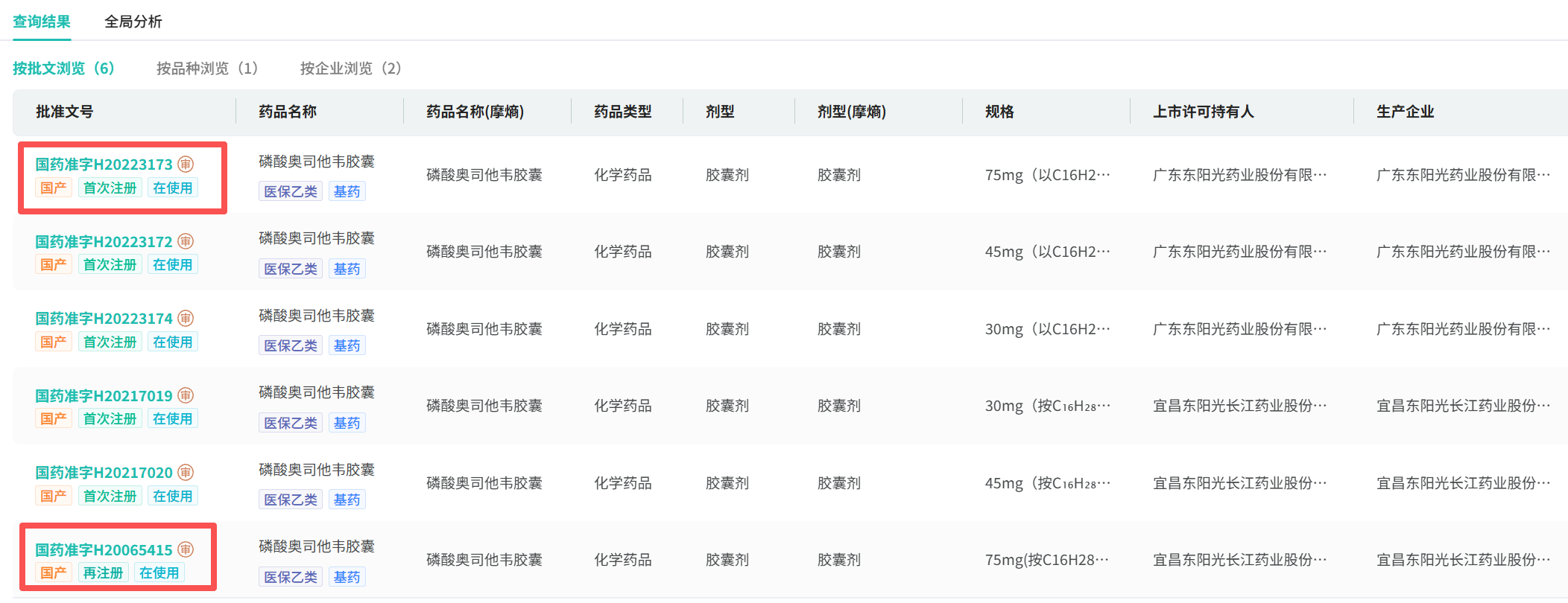
众所周知,早在2022年奥司他韦胶囊剂就被纳入第7批集采,最低价第一顺位中标的,正是东阳光,降幅超92%,价格低至1元/粒。
但值得注意的是,中标产品并非宜昌东阳光最有名的“可威”,而是广东东阳光旗下的“阳健泰”。
二者商品名不同,包装也有所区别。

图源:摩熵医药数据库

图源:京东健康
而且广东东阳光的阳健泰是2022年获批,正巧赶上2022年6月第7批集采中标,此前没有销售,纯靠集采实现的销售额增长。
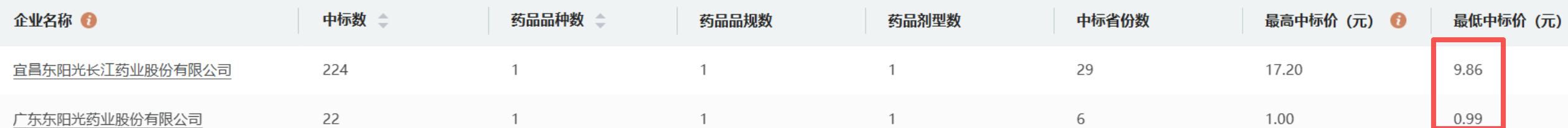
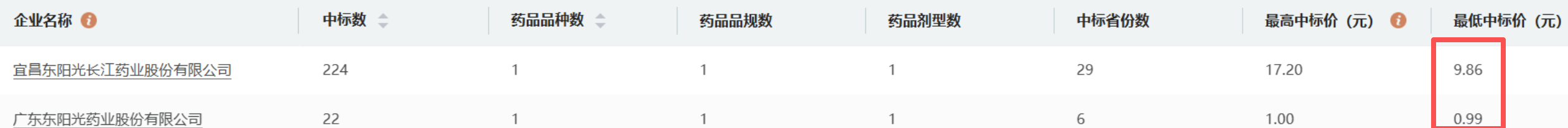
同属东阳光,但二者挂网价悬殊,阳健泰挂网价为集采中标价,1元/粒;可威价格高9倍,挂网价9.86元/粒。

所以事实上,东阳光的“奥司他韦胶囊”虽然进了国采,但降价的并不是“可威”。
由此看来,东阳光对于“可威”系列产品定位一直很明确,核心产品,自始至终没有计划降价。
02
那么再看回此次国采的奥司他韦颗粒,东阳光选择不参与也就很合理了。
东阳光的奥司他韦颗粒只有宜昌东阳光的可威颗粒,要是进国采势必大降价,就会进而影响到整个可威品牌的定价策略。
东阳光毅然决然选择弃标,显然是已经提前酝酿好的,紧跟集采推出大包装新品,也强化了这一判断。
奥司他韦这类流感药放量本就特殊,主要取决于流感爆发周期,集采影响相对有限,加之可威的品牌认知已极高,院内集采剩余市场大概率仍属于东阳光。
而其他渠道端,可威颗粒更是几乎无敌手。可威颗粒目前在药店端和线上都占据99%市场,处于绝对垄断地位。










川公网安备51019002008863号
本网站未发布麻醉药品、精神药品、医疗用毒性药品、放射性药品、戒毒药品和医疗机构制剂的产品信息
收藏
登录后参与评论
暂无评论