
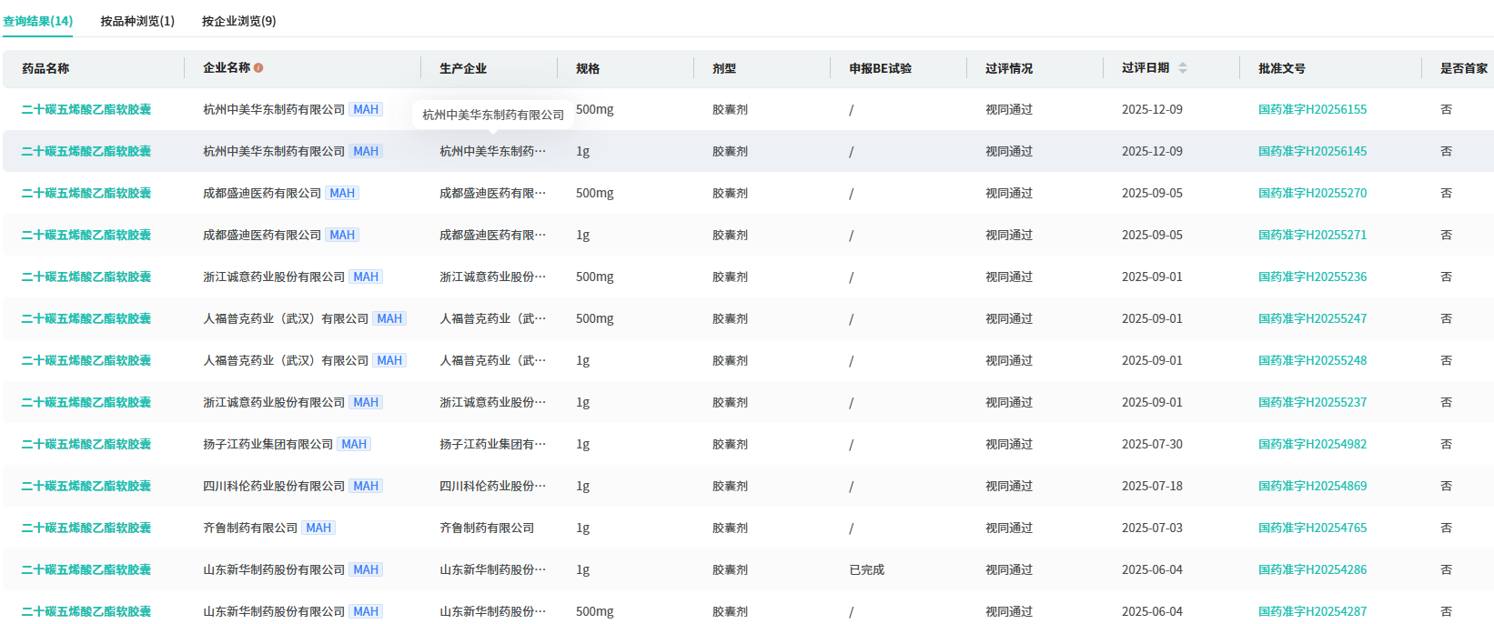
3月24日,CDE官网显示,浙江华海药业按4类仿制药申报的二十碳五烯酸乙酯软胶囊上市申请获得受理,正式加入这一高速增长的降脂药市场竞争。摩熵医药数据显示,该品种在2025年全终端医院市场销售额同比增长达1643.56%,成为心血管治疗领域备受瞩目的潜力品种。

截图来源:CDE官网
一、暴涨1643.56%的降脂药,市场潜力可期
二十碳五烯酸乙酯软胶囊是一种血脂调节剂,具有两大明确适应症:一是用于降低重度高甘油三酯血症患者的甘油三酯水平;二是与他汀类药物联用,用于已确诊心血管疾病或伴有多种危险因素的糖尿病患者,以进一步降低心血管事件风险。
该品种近年来呈现爆发式增长。据摩熵医药数据库显示,该品种在2025年前三季度全终端医院市场的销售额已突破2000万元,同比增长高达1643.56%。这种快速增长反映了临床对高甘油三酯血症管理和心血管事件风险控制的强烈需求,以及该药物在联合治疗中日益重要的地位。










川公网安备51019002008863号
本网站未发布麻醉药品、精神药品、医疗用毒性药品、放射性药品、戒毒药品和医疗机构制剂的产品信息
收藏
登录后参与评论
暂无评论