
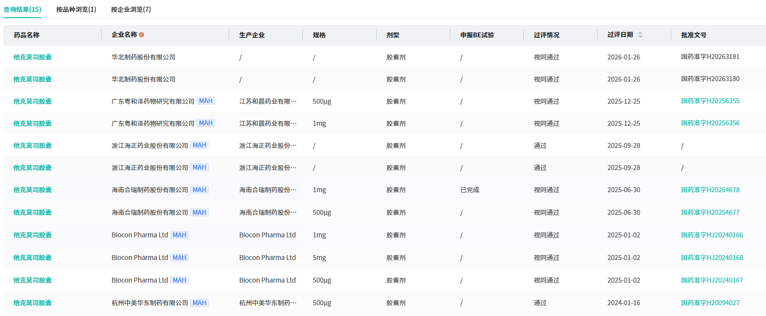
1月26日,据中国国家药品监督管理局(NMPA)官网显示,华北制药提交的 他克莫司胶囊 获批上市,视同过评。目前国内已有7家仿制药企业过评,华北制药是第7家。

截图来源:NMPA
他克莫司胶囊连续4年超50亿,原研占半壁江山
他克莫司胶囊 由 安斯泰来制药 研发,是一款免疫抑制剂,1999年在国内上市。其说明书适应症为预防肝脏或肾脏移植术后的移植物排斥反应,以及治疗其他免疫抑制药物无法控制的移植术后排斥反应。
因具有强效免疫抑制作用,该品种在临床实践中存在广泛超适应症应用,包括系统性红斑狼疮、重症肌无力、干燥综合征、白癜风等自身免疫性疾病,并被多项临床指南列为推荐用药。
市场需求的持续扩张推动其销售规模快速增长。据摩熵医药数据库显示,2021年至2024年,他克莫司胶囊 在国内全终端医院市场连续四年销售额超过50亿元;2024年销售额超52亿元,2025年前三季度,其销售额已达38亿元。











川公网安备51019002008863号
本网站未发布麻醉药品、精神药品、医疗用毒性药品、放射性药品、戒毒药品和医疗机构制剂的产品信息
收藏
登录后参与评论
暂无评论