
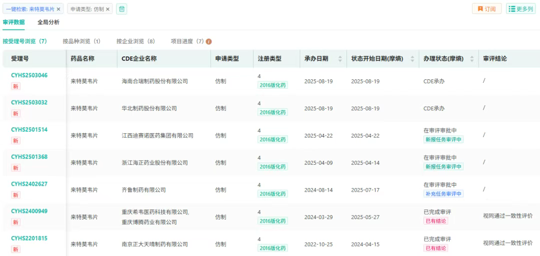
8月19日,CDE官网显示,海南合瑞制药和华北制药递交了4类仿制化药来特莫韦片的上市申请,均获受理。据摩熵医药数据库信息,来特莫韦2024年全球销售额约8亿美元,该剂型国产第三家的席位正在激烈争夺中。

截图来源:CDE官网
来特莫韦(Letermovir)是一种新型非核苷巨细胞病毒抑制剂,主要用于接受异基因造血干细胞移植(HSCT)的巨细胞病毒(CMV)血清学阳性的成人受者[R+]预防巨细胞病毒感染和巨细胞病毒病。

截图来源:摩熵医药全球药物研发数据库
该药物的原研权益由默沙东通过旗下子公司从AiCuris公司收购获得。来特莫韦片剂和注射剂最早于2017年获美国FDA批准上市,2022年先后获批进入国内市场,商品名为Prevymis(普瑞明)。
近年来,来特莫韦的全球销售额保持快速增长态势,2023年突破6亿美元,2024年同比递增29.75%,达7.85亿美元。

截图来源:摩熵医药全球药物研发数据库
在全国院内市场,来特莫韦片表现同样抢眼,2022年院内销售额为500多万元,2023年跃升至1.74亿,同比增幅高达3371.86%;2024年销售额近乎翻倍,达3.03亿,同比增长74.16%。













川公网安备51019002008863号
本网站未发布麻醉药品、精神药品、医疗用毒性药品、放射性药品、戒毒药品和医疗机构制剂的产品信息
收藏
登录后参与评论
暂无评论