
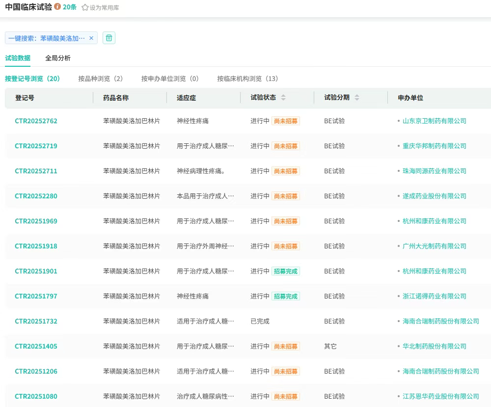
7月19日,CDE官网显示,海南合瑞制药股份有限公司申报的4类化学仿制药苯磺酸美洛加巴林片的上市申请已获受理。合瑞制药由此正式加入该品种的首仿争夺战。

截图来源:CDE官网
美洛加巴林(mirogabalin)是第三代钙离子通道调节剂类药物,其适应症为糖尿病性周围神经病理性疼痛(DPNP),主要通过调节钙离子通道,减少钙离子的内流,从而抑制神经元的过度兴奋和神经递质的过度释放。

截图来源:摩熵医药全球药物研发数据库
苯磺酸美洛加巴林片由日本第一三共公司(Daiichi Sankyo)自主研发并原研上市,2019年首次在日本获批。
据摩熵医药数据库显示,自上市以来,苯磺酸美洛加巴林片在全球的销售额持续飙涨,2019-2023年累计销售达1429亿日元(即时汇率换算约10亿美元),2024年全球销售额近4亿美元,同比增长达21.59%。

截图来源:摩熵医药全球药物研发数据库
2024年6月,苯磺酸美洛加巴林片获批进入中国市场,打破在中国长期以来糖尿病性周围神经病理性疼痛无药可用的治疗困境。同年11月,通过谈判纳入医保目录。
据摩熵医药数据,2021年我国糖尿病患病人数已达1.17亿,且呈逐年增长态势。作为糖尿病最常见的慢性并发症,糖尿病周围神经病(DPN)在我国的发病率约为21.8%,其中57.2%会发展为糖尿病性周围神经病理性疼痛(DPNP)。

截图来源:摩熵医药流行病学数据库
依托我国庞大的糖尿病患病基数与未被满足的治疗需求,苯磺酸美洛加巴林片有望复制同类神经痛药物加巴喷丁的市场表现,成长为亿级规模的重磅品种。











川公网安备51019002008863号
本网站未发布麻醉药品、精神药品、医疗用毒性药品、放射性药品、戒毒药品和医疗机构制剂的产品信息
收藏
登录后参与评论
暂无评论