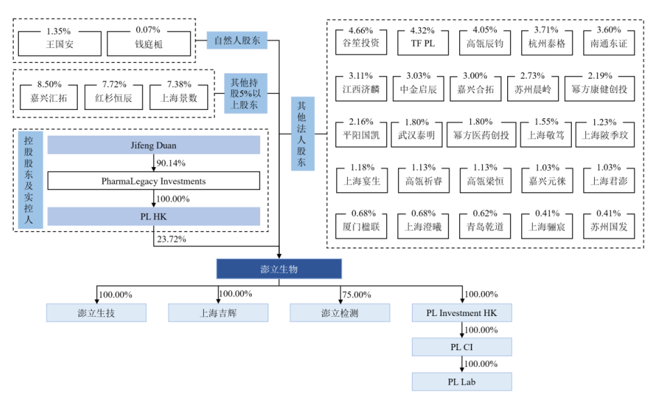
澎立生物医药技术(上海)股份有限公司


澎立生物成立于2008年,是一家综合性的临床前CRO,专注于提供符合国际标准的药理药效学、药物代谢动力学、非GLP毒理学、体外免疫学和三类医疗器械评价服务。
澎立生物公司信息(部分,完整内容欢迎登陆“药融云数据库www.pharnexcloud.com/?mh”查看)
CXOmK/btLHyE3vaIIpHKUIi/OCucSSn3zQWHvT7apB0DtIxHDmnl3xMlda6Sp2NpVlPXdg6NkAGzzfAGGQDHDwRx/RTYxnpSytMF5+xum7AUaPM8R7y81BUVkhb3utohdkXr+PeGQvFL2DrWdqLWuBBzPXR83rlH0yUi1ATvRPiIroeL1BunDmaufYSkCFFhityc3ifH3UK69Z2O9cDrhfA90ppe8LTow2LKDQ4w/3je971rQ6iHCCeQRJ1pfKqt8bTM69v8N8c9oe9H7MNtXa8VxbOz9s2RVFCRtTw3MskH5PkH7/CuR1B157qRejN25lzPB4L4yp9k+5vGxeaOmOjalreL71HgdBgkTesEz3NG42toiIkrXXxm5cIqJhGkcTeCRicDbFZ3zBoFtPWTf8NUeOHLu8sadu1Fn8sY3oXo2OqGJw2tU457w3r6cEw7nHBueE1/E8HON4R0TVlU6J5NsM0X6DyxWKqshiMNUx1I2+EaLDlDkJmzgDHWnAOt1lyXB4AVyjq1j7DnUNz5dqhOqNZCAKYkxPOry0Kxp3KeyNxAEUToDgIz94OQ1rPGKyqCHsNtqJaF9h/HYb7dRr92qVt/q9wQWred5dmcAywifSGrKV5aoq/bJa4Y5ablZ/1m1crnWU7u0jQoqU7+39/Qi4L0scuKPsTI4PTSEvGj6aMk1asu2Tkq8hdBjToUMcqA0BNcwAoRbC8DPk/IqHSVuEZM0hy+J4dl/TgF5OU9YZXlPmrGt6fWlsZbS8fc2I6DW2N7BCVeZmryLLTcifhjJ62//avb36PbtN6czibtwA5pdJ73G9wqBU7afSP58iHvo4kv3of4oR3Cd+Bg5lHBnGYA6Qx6cYfUW+ddyD0JHZLgyzzOnaQ3wZIbz4gnT7AA9cJlV0uqdb5hC8kIIH92Jkl0B48RXpp88dDbxbGpe96vq5gRvIDseY8Hcr+uek0tm21lheBPmxWuPv/2R6bamHcCdrUVK7PFu8dV/L3ocDBNfm9eJyts1zAEopW097RUWmd0jDbCVX8GWt00/oD6KJMn+OheywVCPZ9PlW9M7dAoAIk8s5wosEg6sdTHe+Ft+pvx0BFx7Zyu67caNqgOC+hS4t3ncQY3oBfDmp6+Pk2eQZ9c3ThSG0VdaHQBi+c0nvf03x9T5AfMP3Ql4aeKD0q6jPzCyMvYdjZBMwx/TH98rZW2leXuwhlj3YtrYMWd7R5brKajsoSpnKTimWZT/wyP6YzZ8R3KfVLK+iX3N17pcG9iaOvPLs9+Xufa1dy0u+1dozJX1mU+eb9Heus69Jh2AYdF+DDc1oa658rr73xxKZH7vW7Ap7pC6POr3Plc1k7TTazPuIswkWd0NHForFy9YA7zRAfr90OMBcbnxW2/BcRDqUAkBsAvWph9xJYorCkVlnhGSDKBpn9HcHZa+EcpQd9bC4q//8W6AaGatGnd5WhPgGeD5pWBe0di2JzcvVuI4penmO5dIbZeH8p/wLyQDz9Oh5rWqGTl9z/FSyZwpixLxZ7rINOptgi2CYXYX42tjguylRz+o4mBEmqjhfNp8y48JUw1Q0PhVG2Z4wrImDmvxhEU1ZvBthtDMZgUQN1fJg1uzaq4TXPLdE5JTwOVATvV9vPOwjvokxPOnIiL93jDgA8Aczfsp6T72DUm5+53kYlRTp4CzGbmHM4Nke9zzDTsnyNGR3CpQDuVvulhGnA4QvdXtvqZ94+5rrymqyUVgOHaKkUoSxLeqr0Xx+lLKOWx6S6zBl2DYJ6FA+y+f8Mk7xxmWWTJRNRN9v2cqDrBmRFXdvyD4Vh+JCrjST0c2uvUpcJYK0T3pkmtVH0paO5Go5mRZsRTg9fMAjb5TeJJCsUWZPZ8ilPffxeK09e5Edc8GetUkmyYZNRXsp1uGidWk7u3HBTJOwsOZlr2SWfW6oGn4AlPufONt6rActyE+tls/HKfUuY06FOsOPZa8R0bY18t07Y2crwulhgpF+ppICACrXaZO98SgZ7lbl9PEoly2MdN7PR95bD2PEP8EbGgsbiDjj7vBKJEx2KLXtpWtt7nxjf1vpncuDVW5fHpkRUry7LRYk49tDwXi3K0ln/StBeMF16e2aP9T6HgjdbZJFUn+DyFDauKaGv/yufYINjQb2JggdFGC2z37FOQaUDsqiP4jIDDI1mOaoWQKqXVUYlKNL0Sib95d1rcvK2qopQ/6mZa/Kfrmn2twUWfbmHosl/aMJJh9SDE9MJc4CBEGuZOo3lisyImPVaddCrXyTsxt8x7Gx802MxXYOeauqNxZaOz96R7FFIJmMVdLf7QQAdgvFhqUk2psiJX++R9zx4VMYgltnaVSwpEv6jwi31zmCs8+eApndj23a/ncpSnV8myH69OKZ+scNC0GMz9Z7iXdu+FXTzWnddFD2aj3R7stgNh7mpjJIAHI9giIfIbxvH0lXWyKmcK4tk8nFhHNwNmXRzq2vw+mgh019yqOEZ+NjM1KJwJ9aVDRP8c3hqo9tYNlMNJkle34AALiB6S1kh2/ZrTpEhGt+PUCyLfV9uBsyBSiIcSxkrBRhpETYinr3SiNQKR37Qu1vww4rAA5Py7Xb6NqrQ0RxuxQ0P2SjSs383oowyXaQhAOE35fdj3qIJu1kRPFeeH3qB5eDVDg9DseSTJohuS6NGSzbQzi/2KE+fZwh/uPFuI7L6JwI8dmzOWrOVHroLEJy7dgP+FoXCu7M09fs3YugOHSUa6g8kBvevS7HhBHIeZN9xFm82kg4r2aUm46pNG2ZdTUzZNwsi8upKOa0Hmxwepiw8khKiQ1RPguITkoZ0EhGCyOk57VXxtMtkqXOH4ImDtk+4myK7eEAYdhPhS5fAAAgAElEQVS2ual0NVvzTZfB5inhMiwwl7rrFDkCOSp61oigOOU9Kz0iq1lEzLAZYTzprjSzzEaVverwuSln0S392gDAnZbbt9bsB78gCrl0K4p5VhqC+NUqeqE5U7DIyrKtqRalrUX2QdngmsscyYBeHUMZ6CgcjE72Y2TnbxsPXshdcKeeK+hR2BqCGNMsK8q/pMOkKPcljITCAbAdAOn3H1gc7VSdCBs/34QOXc1W6R1NsH8Vst8VunxdIKKaTamfxMS7iC75326JTLUBkkObLvOCdDgqykZPDHKJ7em8QflwG+OP1c/YKLI4sn08hqPaSPzFH9uIghjHy9gU5UAR7kyJLvvFv5VI//tHzM57eOFBIcf69/cp+1uUQ5ObyavOMva51ZWnqyt/XJUkzXoasX65tiCsHqKLGA8nHplGWzzz6Yb/uyhx9hmTDz8wPOFn3k8v3KnZPgtK9HktZXBDirHxijE+pT//JvNtHSzV8NyMo1RAoazmaoSqoVb5j6sQyT2Awx1Y2ty2xDfa1B/bBuT512xitYgwZJNu1qA0gzCScaNGUcvNTmlYqD/EVeuJMoUMZ1NkRwsk4aizVPn1UhN9sOkUTaSEYmcvKadS37C8LkpvcTfE7fYEMY8UHAxRTWP7Vudc8+AVwOHyDVCr161rtGs37DfJ+BBRpSxqr200uOF+3MhW1sf2q91f1pH1Gr6bpXp+8PRNpBhd7WO6Y/9ze8SjqpqJZ22jmrbpJ/9qKYxlprEGiC/ke5QODVPEYHD2WZ0fhUPD1OhVj6JseO2VwBz+RgWtgj2FV0nd9d5XSsOdbKhfD9UeQmXkm8Vw5eOI1Upfib4fM0NGKXtmrPyCeM+RYlB2l0iKjuKiCd9DUaueO83q5JbF6O+OSJ8hGb7gmMuQ4tBRrCH7fZtl1Jr3eWOpP7EvdFDHXcGSAVMfjf8WuPSITckclBwaJie8HiXdSEY3vPZK4FkEhohJ02dtxrhizwtiTDPfvY6tl52r0FuvaI0ral527K8E7iQ4myKbSN9PnGel9yw7lct+c1qzUiwb6LNpaE7QQpfv+LmJbKpC52Z7WCYbpl9+sH6iXnqFGSWYTep3VbuWjWWTSj2nLiurFqU0MMtifT5J1BKwRj3bkf1pwlX6WjsLyhHCXcs6uVnw5KjH3wWTA66zjhOt9FXR9+NpXn13mz7fxNwyRWMXGQ6qLu8ORBRObINT9DHB4B6KzghAKolqO1PteNpOSl1icWcujllByeLooX8ZMUfMtn0u9rYixBO/y/ugntuhBihxXe7lzuYc80SZ13KZ2o4DKxzZv9ZATqvj1j8goszAcOi2RWkn9/sFIJWulhzCRz2UJeF4xmq27ERo0udVR8pWP+qhB57dUtMD57eab29M984PS91EEVUaXU6xfTPgvSd62gGJK+d50qwcRAMKD2OryFbNmxkAyyk3HhGrWmomgPIZS4ZJb++bSNU3HORUGkSB8ciz6ER/57JnsFdtxPrLwo1xpkyXDaR9Pei6mueOcm+ioe3hmEdq9hFnYyAcYRDOy/leeL+XjFrc6iP2NkKZDMS269oVanvZKwcGBUNR8nl0QjG+IMbUqDzKUUj1a7R/niH7xA121zVR7476+Sa8o7bbIGTd5QEeLkYYALBFrPk0PJcjWFJLpEXnPVUk+ucZsn29DqhF/u/FyLL9SnS1+aDJDFHvdceN7UDc6NrdU+zDzj2IU2nSBqhKWRtDEjd0PyUIL0I8n02xXJX1emNvOffUMYv5trgbYtDU+VmgGqLZgXqGJKxmlDbKSLNQrJGnBOEFMM4y4zvo7QTAfV0DaUNACo9QKuvJR9gvriE57wDYne+GjFqtTCMrAWcqF1dizPwSEVRLZy1xCid7hHFmiIL/8JkHkIQI0cyxvgw+z8dIoRNugIl3K8Ike1+pHW57ho1kdMNrd01Z499HBop+TupPTc7QJpS6BS+J16SvmmmUynqz7GsAOu/rYaXagLnMkhSBBZI+JjlE+2LsF2EZ3X008c8qczl9VtXGsPhuKPsamBzwsm5sdIJ2/Nycxm1pnty7GqXDWQddxpZJJr6Hfm6plk0SgY0+eo65XwQLCshLu8NhuQvKjloAdt3DUKtdX2OsHLmhfF/5F+asFh600FXPNkB2hGnrW8zBJ1ZuyRos4kQLcDiaIDtic7By3tnw+VYE3eq2LClTuLoHiSh6NetbPfNI6/aV/2g/tuqMvaMJsu1mvVuWxvQdhSPmIgRan2NEry6/sotOXXovRpYxG5/NOcaM2Y5eMeqnnfZC7zL2AkspsnUi2z58ep1OwfaE57rxytnysl1oL0Z2s81KY7Xtr6aUc5UCQOoy+MsrSLZVcf+ylKgpQFjwS8+3DaNj54etLliK0Ym0Uf0R4+HkK9JPp+qGWpS/WY0BxsvD6KQ6CWYitdDHiGMYS33EqkhV1EoUiWdscIRYkaIVpztfMTBEJAE1UWCWSHij8FIcNwtu4OgoEnAFDc/1iG/FIF9pXGSpSWv9vIo1Sv3wvyC6/z9ra/baSlap8Ciq7/V1nk2YMpqq6Y9aVLwwWl3PDQaxMuJ6FIKNTfJ+rw/Loblh871lUJ+jLFckhfspYY3reESpGinO52mTyGPFUJNgED4gvjnF/KQ0gEeXEXpbwOnhA15cDmL9WXVQE9hUjnAxfwaCA7zfixDdgMsezRjniIyXlXqRti0UvVnnEaueGVWNSqr5Zmkxmjluml27K8r34JdhImq2qoe8jrLxpHfB+jVZ0rXrtg9RekZ3FCv7pVvZFu9uxhXpxJUx5bPv2wJRYMpuMuBVo9zdK6Ko12tt6M7RUqqV7CxZxukHNu4sNq7jp0eeUQukw7AwTovSiADKMlrOOvnVzC/m8F3e6KNGPJsdSADQ22IBJGy9ssNTeL2GQ6vX8zFT0Qmt/cHsJRKkq9Xezy37GsqLRjL6jTKDDRH0Looyg1opri6coYqh8OkR9gCTmlI7ovSRdk5osq81+z7L7IFcnivldqryuicZWJnO1eD8adTv3M08l+r5ISJ5z6bIjsDkTAdlzVRW9Nx40I4sdyr7nKUsVIWnhGfaSTXP9RJ/vM+juPdXxQguPl/voCuMSJXP8KAAjmwX0R0ErIG2uRzl7JHbZJBiGApdRN3TRBktpxyuVIrghuJOqmjIz7fGEctlcxks4pif3Ka0qwdmGj7T2FH/xvNN3Ft5Tjajr8yWFgHvMb6mMqWgsZ1GYNsnSmepSfcpHTGhWkrMirmheleZeSzIK8J4ossF+V4++wF3pErv1VyhwDxuxd6QS5VfivJwBnxKJLWmfA5N7L1K70FDAKcqFy0yRK6GEXpmrD+p/Y+yiWbZkgNAXE7Z4jommbV8RYI3nW+e9rNaWSLLLlvJdP04YPucI0C9W+eHOGxWhKn2ooXwPRlBaSi50jrIM7z8DBCcfe7MsdLUiAOgnCAN0stdir+xSZeJSpkGwyZRF30INHxHZYPZ8Br+ioAPSzc8rx5YnQespj0glukZcX7coUFyhsccXgqqqa6jXne07mApFG37u5Gf+wJ4FyD4WPadqTXK2Zw+m9hPRsbkPKs7UCqG2WEZ0XJ0iuj6q9LbwZ8yYukLPiPa6hmj9mw1uOU1smxPFNO7VnsQlZHbPaCUPa8phicsAtqfAPHNKaIXFD2k2Fyesf4PtY5E7WpvFCnzq+OMbrMcRIBlAhaaYg5wUPo/2UrhSVFopSxlSvikwdiFjJ1dhVKWXPXZBGdTzaBhRjFCctm8yuwmlTaG4QV6OxEQlCngyt6k7C9cJkjRoMVeIDlm+o4xNDf+NiwjYkLWx7KmVxHPlDtBlu5d42ZZ47jurK+u45q90FgO8W9OjZHLVqPbr5xKF1QNClU93NQzBt2eE1bFVoRJJv9/nYRbn4NsmZ4fs2/M8SH2sSI7MmymbQEwz82VPTdeRkQ2EGOJLN6KU9/tJCua0ErlvsxlI006jq1fVQ/bh0BQ1LlX14vynvXACZQ6allWqe943i2cgB30BZT3hugy4+Vq/FAyZsNhIW8qsu9wjMmeRdZI5LJRrvY8uRnzTb63yKryOpvIEfAuB4ivvadyvm0v74z2mgZBROLczPTnpObzK5TLTwnPqJTv3dbZ3tBepcmZ6NJHhzPIpiXKudnha7GlzUbuETMIH/CPfwD//Cd36Z5NkWV+Vyz02qcEoTgjaTK7yLy78Djzb8lnEdUpK8sk93X4e5ZsHN62hjedb+ikT24Fwxwx9mOufM4dIAIA/+Zf//rXv7oc69+JxVOCL4/7mFgV9bLm6WoMZTzF6TJDvGdWjORFZ1OKy4yYddY+JwiCcDO7SoDz36k+9t8YfkBa5z7TqjQdsTkUh17PEjdrSeWX9a4VXJ4gXEjR+etywBv73hAEsRaUagweuoy1dFSXFCUvSSYQK6IDfW4ta+HvCn8/u5WstN9BV3D3PvS6gqXUceMxAA37WhJ1kPODIAiCIAiCIAiCIAiCIAiCIIjfin/71gMgCIIgCIIgCIIgCIIgCIIgCILoEnJ+EARBEARBEARBEARBEARBEATxW0HOD4IgCIIgCIIgCIIgCIIgCIIgfivI+UEQBEEQBEEQBEEQBEEQBEEQxG8FOT8IgiAIgiAIgiAIgiAIgiAIgvitIOcHQRAEQRAEQRAEQRAEQRAEQRC/FeT8IAiCIAiCIAiCIAiCIAiCIAjit4KcHwRBEARBEARBEARBEARBEARB/FaQ84MgCIIgCIIgCIIgCIIgCIIgiN8Kcn4QBEEQBEEQBEEQBEEQBEEQBPFbQc4PgiAIgiAIgiAIgiAIgiAIgiB+K8j5QRAEQRAEQRAEQRAEQRAEQRDEbwU5PwiCIAiCIAiCIAiCIAiCIAiC+K0g5wdBEARBEARBEARBEARBEARBEL8V5PwgCIIgCIIgCIIgCIIgCIIgCOK3YoXOjxmSMMTwbrG6WzRgcTd0jGWBdDhE+rrWIRGbwFOC8Gpm/13Ycl68phiGIZIn23UtvyMI4pdkcTdEGCawSBPCG6Y7hBukPxDEL89riuEwRXVFzZC01XOI9ePSWYlfCte5lPSJ34inBKFR9hI6bN7TfuRidhWSbCCIzlggHYZvLqMXd8P6Mbhsi4Q3HTg/2KRpZKR4SiqCm2144fL/WQ4Fi5cc+fXAOGEWd1+Q5DmSb5u3lcyu/BekTVnubqNs8a594Q6BtR/q9vYR3Y8M82KB9CYFggO831rvkHRmV2QE/B1g63C5/95+w+NKguc6NcuvZoqG23G9BE4lotn3BNge08mYap+L39hmVx3PlzqlaxlnccEC6XCElP8rv759kwOe17Pz+b5e73Mz8VLEWyGcW3U6yWoCaEz6UBM9azXwZ2JZ0946nMswvvUeB0jwRXmebL09n31GVKPnLC2HufxYag9c4zvqQveWrmady83m3gzJRQrcP3YqF40GxyZBOp3Ifjf6GBd3ww1yArH323S/7X04AK6/GJ7bDLfXOXC4j35XQ3wLfoF5IWwPyrsTssrjOj5ycTF/BnJd9v6KNNeLm17/x/d8I87dne3JBfzZWf+m7vfl515+ojvZsDYdtZ2M/K2MvZ0Fvvqsw4ZBLfw5m2VZt7q43Rbyezg93/484aDheurCNr+J9st/t/QVXhfAuwD59QDhdYD4ZuI4RM2QhMywEZyN0XsFwD/bO5ogO6r+xeJuiMH3A0wnEXriKlchvu5MMTnqVf/AQv98jOh+hPRxhnhP2jJeU3y5zhGcNbveMizuhhhc2w1l0WWGeK+ru83weI9uNsrXBeYAe9cvY2TnrisukA4HSCpf0zRHuKMBYIe68751rLOrEI/7hufzmmJ4ksD6VA9t4+3j+CzA4CLBfhaX9339gYccCM7eo25WuN5nfhEWhjyd1PQ7fZxPCUb3QHC4wAI9oGbuCJzzWXpWjebaU4LwIoX5HdqZXYUY3QMIYmUdmz/X7Nrtx2Wen93JASHrIozleVXzDKzwdyYwz7kI45ttfHWtAxlpLMU7Mn+w+Ttx0WBticNQng8wRPlu6mSojum9Lv58QI4Ip53JWgDBdvN3K7H48wF5nmNwtVMjX+tgcj+9D/FcfPdy//Wn43fvRKxJcU823lEIdQ0ZaC07zFfjz26I7SWvV7zPcF58h6ZzF4Bj/1oVCyxeAOSJMnbrpy3fybju7r7yOZji8SlGv+H6c8sqjvV5GfSh1xRf733lUZs1ZMF3LyjGd1yvw+3tI7oYIeE6kvG95AOE13D+rKoXcGPsWf1YK3qY9i7a6rezqxCjn+V4TO8hOJvi9GVQPz+MY2HXfF5SB3DOz2vDswcAJBiESeWn+rOaXWk6RZ3eW7BOOc4p9LI6+Pd5TTH8toOJZd0yZ8BY/Q73IwwbngVXwtMLngOm7zeaP1sRTg8TjC5TvJdlwdMjUgDRfkuZb3n2Jnnsu3fa53XDubVR80IY22Mct9ID2f1zuM/EvaMJxi8hRte3mB2591L52oWMC2JMJzu49dl71qwreO3HBZFbl2h0NihGsNl7MocF2QaIbyzfn3/36LJmfohn9NE+ytp3Is0Rk47a6Jl6P7Metg+B5GI5vbqR/mxcC/o5wyYDHc9A+87iedfpNrPHFECEfZtuZqGVXeIVQJAjOQkx99C52Hk4QPxhib3UUx+JLjNk5+1vs9ks0NuPEdwn+HL3vva9yTbu6s93ESFFanigJtvi6uzYNXLbCtepxT+Ne3+A+OYU8xNfGd52LCrLOz+2+ojOJ4jOuUDRlbgCHtHpEJR2YZAbDgbVQ0TgY+S5HyE0bQrGQ0k3D1nH5uhpBRc2u5cZjk2/f3pEigDxJ59v0WDDsz1HoNgYokkGeTmz97uLHX3Te7pFkgPR5Ri4GOHr3bFlAbOIB9Wgp1LdfPi8dHyV3tFnxN+/4OUV6POxzb5xAW49rBZ3xDgzvE/pvVQ2HS4A6o0ALMpPFmiL4p62eakJGwNsk2NUnIGu0TwW8dh4+HOByEvIcmMTAOQP+PEadX4Abzoul2Lo59irHRFbRys/hIh5IOb4NnpbESZZVP+nGv3zDpWRpwThxTPimwl2DL8WToex1/zpIZpkeH83xEB6N0YZ6lpz1VGwQ+/haUfynUdj5WYjVh1ijfeOJsi2E4QXyxp1+oizDPtXIUbSc4uzDLHh08yw2NIx1wnVAwn7DmPAwwHSP58i/unSP5rQR5xNsT0cIDlJsLOEDtA7miD7wOblKGRrIrLt/43m7/L4Gy1SjEKbVhCYv5P4Ltv6myiNVWOMMLpJcbzX4n1Z9cia/d5gVGx26LOvIaHf6AaEpY3pHrpIqUv0EV9GCEUwR2WusTGBf352FWKE+n1qdsV196Oee94EMaZZtjYZUuhGXKfa3e6hf9RuL2NOOc95IO1xuj5j3kvtc8FX9i7uhtxAI8mjlvv9WtiLkWWmlWJm8ecD8vscoWE+sncTYSz9vHc0wRRDDBoZlFvi7WTiOqTtzGDQCfvnY0ThIxYAhJYvgsGMAVIyuhysGWd+PUD4vet9nhnYHnzl3CbNC372bGZsl2H7wfHdEIPrEUKMMd356jBqWvZSi3MjusyQSc5ZwGXgqj/rrgyTMViTaWx/lP/fsZpqz90l0WW20Xuy/l2Tk7B8R9JzE+dyW8BkcT1xfjfeOyjPXUYdqTpHVB1V1bPrjKlyQIK/MT9Xn4EJx9m5PCOZ918+Mqstq3RCLREMkCcYhA/FNfrnGcYIMdKDaNU7Kxk79bac8nu47DlWtvqIJ+z8lNbq2eI8PF7OPmPTR4p96Q2CMDqngZ20Vo4FiP/rAYLrBLdPkWTDZeek4Owz4qNYlW2Nz4kzJOGjY16qZ4LVozsdd7Gz1UdkkeGrYnnnR0GvYuxu9ntOYNgwazM/mEB/KC5iP6DKn0/wlsYeO9VNxGRQ4xPorzlyBDj4A8C8cqVCia7bbNgmJ/9/u6eiRufx9/LRdT2exn84Zkb4ywjhxQDJtmkhsjm0ww16ciR4MyxZKfwZRWcxnu+X9KK6DqVeyr9kQK+MwWWMYgSO695e50AQMY9yTaZNAY90wWGE6D5F+v0HFkf1a0dE+UaHEdL7tIHTxJNG41LfuzUKbskhFdGZVoNSw0ilwzGyT64PLDBf6gBXT8XglZucn0yR682fARicnOxKbP4hr53DsnNQRM497vSYkeApQfi47+FcWiAdfgEuNIXr6ZYpwBddmUzEO+gg8mIvxvgwxejaJgf9EUp58dyWG9lqEIpxEGOa6Wu3dEQUzgPjvOohuojxcOIXbVNPeb3RcHs5PWErwuQGGF7Ojc7AN6VtJhpQGIAFJl1NR5aNfYwRhaMOspx8EaUspShfnvkL1OtIgB5g4zpQ2Gj4d2J/cxkychZJWLB3jDgYtMqqMVEa3bmRBpbx8HV8+xTVRxk2yn4KrI704nrzZ4iIynbwwz/0eaDr3lzv9r7uDOldD9GywU5PCQbXOaLL7Bc3HNgpjdaa479YozadofrzbrPnu7iubHQ0639pyLOXz3Z5MFjDeylRlWajmno+a0PVeCXWcn79BemH7g1bq5wXIhL7tIm+YNA9xRi/fH/B4lx1OAujv4/Rr7BbaJnevxvG4CU+f9vr0Bu8JxvWo57JeHsNxDdV+S7mz/Yf4nN54RywOc4bFyXbijC5nCN83FYqsjTB9E4Xdwl+fIjt8/51gcVWr7n++cc2ApdL4PUFzwCCHXvwjbecqrxn8Y5zJdiq/4lF+4+uLOdSkdlzsipd11ZtBdWgPN25VIwNSEKHw91mzPcIag/OpgZbFtCVQ7IeH7uLK3hRrOE6+3Jzdg4TjB5nOBZK7tMjOyct+zzkYAjbeeC1h+PLCIOLsCZg1zG/THCHvp2Oy/c1pL3zwzcSxityXtoUjJGznpkfH+sG82sgbyLM6Kg+IyWCYv4M1ZPOFb4gxvRkjiSXUocLb6EkbD78kCI0tbpsTwnCG5PhxzeynRkEd094PNMLq+WpbiI8olBcZy/G9OwZA0dqJIvy/YL5tnSnRiVsuCPO4kGdXYUVwVMbnWdQiBd3Q3zBZ2ek38JYwq3u+S6R+cEjX4OPxzjGM9I8dWTalIhok2g/xj5SpPc+Rg5hUIiwf74P3KdIO47SazIuFvEB50bdP8+QLTMgr3Ro0+bJN5Z3lnf++mK/p8juWiZdtYYymtXsOJadI6z3hXzw5DL9kEXFFdl/cvQspLUI9nOm7KtjKGTg/Bm4f0b6qeZA+XSLJM8RaE632SOTke+RYhg69jGjkweorEGubFcj3dvBZNwt8MfyLgv5uXWNKQq8YkR2rDfx93bFGFCyf05CJDa5KEqIdCVj+IFw+NiBy2IrwmSy/GVWxwxJ+NW455p0EBOLlxx4d8resxyUIX5fiVzvI76J8XxSNWopuqXQIeX3Xpdh9c7ws6KshCS3viUsC62iIzm+KMBLCqReJdlKyn42z3zPrayfIqM2QHzzGbjkzyGvOvXEflYtk8HWi8CYqaFEl6oyTjEQcqN7cDbt1KhpN37ZHZx2g87yWXymaFCnzveX33VnVyMk98B8m0Unq/ccFg4NZ6ZKJVO4rZFPjGmZLD8poGn7tlLCoJD9LZ2qLAt7gKRw/C+Q8jVQNYquy2hSZXE3xODltLoPCaO1c0xc/zPOd/Z81TJMNbohgCKIDG6nydL6rYHSOcEzr3+VedGidBFeUwwvUgBV3bN3NCkCCAts8tN6tt5Q9D1Z6MVBjNi01zZGzN+GjihljNjgPdnN7Iqf92v7bn1tUMmjIXuxlGXUAa8pvlynyK9Ta9ml2beBueSeoTxOkRHDjaq7yDH/C2ZHzV9zZhfQzmPdPL8eoskUGA6QyNUsxPnDElC6+PMBeRDj8xLPuBI0kmtzE6iRsebssNm3hI+tj55um3hKEN48I8hzIAiQvzPse0YkO1Zm+rxsTA8QgZV2X7U8NDtX3QHxss3V+HeNqhhXz1L9/Qi4eMSPMwCY4/aGOYH7gLVMZDVDTLuu+Ls6O+1WD72tGFm2jyQcIbSe9cwJDG590uGGXbkz0E1754cjsp1lZsTYvU4aKabmclA+ip8BL+eM6wC9QelZ1jry7NAnFrOa4rlAOkzKBSQbI6yGur56QNuLMX4MlfS+Opoo17OrAXfOqIumqI9qLTnSQyRbkkQEUKvDb6AZWVmZpqbKy+KPbUT3oyI1u/R2O/8KvZ2Ip8nLJYyY4i6MgW163NhgkU4BDj700MMBgusceW0Wh+TE2AP6iJgjo65kFhduzLPbBw6B9L5dnfflxyUyDiKMV3jgKIxpazyMF4b8dcqqdzuWZyjWj1RWpdgYZ0jCHNHlhEUQyxkiT5J88jAsFYfhbzNErkgFHun9WTscP96DpUdZ97GG+w5XtnfrP+lJD9FkRUmgHZZXkku8VEsMOCJNC4XOv7Qk0w9mXEEzK7Ei+qozGbMXY7KiVOC3LjWm7tV9xJe7CBuXL/G8mS1yXUQcytmexZo0G7HalugTpSqKNcr7aTXd69m4y5ICIjOo9v5Xelk3+btUAx4Wd0MM+Off/8nK/olnJEfTea1hcV3N4KqWvWIyr0gglg5Pwij0uJ9hH3A6n6y1iD94jLMNSx+iSj26U32/MK6a3pFvrwFmFJQN2ix7CvZIPicLAAGQ+2XoVODPOn+3AI7KDOYm0e1ueogmY8yHL9j/Y1EGrLw1mp7QO/qMeDhAGPruX7bKB1qG7OsPPORllpUvIsPaWx50TG97F0CO/OXXmRdiP9ANpFYKm0L5zk06T4Ejk2EBIMgTNevRYLMoZWmEcbbPflYXUNqJM0KjmP9VvXh2lVj2A9PPzBqykGmNHFGVMf5ie7KA7xPRZX0Wu9gz3r4ZvAd8zsyuQmN5UxYMA0SXBtkgVccw99NYYDsAHuYLYM9gcpV6a0h37PD59bDzDkCuOmDE+aMaUFqWMVpG1y9tpKbz6aJd35sik8n869ljiuBjjN08x3JFcTkAACAASURBVPO7XQQe1UIUJ42rRD5W2adijXg69a1OFH6WWtwNkWAbxxOpdKxeKcbj/O7bg0ZFKpUd+pTlX46V9FxtQIdlr6BFvSyQXAN4ucUwTGsiYVSUqBphQLVG4MpIm5izFu4blr3yavbm6Xj5b0xRPrgwfIOnW+ZYmPCsC5uhsYb+eYZsPzEaRaophRqvL3gu7sNTnNhoitRQ28Ghf55hujPEIAydi7AUsrYyQz1EJxGSC2n+OD2h3AH0lCA0lFlRPe/l+HtbEeIb4PmkvE+98OihdxQjOzpGOhwUG6ZySBINzxUnSsuyV8Umd8A3//c4CBLkdb04eF3cIj1tb9+rZFZxuOD11fv7nk4TX5qMi2e8rDbFjhnVl1LgW9/zPXoN6lIXBDH+j48P+N9qS5B4HvJFuqYx84ZnffDfyZlginwqnB96VIUsF8W6/mrP/hClrW50pftrOyXRARu/7khtgL4v1ETvzHMAeMECfXvfg+K5Ldm7ShsbO5D77FGyzJd+KkU8x3vV6zs5HCPLMsSYIQllpzFnawe7aNbLSB6vHsXj3Ht41qU1+kz7Xhuv5O+J6B9DXXhrAIaAvWvRhJM9G/4b/X2b7nuzjeFJiNC1Nxvlmyj/aZhD8hri+6hyraLcpvOLOWD9NdIbj48WBg6brOL708+vGA4P8HnyXjXIi4AQybHQdD6Zmnr2dgLgWsv8EP+zt48o2MbxeZ+PP8DuPs8OdpS9sh7KXr2H2gj5ENWs+S4juswQ+5TkbTYqFpkulS2Vn//7P4Xx1u5EYutFC0gq9MG2Ru4e+ueniO5HrWQk0+n0yFkRhGIvttqMPuIJd9R5l0ZbN1I2ouGM0joDlJ9bF3dDhAajujK/izVYPv+DFWb/NmeD54U4C/lS7OVy5uICi+0DREjYeexQdgiUGa0mGd3bi/H57LnoE5Kd9xWbhdl4NcMjfo+eHwrS3lzr2Cmw6bS/1p4MlBkBp/MhEkwcct2zdLwvut69oh6VxoBYHrBav4+ZzxDC+WAO3OR/o+usolH8CstDF+cPfVyi4kblD+ptOTD+XXcU/WvMv8XjfYCDmx3MrwHs7OMgGDmDy1QdzJKNACxXcvc3oloCtqx01MYB4Zupb6OwvfL+Nat5P3K2dsMy8AC66MfdkfNDblYqIvvYISn/CUQBkEqbmnODeEp4JAWPRBMHiLXUhF4DshevNkXaJvglCkO2yuxRSpvSygLUO0K0iMvCONFBTdd3O8DdF+Z4ynZwGzp6LAQxppe7GFyE+P/+U4D/+/8qBYToUbJ4Qb0QtfXY+GuOHDlyuUyLMtf0xlwJvn6cIst6ZkWuSHtsKrRsSk3ZD0WdH+3KXokSUcFHsfkLA3LqjKAXDcXLJrF9HJ8FSK9dJbNEo3Mp+mLvGHGQIrl3GKwb0GRc1c+uANFM1+Pga615bnDyRpcZYptRnWdxsYg7s8O3PvouKjPuKiU2KldjhndLdNl/BxAYHUxMBkUnEz73JKcNgJnREdJDX6wLrb8AgKK2vXnu8qyPSm1XkQG0Cjwa+VXga1mPdPKpy53PLX08SnliT9dtgBibybgpRZK/ByxG8gd8Cct9rpLh2bABKsNWd7WP/UMg/WlzDLmQ5HCDmtvPluiz8nst0bRwDaiGirLHyvK9U3axgxRfeC3rnW8hwgvbZwPEN2PsnoyMjW3Vz3E59ppiePIg/Up1doSFAURkgAUsdR8AsIPdIMKp4T7WJsMmPUMqFbEw/Y2gpjG12J+Q58iRYzAEpppO0D8fM6M1/3fFwKo7hzS92ZQxo65FLfNDGBu5Ho6zKeK9HmaPri/qi/3AYyubZ4OVWQReXoHI0WzcWkb0KUFoNUCYnBMRxpfW4bA7iqzmSb+4BzOGfka0NUMi1W03jsfoDNb0wSZOYwDl2uEysrEexnW6w1P1b0SAGoCHy5BFo356aRaIYaqrzrM2i0bQNsOo/vNVnhe1PbBsvutqdGtGOM9l45d6NtYMY/kIj7xEmqIjiOdvOQuuA6N+vbHzoiyZ5YMSYKe84x76exH6WcQbnvP19FdDY/69VvaxODvp9Cul81Q6No6vg6KMGLzXba1Ou0l7sgdsD2aVOtK8uRxpjaafdhMQ1rAMkKNpe7SFMsARXC+T5AELpjScgWxODksprHYY7BsAivOHMq6y924VWaaYgrJXfHbQg4I0WMDiAaZboqVwD+8/BkgcgRO2zOzSKSJ951+t/J+NujK8Cmr2WyWbx/D+jR2tTOeUIMZ0UpMZXyP31DFpMtSqc1a/v9xHuoocwBmZz/K1tqjlWM75IR22grMpskl1+gYfj5Vu9WzjEgJPix6VDCkspfQLEgQIatKm+J20Q7GPclM/YVeZ+iMi1mpL5NhKzPwHex3x/nmG4ldaWYDFS02JqNcejrMpfgzZe2LPQFow3OBaC99sDrQfywvLp3GQMIz97/8LoG4GPfTPJ0vWsBXzRgieF6TDUVGHUCkP8VMvnyOjbvoiqs7e2NM898r5JmqRqlF25tJwMjYFuSwRpdRUrc3iECWC1PIMvQ81JbNEpIOSBcE3zjzvoPF5y3GtkCbR/9X3WNfzw3KhrQifzx4wuB4h2V9eVokSWu5SHPasr39vLROk1qFX+5SIqPH3ZUNdL9h8eniBwQmwwFw2PnFmV6zHUPwuQbJU409tJLXrUqdNrVBOIX+7LCEHowLnjmRTHUyzF5O0B/DuFKfvRhitaU32dgLzoahjhNG1a1lTNb4vH+ViZ4HepwzTP4dFX57svC8ZUTwCMPjn5jkAve+arGj7lKsy6QPfvyC8zhGdtSsDx0qkRBjfbOPrCV9wW8KwX8VH57Pv64bmu7VNImd4/BkgQM4CfbiBsCxLJMmKoOwVVkScHuqRw4YDk5cOzb+/9u+iNEglw9h8MFMPZbYMMYPzsqbnh21fEAYoufloIyzOV2dZuifHuaGIKteM10X5sEGLuuNlbfrCwOxyGtccHEV5jkZ6mAju0AJIFn8+YPcwQn6fYvdjzDKJwDL0VDx7BXKn5sFNxmvgs7rRm9Hz4z0+86CtUMxtufxf4/KXQraLc80PJGEilToSpXCZbthcvzOt0W5LOstGLdkQuLHzQmQEn+0iua4x+d6PMAD7bq49WNH/tpoFc8yuQnx9kerdi4wDAM83QwznnzE5QiN9cfVZpo/FOxu3vUSbTHUHG7kne8PLuoUjS8NsFqxqzmysNrNu/U66oiMH9OwxRXDIKkbsXo6BixF3QkXo7e0jQjULochO1LLgls7OL+9QylRDoF9vJwDwjJdXoL8l2TG1me53ZqxzeAp7ldTzo8n3uEgRnI1x8H1kCNrj5UA/fkZP0r6YjaVB4IRY50GMqVbivij/16C0/kaybNkrQApikH/YfXP1pfQmg87pLt9s1dpZht5FtW/Sumjt/KhvVGpetIpHiTcwnRdNblNeE1oIlwDx5QEeLmpqhuoRgB6erbdHy8a4G2Lw/aAS5TLPy1ISKlqt2IK0bHjOr6XWVhMR147JtsWUMGYAmSEJQwzlhdLIg65FQ+emyE6Tx9O3NFmDqAWvDXmHfW9TpLkNJSVa1ALlm4PNyO0o+QUIg4P+s4YlHZRIWK1EVIGIVDAbUotawh+1KIotV8ksEelQTcPvyjnRblzrwLYuG/CaYngyx6l3L4RTRNcjpFJdVTn1UX3GbL3AaBTRsjGUevBibI7G3rbSOHmiGFYBrU8J3/R3T9pFTZn9v33EepO1Is09ws6jqupZ15YhE6fTg2VtOaEqQp5Hh6k966DVWBqmIQsjwgWLpnz5Caujvv8pRnDSss58K8rDx2rga+XQEn22BKuutarSQ4+XcMiO2DoIh+o+PM8BHNp6/Kioka65sfmoKROt+jNpX393imzCSi8Nr/XsqqB0t+nOuyAG07PAS5V0XeyuGyPi4u4rnj8eYDfP2fHY5MTQDo49rS65rQdOgZfuo2d+oKjL7cSZwdAuZrFZnzOR8SnJFyWrWv20WdfuEOX8Id4hL8sqIi0PT1nQyVOEyLjWVSONSR9cboxMT0qubzE78iltIHQ6PdJ1htvrXexfAul9gO0PEeIPwPCEBdOgTV8jnpG9aysn+JZs9dBDjxkkXlMMxflVRJovbWB7j7jIJOhozJ1iy26Vy0EBmzsvhMFvimj71pKlO0PiyKDzvo9sYNIyhpReIXKgIlSDb57nQM4rLlSyOtbt/JP2oxzYzzLEWCAd/v/s3X9sJGd6J/avfwAC1ogOBqJjAyPSgGfnj9bCToveTEam7yzRl60koItGCM0ljsyeWFkfjmUCPd7APdwg3iyQM4eHi9UAXYzttZAhLTiwlEmOZQK+VmLOGjmehMEe1bjFbSNHjwGTO0DTOuBwCrDBJN5V/njft+qtqreq3qqu5nB6vx9gAe2Q7J/1433f53mfBzk9ADPoC6JqB0+JAH12ePHy3ZPFknRGeaPEQqe4j2UvLCez6rMWHgfbVd95nNXOpUnVZJKlNhc3Z3F4AAAteHseTlajXjkLS0j0E8nYnQiVrOSWn59nZfU3PewWXhdEpQFXBm7q2cGhn4eHQBgMlj0/bHYhXIWYy8uEjOBB+lfCpKFeIiVRVTjJ7bcpX6k6Pvt94/WhMe+hJxtt+2X6DY4h/5jO++xM15xyu+3yAl6Z5cdsd/ja3qdiiad1GsB37mHW9vqrKsHIMWjUQ0vOA2O/LOYmh6/Vd3xUDn4UN50szuaIb/eJspQG29rfnQc4tCon0jTlnF5eqrHdhrYbYziMLw5llNERF3HtREycHLHFE1lb0d3syW1m8QM/VgLLKB3Esh7gZ0UJ5evSS35df60Jfye+VfDMqj5jC15fNDnLzvSRgTVjyaNqi9V6vwK1kBsOQGavAQgysurUdq/srO1w4XoT6GqLB7bnnOlzCLfw5gww0zWg1W6RvBuGYRdHuN0957wdKzhR/nWJbIxhvYvFyVeVPC8ru47FJd+4cGimBs3qM1UDQBHoim9blFllhgZ0Yb+O5Wg3BobxgbhYeE+WyUtnh8ezsNI7/ETtc1NwNn5umRQFAY3bQQHgP3glrDFrLN1SuPh/GcoXRUFzbwFw9i5+h5N6HfGyYnmBekSLbUcDePON6rteYurNYC1F3UdvrgCP2vXuwHmKUvWZZbCzsL9XZiY/kEpkuLGI5o4f65UiznkVDFXBX3lfjz132bJXDbhqe+yEek6MZ4D7O4hqKitqcahwQmOZGVZl58exj/YO4C41EeT9be5jV1kZGaGx4AEbbXRgN9kJEwDUjlt5n1I7C/XHfvjAMNbO3ImXnAw3DROzbKKRb7QwPLqygq0lAOsNmbF5CORew7Rkmb1Z3LMsxVcsKnl6dOxhpejXw1IiK4lA5j0ES7fgQbuhzrgQmzwH8DMbqWbvdDU3q72EDEl2pRfYKiQ/pBINZJ35obEMZvz6UKUnTiHDuOnSHhfHR2JtYbkBHJt+XrEPgrzXjb1DM7Hg6272sXDkoLvqY+6iyiGZhO9PlMT0ryaS6Iz3gKyG58ly5mIHT21lr8ZW7z15tA+Ydg6Zyts2lu/Ae9C23MWo5miT2+VclOhlXaK3gsG74rPuXTlFOMqbcdHbPEPnSNzVRVJVtJYgkiLL7qoszzoBTgUY5hGtgxTueMpagG9i+eeG2P9TVzsP00Ge/PNI6ws046K3Lv4tLWrQbuzJe9NDczU7SBef/9uXhBruGPoN1sz83eUnW6evOXWUimvGkr3CUofGnTB5c91EryfLYEnhmnrZoP95AwtrQHe1UzCmVeJj0Na8HJureeBj7Vfl+HM4jAIl46pe9so2GlU46ZJfqiqJcuzLjOVW+ndsd35I2dsgi01622h4YZfvKawdqS1AFwYZwouo6LUidhxc0waHMoNFXnzTC1YJJWsI5508hdmrajFM7QCQCyLhIlKp6KTcvbBjOjFknWRDKR8V+NEVL/IAyclHI7ZgJJ8Psg9D8jIq31ezmbEQfx7gnmpWlFdaoZSsGrIJyRrQWs3ePMPE5656ixT8VW6fkVwVXldj9hqAYeq11kkEWGow04C7vltqUVW8P7ksn1GeAgAw72F37QTtnWQWvrg2RH2CGnA3PByuxktjFE7uw2uIi61+T2b4abWoZY3fsGlgwSDLJDMIWNRwt1ZjlK1a2kJ/HfYZ9cc+fHgyo1krYTgPuBtd+90U5wGCxy7csbd9I7HrAxnXa70/jApwy2tMRraMqSnz5TBCsP0Q19fdWMD7+kwDeK0J3xRMzDDYD9BYfto7U0sO3vOypQoHyeq7V5NUPRAmFj/0HWf6IlksRplcbJxx0etfR9Bx0HktUXZVq/s9OePv8lOLhP0ZxMdS8r0Oth04TtGjWJRFK/iOTBmkgyORkLRy1sk/Tmrf+dFAY14sctgHdxuYDW+/iUlU4vdUeZHAdM4mmxY/SgTUSrwftWtGb6jbmGmgsS6WxVq9XaDThp+3sHn+EIdql/B5zTuXZMnTk7PiQpPGUiLnqp9PC3icziYIF6I2cr6/VN+ReOKGLjPRJfnvE2ikWm4umdfENrq3jQxlIu16BiQTDaLd29k9+OpicW++1MdF9n0hDAxpZY6s+4KcievCuLtNTQu+rfUtuI+ORPD+aY2JwtJuI5yafp64B+Q3PJ9kb5Jn6J5spBYEbXZJR4mU3U7dfROKyi3J3zI1M6+DDAJ6ey0gecTppZVV2efNANc3gLuyl1atc4dx7idhgGEQ/7dkZRq1htkcYogmmsNrmZUf1n4dMJ6HKkEhKwENgO25p8pD72bdS9Tuj1SQLsrQ7/dzEpEz5uiDbQf3MFfw6i6PyuvEibGkuCe68NZO4D9YFGW5qwa8c3to6usWNZdTnmmgtdzD1qmDe7blVK/MRjkQWb16gDDo6WzUN8apHvwoaFKqZ5hYl3FQza+ayW3Y4+z80L/gdGZ8bPup/jsWL7ey2IVdSTYhzJvASYmLaHwKIxc3tK15YhubtmCVZNF4Vn2vpb5TNYhc8uA9QmIxTC2IiOwlFRCIlcWxoGoYJ+tlhpl3hoF2UYZ52hnudxwEqh9I6nOMPnPvqg/f0EdDva87q9fQ3jAsxIcLP4nXWmbypQ363c0+PBwV1iEV32t8t0TYID3zAq8upPouFrUrI2eSpI6JzD4j+Sq9LrXFbhhk1FSti0W5nbzMj2SZpQ1H7MbYm7V8/qghZFbfjmSWLAC5mK22uEqJ0hitnAloKHENGeg/0zOn5Pcmzk+LvkeXzrgTuEHxrwDhYLG5tiKui++KUgF35gF1z+jmNJ/Tn89f9XGydr2e4Ide51w75kzXaxVQLqxxG2sKrL3ybQdHpfvZ1FB+LhRlX8+tAw2tfFoDAG4sorljt5NttN9Bd+catkr1h5kEix0DKpBpnQEUH1h7a1FygUpuUPeXuasAVFN6q0SHgmDNsKiGt73MhufaWLKuXX6jU8gsxZzrQc57sMmCrbpA0Vrvi/eq18EqKG9nKy8DPTnWbzs+mmu7uGX74LLEZ3h+piR3SpZ55XbUeK25touVsw6cDXm3j51LUYJB5uJVxniwHtECl8hOziK/c0MpkWvqWv04+TciqSF7ISp677Es55zEjafZ86O4Pru69tkG7qucR0faNTA+ZhLNfwMMd2SJpKecOPBsHReGUsTnxiX+6Blii/uGuXpeedgsmQu+sj/VsQ9n1XBnSgV/JtkjLKlgx+8FepbuybnmV+A1AVwRyZOZ6xRq3LS5iMNaa+cP4G8DnpYEEBt/55Zlrul4eHwGqGtIwY5dtVumvQogZ9dHshfH5SHmZtc2dzG718YQi7i1doju9qDcOkVdDd0TlRmytNa34DrdsASZoM+LB/CdIyzklnePl9ZOlgB8dtgkQ2aNDaIE0Ou4Cx/AdZn82u3MYncVsFoDv2rxMlXypNxRWC6QkDcHS+7uacPZacLbsx61ywSbnLUgtYZXU4/N8RqeZ5GLA6Le4V20N/zcE0D9jXFBUIv4TL6JVw799Y2VWSS3fDY93FF1+mInjVyAns2awMlBc8F26TByq2WttXeGsqeK9mglAgB6/edgw8lvUBdrcqTq/Y0QdPxoMSyxIDLbBIIHDzFanotngtrQGj93ZK1oU+ad9gklniOjYWvMLFZ6WQtGWm3nnovG/qHhQqU95/ycsVlXFr1E3Ohc1mnPeA3xQb8oKQdk7ASQwslTeGGRkxRD3w7tVYUNzMOFdNVbpLmYE7RTfTmqNGyu+Lq0SdXwoAsnI7vc2OfCUkOWOzsrqklcpSdRQdZnWL7u8X10C8vFJQOtcrfS0lYsABw9o/ieGmdZW4pt+gIkt7qr60myVrTNokA8C/+ZZFFOSF9A6y03wuCAfk8Q24+Lmt2f4F4niIJOdZf/KVxstKASH2QN2sgIQBPBhpPRpyatfFA7j3ZdV81nN/UAFHKyoBIe3EV7iPB4twx/PR3q+wDk7t28BRV94U/VHxbHr6/GKcmdnnNN4EAsPs9ZJTqYgjXxsVNd48PixA67MZiN1npvootU5TLWowlMXmJBtLgh020qlL0qLuGZll/HXL0uZPSmiFNjz8q7T2PB3/Rr0ctytuW/Gj9TOb/xz65Hf332dAsrpmUE+mdceBkBAavyI+GYPcpyfmZKXiVEPVmGdrXL9R2cQLRYnvssC/D6nnn+Me9haylA90AukhjnZunypBPxzB0XZRNZkuWGDOPfx2eG8rDZBtsO7v3A38lf8E0lJ150zw+DOuvHj9Xz49m5JxdrwO0VtzgOE0TnXcwt+ejWEfhUCS9NDytoAeGaj1aR5PEZxO42Q5m3KkE/E313RwGR1Cv+27zWoxsWz8/HVK70oXYOzwPBnvjXxnIPW9sOOvv253Yt18hYZQbDgn4ysXbPw8lqtOYWexy1Xpq5xjNC4+YW3NWc+UVt664XpMIu6NH+vWiXTZiEonYoH8lRdomyV5nic9fG/BauOW34s7aJhVWarw/yX5e6T0LEDHITa8OE+Xp6h04g+CE/YBnBaUBEZfO35Ym/wdoudnEX7bD5TnwRLr9RzSSzHURkFmu76C+P4KeinSWEJXvURFNfMJAH8elDBA/ys7eLxLL9wuzh3coHjN7gXi3EORs5jTZtFngTCyJh34/jM8sB1QhB5z7merK0kdxy1U1eoE3vueSgzZg9KS9o3q9fg/8PVakfL91nQYpnuTewsta0Cwzq73j/rljMsL0RhMdbwU1RlkAIVC+Ox3K3SF4QA1oDc7mLA7K3SKoRefyvDMEJJTvCHdvFUvJ1tQBxTO5B3kxzIulL2Y+bSy8jMaG+IklHsR12d3C61wbg4lbBgEntlPLfHcBdkJ9pOPlwsRXe5OTg7CwoyNgrEp9gqkW5ZDC20Ic+nB1xrs2tT6bO7UXKnCQMfXSH+vUrClDFrmdqoSDjOiIG4sDQUEO7HhmvCwgnQlaPoQLlqdfYQGu9h925DtobjsVEX+1OGi8zXQk2urFrbbh7MpEVpbKgjNl38nMYDlFfOS/r+tMVaBNg8b7FNaDrBBn3HZvFo8ROz7DvxwBnZRMdAKjrEjZ34e21cfjaFhYf2PeIGI9tP7Knr6E1ss9rMFz081Bs3CRHORNoeG7t9D46ThBNjmeP0Db0pkhRActUeZ06lFxMnfcuoEzjBZJ9Bm3GCuEu1L0AK/NzxTtLK5pcOcVogciNNbMWc5Cs+Ueyz1k+8/GUrFrQWu9jC3I8WGohGSgcd9dxfF7C46IaGexQC+2GXSlqIdJuAVQs3A+v/ofhjujaTWi8UO59Fhir58ezc0+uRWL3cUOWTVe7pSpR1wz5PehzNP38b8x76O3NorNq6EtZMug3rlipunXAdxz4GdcrtSYw2fm5nH9YBeG0vsjL2nhKaq3vYrHThnNqcV6Eu+YLxj25znB/M4hVZojv4jAFWlVyuraInpo/ZGmgMdOAJ/uXdJ2TxP25xnXXS2x0irAyTeIIgNCXO/7G3/mh725U30kL3p6Hzmr2OTMpZ+924ByItYnm2i7mjtqirGpBr574uGC8QNgPjvG3BnoGoLogigiWO/TR7gTGRWE1uIudVMc+HKcLbPbR7++KbYByF0Ff/W/Pk3llE97mGYtmi6xpUbKhghkXPf099PWTXXwOu3OHYjC9avhy1WK25Xbp0X4ne9eM2qGTs1A92u/AcdTEQfuO5j3x+jddEZRyHPimBnK5xPvtywtkY7mHfn8Fp3uBcYu9eM1yIWmnDcdpwx+KbYxK66an5Rpm9UtRvU+050hmLFyZRVPuwsmisu3/v2/JC33eMRhmbUe/01i+BRcButv2OcDiMxLn091921rNsJg4iFIQohfHocyeLApiQC4iAECAe++8I6K3ubsy1Pu4JW6qB/cQWGeij6q9Lv1zkuff7po5I9Xd7I9xcxXXhuGDh9WuDRUsrEfXEu+KuSmpkfp8Hp1ipM7l8H/6cSyi/bdO/eyMPTn5s+uXIwaspkG1eCy5iyCxS0mca0P4O+Ja1r+wbf2TobZ4pgOSqj+PuN56qldTJ17CUNdYvgOvGaCbur+KSXVzbXdygQ8n+3Wpbdj5WWCJHXPqn499OI4T/k9lrw932vn3mbx+NyWEfYuWtsL7U7R70rSA1oIn74Wp1/f4TCSD9GtceFNb3Md8nzHnATqOE44XwvctrwHqvtN2HDgl7lmKuHfJz0Beh1fORK3bomBtzLEPx7mH2T39+tGA29vF4oN2pddWigwAFN3jnhpD0LG1vgtPJtykPx37jHCx2FVnSbkxza1E4+mei5FcjLM5nsRYUWaC5lBjYFECzjwuFbvNchY8tOtZ0ThZlW+5NJ9xSWGzeaums3LcOTzEwz+t59pteEUyKzw/YaYsUftfLShE1yJxnRNjzGDDgeN0EmNcVeZiJbVoqOYrahfxUc6xYjrmWuvafNlAjJ2eTlmsy3dc5JBlmI3UeFfOQVIZ12Hli3ILkbbj50omMV4o6PXbdwAAIABJREFUueCqEnEm4rLfkysz74RX5W+j5Fgx/oS+LqDGarH/GUrzyOMZiOa/uXM0QCYSemgiPu8Qu1Hqvc6aDeA7UUKumN+04PW3gA0HjmmtUZ7TE52fqx39ResTcn3zJHduJtbHttCFYxy3KVFf2ztjBU9FZZPSc0W5fqAC/+n5Q1JyXU6ue66JkqcddfzWue56UQ66ifPNicaOGVrrNvdjmSTfN/0v+34PQM7rZDP35LrJjIueOmcmPW/SzN7sha+/tzySyQ0Za74xalxwNvZxUN/Oj1ij2+TCVCuM7rUd3y6TJLbFU2a+yMl5eO2OlVSKxLf6D9PN51I7SHJ+Z2kL/XW9H8Wo1szSFJkdo+/SSJUuyFpsSjr20d4BvD2VXW2o2aZFeSP67zW1vzeQ39NoX2TmBnmBKBm4ubZaYjt4QqyZdiyyrL3mMAuga94Cfv4Qh7L3Saz2dNgYHtrW67zdRmKb5cq8hxXTD8PMoKydN2LAEmx04ZQqtZTRjMyw5bRMeYl4XeNF68zF2HO88YbtX6W20Fm91nn7jMq8xyuu4VyNKB+Wsy1vmKyNWE5uWYTc3VbpxRTrWvBh4C66SadqtqfKFZmJUld6beV0ucP0eSLLiEwiy11n+d1Yt7UP74nmR4mX+5LOATSb8DZ6iWu2nrGRFDXxbTtn2vU3WX81fu0fpnobmN9/VgmcVGlFmI+L7Hu9/prSTWJNz6vuM1klsGotj5Eo0dZO3JdT5j3srp2kd6hoJXLSZYjSn3n6ewGS4yoRDKznferfWXNtNyf7VF6zzwN0VkWWYPZYTp6zV2/llq8T5/Uty0UiLdjWT/aFA9Txfn2/A8fJmbiPRSVO1NxUM0/hdUm/K6hdVE00D/RyeOKzmdtWdX5HietBcY1nfJix2FWy7FV2TxULBRffvHt+anExdr/M3q1hHiukr6dR2b+c2six62GyJrZWZmLMLHdxfUgn/+T1WgHS/VaA7O8r676QObbKKPWofn907OMw55pm3dg69dpqzAqPjVfyk+5iu65WHfjqXnl8JHeAA0HHiZXtC68pqoxV7rmSdc6W23lkO0eoUqou9qou3XGRR5ubmc6XcKExkemt98myXogsLrmcW77Q+P7ju5zGHi/EjnvZ73KmAa8JzOW8z+TrHi8zHQjHDLGyppf9ngyYxrcAiicTMhlM76ERlQtOnPvzHraWTnA0C9Eyxph5byiRM78Cr3kCbPRipY4Kx09hSXof7Q6wu3qWKss7CdExlbXW2MfCthP2CovO9+xeX+ZrW/kyPyKpLb+iiNq5lLuupr+K9T76Cz4cp6NVGQHC8/B8IOeMT7kkVGq9ETD2wsg4TxvLPeyig3ZYvm0y6675FYTyzmuLfkK2u9dUmfJarlfy/pHc+RGuP8jE9cznis4Zx0HGe8i4flnKv8zlnWfpMWxda3djBz+SE+fsgYUWwFh14BT9vqkHSDLYIbOp4sRNv+6FTbE9SJ40tsGH0rS6+NrnUvnLTtUlzr+Y6wMVd7OPfomBUjhQ3e+g7XTCgZdxkXS+oHkpEgtA+k189hqauBY22xrtd+CowVXiZp9cqAlvlvqkdyIL5FEDo9G2g7bclmk81uc99DchS4iV3cFk+Bz1WvR08VRTpqxteVXrVsrroa30pONOxUmHyCpJLvpWnQinzimr/ifjNhe3VPjdyK2/to+XqtFsYaYFr6davmk7PgqPmZa2fdhQi7dSvc7ka4t/V6bgWbnjovxrEqUNOziS1bZjKmZcZj2PXjYyNwsu+XezPpwNcwmmegZuZYMGBvr4amkL/X6JR1LHgRzLdWKlMGPLwdjqtQoXXDHUF5iaiQmeKBOpTxj7BRMG8RmPEHQcOBs17wo+vi8yvXsXmIVs3VxVXi/U5OXYh7PhxK4fUUPJRvnrwY0VeA8Mi10ly15VDUqJ0lzWv50YG+U0UsyQnxyQd+1qYHbJw25hT6oGZpuGSWWFIL/xHDMsMoy7gF2a6ZqQ8T005r3c5u6Ve/rU0Jcg+nyLFhLS1Gc+2HbC5AQ1L2vljGsu/Lu6SJfhuChiM37TM73le7IbJ4jyHdG5n399Gm/cUMN4wThOz+5NEV073bHHO6ZrW2yB/VLfk5X0OCR1P8vqe6uvHcixaCxQqlH9SgZHZd5MA66ac6jEUNvygGr9Yu//wv/29v8xVml1G+pYKDrHxLVzAN9pw9mJPvuxe33lvzqrDPZK57K2luf+XPKc0+eMT5GxD1q5uXv8s2lNZN21yv3CfE7rCt6nMcmz6pqMqbm6i6110UkylgReYv1BjTdGMnlMraVfV49faR5Vcs0kOS6YYED7Bz799NNPq/xhdEMa70OJMvWf5SImdPGi48duMj3h481w0vZvnooFa5uLrVrcfprN66ge/C6JLpjKaHsGmuKNTfW7uNg6rXTJHftw9pK99UwTJRsTLiVLdEFG+x20Hyx+H9wXiEw4XpgO4l5++BrnleOIEmnqLf8n1kQ5biJ6FlQOfhARUQZ9+zsDu0QTNbmGtkRERERE9GzTexPXM1+w3ZFCRJcDgx9ERERERERERERERDRVfvBpvwAiIiIiIiIiIiIiIqI6MfhBRERERERERERERERThcEPIiIiIiIiIiIiIiKaKgx+EBERERERERERERHRVGHwg4iIiIiIiIiIiIiIpgqDH0RERERERERERERENFUY/CAiIiIiIiIiIiIioqnC4AcREREREREREREREU0VBj+IiIiIiIiIiIiIiGiqMPhBRERERERERERERERThcEPIiIiIiIiIiIiIiKaKgx+EBERERERERERERHRVGHwg4iIiIiIiIiIiIiIpgqDH0RERERERERERERENFUY/CA6D9BxHPjHRb/TQXAOjPY76OyPJv+6jn04Ra8LA/iOj8HkX81YRvsdOM/A66TJGmw7cLbrPAoG8B0HTifABZyRhBGCTvZ3ONh2eJ4/Ddr9qS7iml10//k+dexbHuf558uzYLBtOgbk++K5TpMwgevZs0TcR5/t68b3q9F+p3g8ajPnnJD6x+CTxXEIERHVaaLBj0kuhFg/9rEP56IG0bHnEotyxQvqOQORop9PxAB+1vNlTvjFRPhCAgKZxOd9Ia9h9hqw0zZ/txf9nZ6f4gQBulUXf4/9sRaO1cDUuRQL0HIhfKz/VbheXeQ1ZhKO/czzxipolfP3iUdDY84FDroVj3/5/dZy7mRcL+T5WfY6Iu5H2cdA0c8vnFVg1eD8IQ6HgLvQMvxwgKMDoLm2AtNPy722GsYNVd9jbUYIOlnvw+Z+lff3SXO41hzCX612jInzvJ7jM+uaUXU8ONhO3lvkwvtE7jfme0jyexoBaCJAt7ZrUfHnkv4cqjxP2fNBvtONjGO1OYtG5dcD8zla8RqcftyKx7NxYTJxvtZ2z1dBpPj/LsXYclzjLPDOzOEahvDftX0v0XkbP27sgo9jJ+ckj+PzAJ2K5+pov4Pugfw/B/cqHmPmaySTE2xdnqSa4ut+ublvY65Z6riK5niTP24u8zhkIjLvIxe4nlHA9Hk93WTG+j6bouOt7PFY5/FLRJPzw5N76BFOH03u0W1fQ7AXAE0P12e0fz724WwEBX/rYqvvVV/EOW9gZc/D3VUHTtPDbs9NTBJHCDZ9DJsedtfNzzL68BBDuNjK+LkY4LbhD6u+SJ14v9juIjgATuZ20VtuYLTfQXsn/gRdJ+OzG7bh7Ij/bK79Iyw++K9rfW0238VwJ3oNJs018b6qGeLsMeDOe+htAs5egJV5/Xut4zstacbFnbVDtHd83D924c2X+/PB2QmawwB3969bfC6G463pYbffix3bo/0O2qe30C96j+cBOqs+zIeIi629WdzL/Hnid7Xjo+p3LI716P8Ptp1oEqpb2ip+bxfEdH4WSrz+wVGA4UEAf7Zf+vgBBvA3AgybsxgtJ69xSQ00lj3s4gTtnXsIbvbgzuT+QdzxEQJkLbzXQ5yfTXg3Shw/xz66B4C7mfV+VFDgTub7zfoe1bGceSzGfxveXsnPtCR1/bplOE5G+/cQlP3sDAZnJ2hiiK5zMvH3M1HnD3E4DDDszBru/8VG+3fhD4dwjz20is7LmRa83hbgdOG/O4Bb6vo0wsMHw/Q4qVbiHMDSQrkx1XmAewdAc+36eIvsGMB3uiga9YlzqI9+4nMYHQ8wQiN8DY15D3fWTtDeOcJgvTVmsO8IAQIEFY8T++c5xUkTGG44wKbttb6B1noP/QUfzkYbzunlufdNiroHLF7J+aV5D/1NH86qA98wHrC7XgNZx5vhVV382FI97n4H7QeL4tg8D9BZPcSi1XX5OhaXfPgbPhZKz6VaWFlrIjCdX8b5m4utfh8egNH5JVgwfNfHcAi0ncNS97BwHLC0hf56Q4y3V33MjTMXrUAcv2Jc3ZDj4mfzXiyu++p6N9h20IXFNUyNNVftrsf6OZL+92twESAwDNOHG07qnjTeHLVYY/kW3J0uDj8cwY09j3k9obm2i36/AWCE0TmAGYRzN6ztorc8EvfWsedFl3AckjtHtedubgEb2eMPf9WBb/qBcT2jaG5cde4sv3/o61VyHS+Z5HDjFrwHXbEWZFrfylhjczf78K7Yfabm82CEoNNFgCbc2cI3V2h0WufxNsB9ee2u8zop7gnX4mtgxz6cjaL5UR3rg2OugxJdUhMMfkjjZoaN4/g+/GET3p5pAJO9UJRcBK1kpoEGXPT6LgbbjrYwnbwg+Wg70W0vuuDLgQCGGcEGcVFye324hp+mL47yea8WDFDW+9id66C90xaLocs99Jf1x4ThYige+/C1xM1qOeO1SWKAXe+CnfXA0XBz1geibtHiwLyHfvjzer/T7G8nfwEnMAyki95Ha7mHO+igvXMXwY2i76GhHW9qoGRwYxHuThdO0SRjRpwfAMJB5rXE61XnT/dRfIBlHBDYkt994XcMxAd2asA/99SuaBlsByjm76ylzvmNDmbXrsHfSR5F8eNVP56DThdBbPBru8iYM+A3vqcokL1SOkATiY6lOcNP5flpO3hNXEPi55/2+uVE2jyRUZ+ndp0VrxS+08VJ7BdNQXT9tZyYfjK+1LUycf1a2kJ/HWLgj/zvtbm2izu4axmwG+Y+ltX5+zTNuOj15+A7XbS3Ae+Rn56IxI4J/Zjx0d4Zxt6jdaDzoAsnZ+E1dY88vg9/CLibYyy8a9fvFdPPj49EYOxmuat1pWBkjqoLS4359OtupM7ZnMnmMP2dhN/tvIf+3iw6qz7a23NjLSDZHiOmsULItIg176G/CXSOxF6Qy3YHrE+Je8C8h35/Ab6THuu01vvor2f8XcZYJ+v1XMzYMvv5Hz4YAldvoQF1Pl7DrZkyiRdBdsKUsrSF3bl7hsczjD3kolfW9b8x8/SPztZ6H/2b4nv2Vx2cWXzXKmCmX6Pc3i7QaV9wIkB8gXhwOgTgYu6ZC3wguu9cAaIklOLjY3AUAHCxYDm+aNxYRFMmoEX3P7EY2ly7A2/Zg6f/QeE1QI7/1nZxK/GTzPMuNb5Uc+uMMXlq7CFfeeY4s4GGPAZi9+XzhzgB0Bx3XnSJxyGpa43V4nOCDM7GX0/W40Tff9Z4pfa5s/HzH+FsCGBpLvadNGZaYi1APrc5eVJb21FzZ032+N0w95GvJboXDhFstK3mmdljPnWdm6tlPCOSv1A4/o4pDBjKgErzGqACjwBwZRZNBIYApq6RvT5ooZZ1UKJLaqI7P0wXzYsjFsuaa7uxxf/D16LBcyklMgCMCzYHDgJ9gJG66CUu+Mf3RQS+b9gx0mnDx2zsBhV07gIbZQfH5r9rLN+B96ANP7WzoU4qo2BxglkeOeY99PtyKGIcPJgXMlKZOk0Pu73r4r9r+U7TA1W1UNFc20VPG0CpQfC4i4AqE8jfDHC9hszTxowLrz8HOF04cuBV6PFZcbblU1b3QtxlIs75u8AND/3laIieF2QabCezhACgBc80yB+XHJgnF39Cw4x/BxANwuU152rGPUk9h2GhMk5fSEoHb+ODRnEfMp6jMqhwbfaSH0/qWpmT9Tva78j7m3mBTV2rrs02gDNgrIwiw0TKZHQ2oWBQKS14my5OjuZwPTYRyZncngfoGIKz6cX2OsigIrIXxK0WyvXr91n2c+QHPJMT1UFBQC3vnJ9MxlpmRn/mOMCQdCIXPGb1e124g7OLzty4mb/VF7ozExoAYN5DTxsfPd3xvd3ie+ngqUqY2rD99CZ0v0uqdb5QgipzuNpClJm9iAYmcT3qoT/rwzlaSLxX8R7OVuX3NWYZw+zjxhw4qpyJr4LfndOChA015jclgokFrLltB13LIMrYzk9xArXDVo6Zyu7YuyQGR1rlB7WbIxxvFWVGWwTt1LV2xsWtJR/dowFWVF7N8ZEYE1U5ds5PcYImFm80gNP4j9LnXdFCeQtefxezpjWCYx/OntpxOEo+VaZYxvzxWQ3zoss8Dsl6nDECgscBgitu5YXpmFrmzhnJZfJakBnY0hMY6yKfMz4vSq6LFIxxwvU6F7eyvsc6KwmcB7i7MyxxrygYa0mD7a7cgeahpR9r6nqzcx+DZe7MICprcsEPeQGzVal8i3Fworbq3oU/dLHVk5v39u/CHwLN10o+RfLR8wafVhldNgMMUUrG3eyXmLCIet8okYkw2JYDv1SZjLyIcfaAsNRnKydVVcpZ5JYUyCp7lZc1nUcNqnK/W5tt9rbfqTaZzt2hoLKKdtMZKanJY+IvtS3tLfWcmy6CjWqls7LfhyjDEs+GynhN+iTlUiq5K+BC2UzSNFdN/9iA2+tZP0R0DIlzarTfwf3ZniE7yrRTzCD3/BLnjnlgKQfFVue3XLDTgxvyeuFu7mJ2L4iXmVKBOy0AhG0H3Uf2C0mj/btiUeqS7VCoEhgIs34RoOPo31WU4ah2LcSz2VT2kpxYxSaliYUt/SeW5TaKSszkTpoBTLxcWGzRuIBWTkJ9tn7nFCu9RHlF007LDKbsv/CR1DjJcI6WCa6L40nfqTOMSiKsnkXPETvPtUWbGw/Fv2sTXjHxM702U3mGi5HK6Fff12v245ise11juYet0w6OaijnUAub8rCFWY7R9zfWbk1klazJWATJy8zNDJ7KBaAx7/G2cxlTyRuduBfZPGOV+YKdeAkwcf80jtmtSgnHme7noyuzcA/iAUBxjWqieTYADDuwjK87+R2oe37Tw24vHbTJPzZF/wyb8iGZC7cqSNs0ZWEPC+cnrfW+LD3nGMoLFWeJ50omNTw+i0pbxoJfz5p4Zre4R+m7Oczz3PT8yE5rwQU2jvBwDQDOcF+OJ6MxUfrISF8D5PrFh4cYYojhqiP/PQr0V012m7sKdGMl1MR1A00Xo3OEuzqKiYBYU97z6pi7XeZxSIo8J6oHBAfwN3wEOMNc30O/H3sHMiAXlfErfLQ65s7qPWUllBSUE4+Mn3SSKjsZBjKicfpg20HXMa2NaAHNgl0VYndXxjW7VAk3WZKyaqAziyynjKUt43HfuumheeCju21a77GvwJAmr0GV/pbo2TC54MfjM7FL4sCuJrJ9FpGerZFxoT0P0NkZwt3shTd5VYuvt9wYO3No0sT2ORdb1gOcRrg92rY+rGqqV2ogVbhbooTHY2aLlAhmiMWfak8TmpnDNQAnZyNgvmFfO1Yq/51GN2fjz7ZljdXYzVYOZoHydcjnV+A1T3CoTTDT79F0Q9UGS6nvRARyAGCUysKJvRu5HX3cuu4RmwWI2KCn6WErL3h3qSeB45S9GiHo3MdcL/r79GKynhHZhLsEBPrkUGa9DJcG8LTFCTURObLoWSAGvMDwKP4Y4vV0q2fQ6VQmXt9DK7lgcOzDCYPl8R0ig9Mo27VkG/QwKFDLcZ27uwUAmnU8S6bR6RBYuoVWInxf9P2o7eBh/ezYvb4Bd8NDZ9WBYzvhSGSbZZWYsQmeTHRr97GPztlKtCBl2j2qTyqXXLgHgayjLYvIbXcRDJuYPXe19yAWIYd4aNFnRy4A4RAPY48BLVvtzpiZYyIwrBYz4wuJoml7uAikZykaM/yksI9OvVltRT3B8qWvs4N39UmvXRJEXqmF1npvrPc7XjZ+YjFQH+8lqWM555w1ByUD3NtfqbBIKz+35ilGaBVeT8W951q5zFxV9mO1lb2YX3D8uJuJUrExKlDfRHM4BJpNDLFYMI4tPqaqjC1tjfSSR6nM+TS7+URWWRO5a3jzDM6GzGg1lP+zEZ0HluV+8x+toHyIPi62HIuFx5fo+WLaSZm6d8176PdXEHTacBwteHQOoAkMK2YBj+RC+7XHAGaixdQGEA+EPGtiWevxXUvZfyN6TFVa2J4XC9mj/Q58zGKlpwUjk9fSgvnz4HQYLsDmJS/Ya6C1fgfeo7a8/sJQstaSnAtdW43Gys0Swf/0413icYjhOcRCNyzLG6WvB2FvvD3T2pVKCl2x/Cxqmjsbd3BcUJKJ4V7rbkbXxMG7steV9hpiwWA04e3dwtlqmWuw+tySAWN5bypRwk0lEdt/Zxbk7m/k9fCacdHbPIOz0YW/kLyOjL8j9el3ziKanIkFP6KF28Bq8cuWyqT1lnz4WTceGXgZJhY3440C8+uJA9fKv7jEArl8xSUH3+oGfgunHR/o2Q5mxSLS4eaZGAznMu8aiE1WtZtN3kKyMXstnBAXN1wq2n5aecdGLnNUXH8vzbUtLMZ+2sBsE3LCZl87VqjyncoFWJNjXw6GMxaJjSWKomwmM5H5r5dlEYtm+o1Vv6GaM+4H2w7uli3boeqw1lhOKnMRSBtoJSfUo/3DzMdTA7A7pkbPcpH/TE4enymqKbMT7dDIrVcueeHP5WTAsAimyqkFheXzVL3ydC1eEaTNmCiUNDgSWb3GzE49S09luL6WDoSUGhCqYMvsfXQKF/zM16RYOCN1TdYyVWM9P+wb3RXvioiCRdE1Tw9+qH/PGvgndn2YzLjo9a/LRZ3k9avkAqZGLNxNNiCUZ3AUYHgQoAN5PbQpEbCuXZ+P/YyeWKoZsMVOPdVvZulWuqa0WrweN6h4/hCHwyYWN0xBjPvxHbj6ovRxdrkGda7WXeKl1mayYTP2MpNe7R6aCoblTdrldWh4lt1zo0L2fZbCxWY5xi5TMiIsp/rAJmgXlwqgFv3+qcVCZ0yUOAIgd7Fy5azCDhb53TTXdtG/8RCd1SGurfbQgw/H6Yyx86zqfMFObCyQFwwblyEwrO9mje5TLrY2J/MSqhrt3wOWXOAggLsE3Nsf5V5j1DyrWga/CsQM4DttOA/EmMBbdRFsVJlrp+/PrfU+wmT0+WRm+jMkcb+1qX+vknDKlsJJz5GH1XdqyPuKu2l4DXnXeGNgtonlnxti/0/1l6b/XpRQk57zZoh9ruP1Fbjs4xDz4yS/0xI7r2SgJ1rc1+fR1/FQBVYyg+yJMcIE5s6hsXuwpNfYjKtqBfeV2PUo9ncLcBEgwBD+alf+o+VcMaskXUYg7OzdDjpzd9I7FWUSMVCcWGN9HYjtdCl4L/MedtdO0N5wgMveA5HoEplQ8ENlaXnwrvrwDdm8lRz7MhvGxdy7OUvm+sVUbX/fSF7AqzU8Ny8W5UxaVST/KiwbRTaiRlI7AYbGLW0ZZlyElWse5/1ilJEf+1c50Rntd9B+kPxp4j3m9clI/mlRDeyMDIPcHRuFWdAJsTWwdFQ8ve19hCD2GTQwdxUYno6iTDvrwVqF7zTchgqc7HXgHN2Kym/JwW/6/WfdLON1ewdWr7kFb8/DyapvXrxWi2qJ52kseMBGO1rws6ACpfpAaSLNjM8DdDZO4K25hqbeua9QXs/MPxWLrMmg50Uao+yV1pS525ktHWgM+34Yj+cWFpaA4MCQda5Tx3qq/4+YmOtZQNWNADTNk9rzhzgcurglJ0bxCcUgMxBSSC4cDLYdDA9OENzIWeBSdba1UlJ6dmzmBCDxXELxhLR0v6DMSZb5XpL8uWlqE7/marXNy9zzClUPnoyrtd7H7lwH7Z02/NnyCyCq74fpmBENVocICsZW6tqaPO5H+/fEhLuuzzmjd9fgKB5UFKUDb4kySDkLEIXH+1NXQ6kDbRHJfgfSCU7PEa//rNgsTueW0rQnjqtmvG9JoQauv9aEbxO0i1FZ2zkB1Pirk4kb9s+jamvXTqs9vtXvy52S2s/nPfT7A/hOiZ1vMWPMFyagOJgeiQ2nytSOP/YLnyvv+M4uk5ju+VF4npwHuPtgEXdWzxAcAFhYwLWN/B0YsYBS5R30ifuqWggs26dR7eaxDCpOj/yyMGWOY7WWENtpFJvLZj+XMXnws38bn8261lUMQK79us1vyTlv3ty65mTEyz4OSTyKCJAnkzKsd45EgR5VBlXcd5piferYNwRWtL82XLcmOXfOLQuVZDwu8hueV5EMMjbXdmNBs9F+B2094GK8pyaT3bSfJEtuAQCG4tqONpxT7fH0Ph+z90uW2ZQlmJMlqLUkAHfTLiFClEt10GUAhMjaZIIfckDVfO063Nkz+Bt2pa9yJRYD7BZwo1q4ddXzTmeL65NWsTsgOFVhDm2CvF68VT8md0sb4gtwOdkgqZ0Vmc18J9MgdGJqKHulL77ZPE5jrgk8OML9R9HAqZQS3+now0Og2QSG8kZ/0IUDD94jcWOMMlijLG/9ZjnYdnCknqNqyaawCWt6ESHc2SUHyuK8aKAx76K3B3RWLQMgYfasVn5oI0B6wmAakGuT1aWtgt0KYuB5bbMPF35ho7G4KNP67v71xHuKdugMK2S01mOcsldAGOja1H4nc9dAou6q1vfDpLUgMiIPPxzBzSqLpLLtUhPwooX1MhrZJWVmXPS0p4nV0NUbT1bcCNxa34X3qA1/M8B1wwRh9goMTQu1knGlGrTaHQtlA3bxz6Tw1+3cuIP+7H04jhNez/VFb/EaK+zAFH8tzstmfn+WWFmXCQj7OGAEHN/Pz8zLFSStAAAgAElEQVRP9JdCsp+TbuY6Fps+hrllRaMklORCSq3NivWki4TWeh/hjxL3oaiMWoL1DobiBIhad3powh5ycteH6Hl0B7OAuRxGbNxVpceMnCxjmHstjcj7Z6UF9eLXIs4tsdA02O7g9Gby/ZjPv3A3YJmEqJL94VRZkWZziGDDKc7IVTusNhdxuJFxPOU20jW9Zj17s49e7nctF7KPfThOt9oCY5n5wgSNW/Yq9lsF5X5SiQJ53/Oje+g4Q7lDVZVMyVisQjS2Wch9L2J+d221j0Y4qmrB2zyCsz244CCUGqMWJJokiHF80fucRlkJcOVLrMWEiTz5z1XNAL5zD7N59w6bYFrR7+TtMK7ZpR6HJKndAsnz2rLhuNq9mBwfiHn7AP6qoeF4nlrnzon3pHYfrXk42TnDrczkXnmfq3B/KQyqLG2hf/M0tiOwubaLfj/7meLH0ygsESj/WlzvH9+HP2zCM+wQMs8H1N/5cDa6cFTJZz1gX7GUfqyRfE5ViqIKMmGiVaonlG3vjwn3PSS6ZCYS/FADqlvLDQALcNGtWOc3fET4RYsBpr/algPiCxvYid0BeCTrEsttg8ayCBn1ImNjpvkVeM0AvmU2z0Sy5UPm7HJj5oqxofLlY18aYYRgfwR39howDGSmhmEoUNt3OsD9HWBx7RqGQ608wsYhsNdHX6v9HgU+ou8+2oopFhjE4nK1ur3hYsWGjwWtUd7RgVhcGMLD7gZwd9VBZ00r77IHdFbv5me7Q9VMN22qUBMG803fPCjPCIkmB/sVBiphyY5UXWVZImnJBQ5ySpJMSLnJQ86OgHDiIBf4TQswWmkl66aQKiMxMzCkSl7lTcAtyjjlZKvlLYAOw4bn0UKKXkM3bPKdeQxnlU/UF+0bcFdd+BtFmch5uxTin7Xp+LfPHleZ0bYBuyp1nYsXaRszDWBGZDKO9jtoO2exnXc2wYu813w2RGZvhYsUBt3kdSdzYgPEAh/54yWZRT/MKXWiJaFkPpJFoCF7kpp3/gdRo1G1kBK7D+WUjjRmt5a5D0yY7EMAAMOdu/BPgeAAcDfltXNpC1voGhdu1estHWyTO6/cJT25Jkes3n3NwnHtdTQwwP2DIYKDDmA1eVa7Ae8huNmzKpcixgiWpT30bMyw7nsiYzNhdHYiFqCuBMgqfGnfQ0QtNmg7PZKydjmo4/48QMdx5G6RFfGzCcwXalUqI72OpAaLXUd6Ka3mIu70e1oPBjEu8d8dwDU0i80v5Sh/a1tej5JjyvkVeHtt+MfjzseySzOb5npiN6Av35PduVK5v8XUsSjPafMo7yZ6eim2Af2sYPXQR9txsdUfryeUlQsKlMZcxnFIgipvnLXLPruEt3x9+lxNvV+5i0TtPHRXXWA/wGDZNb8fbTxc79w5TvUyu7V8HbMP/MwxZnhvvln+qHQ3dzG7Z1rQ1/puzLRydgQWlZQ3zXdHCDbFrg93Jhk0V/3YMq6H8x76/QVRJUErE12X0ZUFeM0TYMMwjpJjLgyzk50ayz30bwTorHbhJPrR5iYBxUomE31/qD/4kaqDLDJS2hWbscUy2EoET6IFYL0On4xuln4NyIzuJxfQG3NNuQg6wP0NcdO9Y3rdqUGOKRtK9vFYNWWcX7Qxyl494wbbbRzO7cJVC7myfnq0ACwnqHV9p8dHCJqL2J09iz7LVO1dc+AjXJjR+q7oW3zLUxllWqPS4yMES4vwHg3FQD/MOtTOcZsyBmryNUG1ZHMByFxsVOWAbq4Aj9q19jfKVGNt99gi0YNF7PauF//Rh74h8DFCsP0Q19fTuzdyS1+pTLncCXheGSdz75lsiUBKqmeNfCy5qyp+7ui9QJR0xowxCDHvYWspQDcWRNT+JmNi5W72sVL4nkpSx6zMdC4uDSMbbA/jNW2Heh12PQhzJq54Q5tFWikdxBszeKEW/iex+FuKOD6xaZP5eYpg0xD4OPZFnzPjYld26StVmmgxb9E4Z9GyfGm0+HUp9ndhrWsVCIqXUSteXDadeyUkSlNkl74xSZRv2Ajgbm4BG10EGCII+7KMEOyJvxA73pLXvOr3YrXzauUmcLJqsZNajlcnUQs8ntzUgNfvY2HbQXfVx5zFgkDrpofmgS+Co7OFzyYXJJI9awz0Juzy/Gks99CflRmbMC+SNJZ7sgdL1gMnyqTkvghDX7SCly1ox1hs7DQSHZYu6Xwhrx+gtaUt9NcbGQkO8aQGUWKk+CHDXSP9XTzstOGnFnTVuDZ9LoW98wp3C7nY6mcsum146Kz6GIy1QFYyG3fGxa0lH92DIwzWi0cNqsRLlYXLqaPK+JYpp5wac0ZJJeJxDhPfX973mZw7J64d4XPZXVOisVkT3q9fg/8PixIXtXns0/AMjEOMiWbWySo6WT4rLPc1QuPmFlwA3pUAnQ0fwwfIn89Mcu4c9pyRPSBXXTimeUsYPLW4NxslkoXVPxtK7OaO1zKrmQjx9RGt98s5sLLpor3RhrPjwls7EQGo3H4/LXj9Xcx22oYy0fl9hIv2sDdmWnCNW5dUPzKLZMMy5SOJvo/VHPww10FW2eOld39oN5ZyzbBUNnFGxPMxUK3heXHmV2P2GqJdEi62xq2PqQa0hcGjsvWX7dlnl4/b/KyEsXp+ZIl2t7ibu2EJi3tru+gtA0FHDjrlzVo8rsjEODU/oFnudxqVamtkHZ2xOtKJgJTMJgknyqppWdmSVxpx/t6D+EBEvUx3dRd4pL2+Co0RRx8eYrjkwj0IckogVF300jMwTdlS5c8XtdgYlQoSn4UoB9QAXmteTNalRZZl2Yxosd1Xa3eYeX41gRte6now2r8L/wDAzXSAozHXRNZOgKoNJqsIB9BLW+j3IBaPtKz4qLm6/P6O1fboel6bWvQz3QdT11iZjTNrW2bFWlS32J1vYW7JR7fwmE2UbcgtmxDde2EsyWTfjF08Rs7EJifgZbXwP/buEgtq0V37p8wMxqtzhvun+L6CpYV0gGNmDteAjNJXquSVuQZ2rRIlfq5/KK490U6uZK1red1c2rKfNFvX1S7BJmCayIobfXgoj/sBfIjx5a3TNrqbAa735qJ7lUyUiF3zypSfPA/gf3gdnpaR2Fy7jsYMsNg0X0N0RcGkalm0kIu+6ax4VdovyojMCV7Kkm3+6UiOKbKFjc4L7g9qgSxZAxyAuF/uzUYZkTfznzNFld0qPQZJN7dPXzPVomdN56n1fKFOVUvm6gu+6blDZtkri527UfnE7FCVmpfGekzJ41st/BkdRyWzMn9nxsWdtQ7anaDWHglFRNBV9AXKF+10mPj94VlgvXMpGr8kd1SqXpDe2gn8B4ui36llQDjmPEBn9RCLcpd/vGyzuKas7Hdwf7aXHn9lXGfcn/MKfycMtD6rLmIcEiMfDwgblBcHaEZyHUFfG2qgMdOAtw4ALVk1wUd7ey57t+LE5s5yDU/rSyISt5zEYr9674YyYKHihuemJJFYiV31e3qfJKWof5mh10as98tMA40ZNTbw4e/AcudX1jpXiWB1ifFsOAbKuycRUSm1Bj+SdZAjLXibLpyN4jI40WONk7FtswhfruG5uiAnlu7SDXDV7gAkLlbhgOZO2TcjFs0ANM4BzKRvaCrTdlLysruMZa8mUmc6IbVwkb0F0tzzI+rVENEmcecBOkMAS1voLTcw2HbEQujmIg43zjAq2/w4Ie87nV3ycD2jPFNsAVd/n2rgl2geJ46NKjV9tYzl+Ra8vsxIkFnIu/PAw72Ch9DLDgCIZ7arJoED+Ac5eUyqIWOZRa/T++g4QWbQVC2MliYXG8OzTQWWNuVxKMsOlGvmOj7rElSZDMdyQdkrJP69vYPM66kKGqVLLNVTasBWfAAdL5Gm32/Ee9CCBHUtDsy4uLV0iCO54GdfSgUwlx00bcHPzy8KGyzKbM/WTQ/NOjOF1QKvzIxPL9Ja3Jv1a1mVhaOxM9JqpO8YfSz+KbfsFZL/nte3Qe2qSpe+CidMF9HINpFtFl9u1HZmyfcgxoklg4qWdbUjifFA6b83C3cJaFrrW3Cde3h4fkv/V/HdaNe8sJRE0bUu3MEwBw+NcFFNJRRdf60JP7dcnQpADjN3IlYbV8vFonDXh64Bt7eFs86R2EGRe95p14Djo/xnPC2+PxxtO3L3TU5vv7AUZxf+XLnq++p7y29sr4+XDD/OOv6SY4gaFM0XJspmV2rO/GCw7aCb3KFz7MM5igIU5e6bedTuD9kn5YpIHmrmlVdO9J7MoxrRtjsFWdx1CpOQRvm7A+Ti2/dfo/NxZOy2B6DGss21O7iOu/ABXF/fBR7JDPFVoDjhEqJkdGH29gijUyDYKdHgOFx/0CtfjBB07mpldi74WlG3ixiHKLFAi9YDUa6HmO+v6vhpwttbwWnHQVdOjmO/H/ba7KIzZ95R0ljuoY/6587iM3Gx1Uus4K1vwXW6MiDTkAGcJry9/ITcwobnyfKDYeWY4hK74W7Y3OM/nuQY6/2ihJ/38MKuh7Gx4LEPZyOjjJbcqaTKo0XEsXS2ygbnRFXUF/zQTlLjIoqKHhdmQhRlbD8NWTXPDYEI1dQqmVn++AyJ3Gp7My56Oc2cJ9q09XwE5Gz3zG2sNiF6U9zqv68aiIrF6tSG35nrWGye4dZ6Sy4uRzfyuSUHR8crmMUYZVUyv9MG3HXTwFcNnAyL3HqQIRGMqdxQTk6OEGuIrO9KSWTUpQIdEAvo/f5YjfMqBW/mVtCLZXGls8315vDWYoPJaNfHijZovWWVSV+jVJlBnblPj+DG+itE1zFVOiOejaMCwukAhzgmRA3VjKdSzZmHiZ4oNj0JLkK4FV5dy+SicyKQWEf2eWbT9YR0QLu450fhY8pSkLFjPyxZ14Y/W+5armePh+XTwnrKLSCx+GtHy6Yzlo4oou0+rRqAj9WKrxiAUa9GX6ibkaXPYmWqshtTZ01EdSJzLkg0rrfpo3MxwjJy6jOUZRmTi4f5/bf0HXbVXsfo7GSCu2BkcsB5gA6i64MKLN4/duFdybtOa7Ra4H25GHBXLqqpv1MZ65kBS1VKEEBQ471osK0W/rKuOS146litqeeIzVhvYb0vs2YLqMWx8wAdq95IKLi/psXPw0jWgr1IxEjsxBnzmlM0X5i8rMSygrK46rNeii9cjgA0D1Qj93HLuMapAIVatEReeWV5buYGRxJa631sbV9wAMQGy6MkqGMz69zLC3zIeb8ql7qv/lUGhJ0jeTyXKXuVp4HWeg9bcNDd6OQ3QJdUb4b0+sMQ/maA6z0XDUO5oWlRzzgEiJUjS1ynVXLVaF82nk5+3+F9eQh/tS3/0XxMiOuSj9Mb4SszJGvmKz13Dj8T0xylBW/Pw8lqtBO70hza9LibLoIN0QNszirRANoOvZxrqu2am1q7nFgSnmm3exQ4UmODNDkXSs5DpbmrTfgbdgFQ1dsym10yqF5+bLI9hokmq57gR0bWeVJrfQvuQddQK0/IzGofQ3LXgmtVezshLH/SSC/yhvXh9a33Hq6FjefS2Ur1bi2VN8VJNK0Lt3ffwtmquc5oeudHyTq1lqxrCxfUfwTUQp34b3fJRbDhY3Yt+VsNuD3ZfPIg/p5a61s4ctrwIY+JgirQ9TBnTMfKPczez61tXYocOMSyRs4BLGUMECYymZI7A8ae6I5Xju3htiNKOgFagzqVwRO/jqkMmbxM+vr6kKiFXgDGRWbL3SDJRX0ZrIhKtqistmSAw7Yfk+yXAmhZwXlZxBcsUWM9CjI+7cUKcb+wCmDqmX2ZuxmH5oWbeQ+7aydoZwyks669qeM3uVBbdldJqpyf/C5WHfhWx7KeWWcTFDKV5hETDrFrbAQ/zHaruKcqMZluLbjARlSmKszqTwU+VLCx4H3IzLlYqCxsSG23YDtJscXrCouHgJahuVfmfJTf7VXx3w8fDNF87c5Ez+d4I1VEGYUbHZw0h2J8nHseBOhu6KVa5fU99Xf5O6kH76pdU3O473RrWXhVgVPr706OHyrsr7xU7HZ9oCAwnj2OSZbzMO9S/v4QHrfrov67GlU35j3cWTtBey/AyhXYl46zpALIANL15yX9/ll2h2QYACkdyJ8u9Y17J+P6Rh/uYx+O4wBAIhkmO/ABAKNTwNtwkZ4NtuD1W8CxD+udH5ZUqcGzx8jfaRf2cFBZ+OoHKjjTxf1jFwuGckPToo5xiO36lBqvj/Y7aK86OFPHTMk5cmt9nDJHJefORSWkEDVYV7IC/UDJ3XnzK/CaYpwPWJR30sp7F39/Ra9BS5aaWHA6f/3BHHAzlUeLP2YUAC0OgFS5b6Ve534nrDDR2O+gbRl4JbqMxg9+6AsWhRePFrz+FuB00XbOtMUMfbeHzQVf1bPOqNWtBSiaa7vo9xO/ZVEzNpKsC2m6gRkGRzeAk9Vo26J+gRsr+JGcZJWpI21pdDoEhkO0NyDfdwvoJ4JGF7zzo3gBMLvsldHxfbno5GEBDro7gDH6bhywJGrgj6tSRrk6Z/RyDx76mygMgIgeDKIucCvjxqWamsayRmZa8CZUzsyUmWBb73vSrq/34WoLFMYM+pBamGqjA/OAQ+3UGjcrW5UZdNc8nOzIHh1VAsepkhyNsLTKAIfoqoVv9R1pC2up3REZ0j0txALtRIK2leXfh6zL1lgqzjIrYw7XmsNYwF0+S+HEHRDfzy5kxlriGEp9d8Yt7IaF2rD+fFG5Sy2bLvbcatIg3kPXCXKyovXrod2AXJQAS1xfYtfihihdlLEgViyrLGYXR8cLONpQCQVDrddUHytnyRJsecS9SH9OEVQs6ndysXIXD3NKHaTL0cWJHmuGe5m+80BPXpmYvIz0IYa5wZuoT45+jooAe0YQNmsndSIjUjXnbDt+tcQfVFn4vUSBbRMZmClqQBrd54vnJKp5tKmsWthA2/a+XLGUqtEkeuUUKljkNS7wDnB0kH2OqL5z999FjfdgPVjehwtxX0sFKVI7Q8trrffFQtVqB/g+XTCqa9w7GQ005O5M0ftjAN9x4IQ/zx9X2O3orWvnR/Sa3V5xDQTRH0Lr4RAjSr+1j3zAstzQs6zqOATI6DuRwyZpKcqkL1r7yu6hNfbcWSvlZwzsaclP4e8c+3A22nAe5OxStO6lJxufyzLjudfY5M7YTNFu4ezXUDZZKseVWTSTPd5sZBxzUXJl/utSAdDsHSDJ+YG95PxU//8NWeK7MPBKdEmNFfwIL4qltmlHAZCuoy64+YvJ5szTZphpkZIRYde3bAEoyMKQCxKf/dv47J/n14WMJqnahWrGRa9/HUFH3ZjUwF7mhWQ0ci3KlAu3r17R/n/Tw53aBpQysIR6osXVld/mWerRZRmMBoCGmpgcBPHmh2XV9J3m07ZQmgYA88UBkMbyHXgP2gXHfw0DghJSx9p5gM6GqdZlseItnnmKeiY4ckEkZyIcfgdtOKfJ76CenVqp17Esy3ms6segqSdEwtIWtsQwGXMzyWvtEPdeMwSPzwN0nC6GxlI9lju0lJyG1s21Lq7tbOXXrlYyG7SHj1awKJ7ur5B+L6ZzImuhp2BpLexLYVroyllIje08NHy/Q7F9PKxBfABZfq74/txY7qF/IzqGSi12dnJ2Qh10jY0/Y59v7mRGBUFEgKPt+PHXpiZEmeOQ7CbrqfNY9fU5GwHzI3EvNH5HFmKNkrUADwBsHGHLMOYZbDtoG/sXJP6+UN4CpIvu2gm2LM/T7ObYUtFENOwJpPXTSb6X5O6xRPPSzPNWyxpMvdemh91lIOhk9O4pvGaED1T8K6p3g5aEos6/5tou7uAu2gULn+lM4/x7cNRk/ERe26I+RdExrZ870WJe0Xeqzi/9PZivBVnnVvy1F90XjK8n6z5eNsBv6kNhsciStVMubJSduPaaSj9GJVPtk7qaa4bP+ULGlnWxDUDHy22GfeXkz+Lj/xa8vUV0Vv2Msiw2z6FE15/m2i76PfUzMW8cbDvo6rsNa9rVHC2eps8ZY+9EFM1RXWz1F3CUe18wXeOyyqFOZte+MMEKBROh1iTUd2VKLKmTvlNxjEcxBGFFfwhNIvjbWO5ha9tBt3BnYv3KzBeeyjjE9rkLNNd20Zu9n9kPKRZgT/Q40sf8pmDG2HNn4/Utfo1KjZPnRZBwtN+R15d4GeWHD4bA1VtW4+boHikqjDiPTOP46Lsyzb2Ta3vyVefs3teTwmq45oV9QyqsPcSOOf1zt9gpJsfHW+/al8AzyVxj1eZzjbkmcCBKVyMn2YPoWVA5+DHeFlYxsFjZN2eaJlXuW5B81pKR+/EfN2e7W+o9i4u7Xr4iu9xI1ETqXk62VDUiE+QEd8SOlYLBSdagXbw/Yw6X4TPRM3ydRG+GSWxFFDdnd7WXqNcpbjyOk/vHCU14qol9Hd9pHr28XN5i5ryH/t6saO65YDo/xysDNXmq7n+1uv1Vg3aq1Ezez7sHlhNELQgVa1pXw06tzAbnlSbpIwQdhFk6VjusNv3MZvJ1XatDy4v17bDKlT4n7N5L+nhIH0cZC9f6rplUzxzZ6yGrgaxxoV9cvw4/PMTZzlaJnZQadQypzK6douO9aMeFqhXsy0VarYRi08Nuv1fi+q4WJAbwHRlYXDgKSxhkn/Nlrnfi9XZWtV1OVRc8YqUDG8W7BY9983mtXleduw0BLNZ5nuYJm/Aq+e9FD+yas1V1Bd/teYDDrL4pNkk7svRnvkTQwdAMFVCBRVMJt3gGrzGZxkj83dy2yCj/5JeQsxOv/PGT7HWW9xqKzq3a7wtlHnNeZXPbinZ7m68pNp+lxU60rD5ppuec9NiyLqlzPS69SBUvKZYuUxydn4N3/ZwM9oTYfTPqY6BfW/oZj6Pmc4NtRwQJaizDLNQ7/m7VfF+YiAlUKLgY0Xc12HbgOHUFiExB4yrznfTjmPvvJcagen+Diawj2JnEfSFTyXEIgHrLOZ/Pwl3bhVc0N70yi6Yh2G231jbe3BkolzQVK/HlOABcbO3NWp/rqTFGcqfqfDyJJKu8crm1vfK7xG3UcyxXvDesb8E9uIezxyNgpvxZbPPaw/5Y2i7178cdjDQdfuDTTz/99Gm/CKKLNYDvHGGh7MIgaYoaBCZ+u0yD5vMRgnfvAjezByZVG6g/dcc+nA08e6+bngmj/Q7ap7dqXqxJ0EoeLhxlBOJS5IRj3Ga+RJeCXHwOMzrlNV2rJ17U86n+RVW6DMbpD0E0lTjuJZq8SzB3Hu130H6wiN2eC+jBbDX214P+WfMBPdGz1vmC1qfSYuwV9d77/ixVSDStGPwgIiIiIiIiIiIiIqKp8oNP+wUQERERERERERERERHVicEPIiIiIiIiIiIiIiKaKgx+EBERERERERERERHRVGHwg4iIiIiIiIiIiIiIpgqDH0RERERERERERERENFUY/CAiIiIiIiIiIiIioqnC4AcREREREREREREREU0VBj+IiIiIiIiIiIiIiGiqMPhBRERERERERERERERThcEPIiIiIiIiIiIiIiKaKgx+EBERERERERERERHRVGHwg4iIiIiIiIiIiIiIpgqDH0RERERERERERERENFUY/CAiIiIiIiIiIiIioqnC4AcREREREREREREREU0VBj+IiIiIiIiIiIiIiGiqMPhBRERERERERERERERThcEPIiIiIiIiIiIiIiKaKgx+EBERERERERERERHRVGHwg4iIiIiIiIiIiIiIpgqDH0RERERERERERERENFUY/CAiIiIiIiIiIiIioqnC4AcREREREREREREREU0VBj+IiIiIiIiIiIiIiGiqMPhBRERERERERERERERThcEPIiIiIiIiIiIiIiKaKgx+EBERERERERERERHRVGHwg4iIiIiIiIiIiIiIpgqDH0RERERERERERERENFUY/CAiIiIiIiIiIiIioqnC4AcREREREREREREREU0VBj+IiIiIiIiIiIiIiGiqMPhBRERERERERERERERT5Yef9gsgIiIiIiIiIiIiIiIa1/c+/RTf+96n+Ovvfg8//K8/+X+e9ushIiIiIiIiIiIiIiKqDcteERERERERERERERHRVGHwg4iIiIiIiIiIiIiIpgqDH0RERERERERERERENFUY/CAiIiIiIiIiIiIioqnC4AcREREREREREREREU0VBj+IiIiIiIiIiIiIiGiqMPhBRERERERERERERERThcEPIiIiIiIiIiIiIiKaKgx+EBERERERERERERHRVGHwg4iIiIiIiIiIiIiIpgqDH0RERERERERERERENFUY/CAiIiIiIiIiIiIioqnC4AcREREREREREREREU0VBj+IiIiIiIiIiIiIiGiq/MCnn3766dN+EUREREREREREREREROP43qef4nvf+xR//d3vMfhBRERERERERERERETThWWviIiIiIiIiIiIiIhoqjD4QUREREREREREREREU4XBDyIiIiIiIiIiIiIimioMfhARERERERERERER0VRh8IOIiIiIiIiIiIiIiKYKgx9ERERERERERERERDRVGPwgIiIiIiIiIiIiIqKpwuAHERERERERERERERFNFQY/iIiIiIiIiIiIiIhoqjD4QUREREREREREREREU4XBDyIiIiIiIiIiIiIimioMfhARERERERERERER0VRh8IOIiIiIiIiIiIiIiKYKgx9ERERERERERERERDRVGPwgIiIiIiIiIiIiIqKpwuAHERERERERERERERFNFQY/iIiIiIiIiIiIiIhoqjD4QUREREREREREREREU4XBDyIiIiIiIiIiIiIimioMfhARERERERERERER0VRh8IOIiIiIiIiIiIiIiKYKgx9ERERERERERERERDRVGPwgIiIiIiIiIiIiIqKpwuAHERERERERERERERFNFQY/iIiIiIiIiIiIiIhoqjD4QUREREREREREREREU4XBDyIiIiIiIiIiIls+43QAACAASURBVCIimioMfhARERERERERERER0VRh8IOIiIiIiIiIiIiIiKYKgx9ERERERERERERERDRVGPwgIiIiIiIiIiIiIqKpwuAHERERERERERERERFNlR+e2CM//jrefu8jfAIAeAE3/os38MoLJR/jO5/gkyfiP597/nk890MAvvsEn6h//MzzeP652l5xsdG38PVHwGdfehEvqNcD4NuHb+O9f/EJKr9PIiIiIiIiIiIiIiKqzWSCH9/5CHd/+Yt4+y/k/7/yJm78SvmH+Wj7p3Dz98V/v/k/n+DO5wF89BZ+6j9/GwDw6t1/hq+tpCMNn3zjHbz9Tz+u9toTXviZN/HG558HAHx89Ba+eOfrwJXb2P/6Gl4CgMfv4au37+Lr3wGwsIbP/fsf4IN/FX+Mv/nSK7j6o7W8HCIiIiIiIiIiIiIiKlB/8OO738Z7t38pCnwAwOO38cXbL2L/rTdw9TO1P2PKk7/8M+z4X6/lsV6dfQNvfB4AnuBf/gv5mF94WQQ+PvkAd3/5yyLwAQBHO/COdlKPEQZuiIiIiIiIiIiIiIho4uoNfnznW9h58ybe+oYoS/Xc4lfwlR9/B1/+/Ud4cvhVLP9nH+Nr79zGK89n/P13n+DJXz+H58YsZfXcj/0s1ryXxnsQ6YUfky/mu9/Ch/9Y/OfPv/w54PH7+PIve3jvLwD8+Bv4zd/4Al4M/+r/xoe/7WHnGwA+8yo+92LqYYmIiIiIiIiIiIiIaEJqC348+Vfv4avrXxbBAADPNdfwB2+9gZefc/EibmL19x/hyXAHq3/rA6zt+Li9oJereoJvH76Nr35lBx984Wv45//tKygb//j2H67i1z76WdzuvIFXPv8Gbus7LfQ+IQWe03p5xHzUxzvfAYBXMY/3cPM/uYuPvgMAL+PN9Z+FHt948s338PY3xH+/vPo6/t1HH+CDRyx/RURERERERERERER0EcYPfnz3Y3zwO1/Cr/Y+kM3Ngec+fxvvvr2Glz4DAM/jle4+9v/GL+Hm//ARnnznI+zc+mm8s3Abv/0P3sQrV0SY4+xoB18fPQH23sH7v/oKfr5UkOARvv6/fICPvvkBVt//GO8erwF/9Da+/lcAXnodt3/yA3zpb30ZxYWwXsVv/p9fg/Nt2TPkb76KN3/xZTwP4KM/fQcqfPLc1Vfw6kvP4aNvPAHwEd6+/UW8nfGIH/2Oh9XfEf/N8ldERERERERERERERJP3g5X/8ruf4FsHd7H6yk9jVQt8XF35LfyTd0Tg49vvv4W3em/hrd57ePKL7+LB774pAyLAJ0dvYfXVn8JP/727eO+bT/DKL6zJ3RPv4w/+5NvlXss3+3j7m+I/X/wVFy//0BP8+eEOdvwd7HwUb3z+8i+sYc37ebwsfhuvrq5hbfXV+M6Nv/wz8beHfy4CHk8+QPCH2s6R51/C2pfeEP/9E2/it+7tYe/eHvbu3cEX5OO+8d+rf/stvPkT5d4OERERERERERERERFVVzn48fEffwk3b7+ND/6N/IfPvITX33qAf3L35/GiLBv18UcyAOH/Gf78O8ALi3ew39/D7QXV9OMJPj48xpMfeR74CRdvtsS/fvR7Ab71XdtX8gQf/OMdiHDJq1hbye/1Mf93b+N255cwDwD4LL7wxdu4/cUv4LM5f/PJ//6OLHll8CMv4upLn8PnXvocPvc8IEItL2P+Z+S/vXQVL/6I7XshIiIiIiIiIiIiIqJxVS579cIv/CY2/+Q1/NrhEzzfWsPmP3oDN55/Dp88AZ7Pa9jReAVr9/45Xj/awZduv4W/+uX/Dm/8OAC8CLf9BXx18D7weAfvffgmXJsX8m/exzt7ssH66i/DbVR9Rxm++wjB7vvZP//wq1i+/tXEP/4xfu3VP675hRARERERERERERERkY0xen68gJ//ja/h3/nVz+HVJzu49nd+GgDw6t1/hq+tvFDwt8ALC2vY++ANfPLk+fDfnl/4j/AFvI/38QTv/NH7mL9S9ChP8K0/8iFCEy9i7ReKG6W/998s44MfeSJ3inyAt35lGe/gYzzK+oOPj/FnA9MbmMeaJ57tyV/08fafyEe48ire+IWX8Lz+u//6Y3z8oy9gvvhjISIiIiIiIiIiIiKiMY3X8PzKK3j1CoBvFP2iDDLEnu1z8H73N/EFPSDwo1/A678IvP+HAP7kD/AHrYKH/eTreO9/lEGH1ptwJ9Fbo/FZvPQZ4AM8hyff0fp+vPASnJ/8twj+6C28c6j1FXl8hud+5rdx+/MiMPLtgy/D+59Ez5Ov/NgEXh8REREREREREREREcVUb3heyhN8PPwWvvVN/X8f49+m+no8h1e+8IbcvfERPjLtuNB80Lsre3E8hzc6r8ealmd5/R/sY/9/3cTrAIBXcPv39rH/e7fxSuZfvIjP3ngVX/mNN8J/+fi+h2v/3mtY/ntfxtuHHwONV3H7d/fh/5cvAHiEt9+8iz/+5texc+un8Nrt9/Ct7wDfPvh9vP+XFi+QiIiIiIiIiIiIiIjGMt7OD2vP4YXmVbwQe7YX8Dd+yPCbN1y80fiX+Kv2Gub//Iv46v3sR53/0tfw9//f9/DWP53HGzeKCl5V9QJe+vtrePGv+/iy+pf/+L/Cm8FHOP7J1/H6330dzgtneOcrvwTvoxdw9crHePT4Hfzaf/pO+Agvee/iD9ZfxvOG90tERERERERERERERPW6oODHK7j9e1/D6zbNyH/oZfz/7N17bJv3nef7j+Nc6HuOEEplfZGvSlznaKJRMNqsq9V4fWBVBjojzWA4OnvitbzyaQ/GQZMMEMSYaLPcHGXgINhJOictMB0LltY5ByqLjtQpII0EeFyuKmQURCOPNqoSxVdFLisy8DSWL0ocW+eP5yH5kHx4EUlZFPV+AQViinz4I/mIrn+f5/v9Hv+FV1opjbyR/K6PrNmpZ/7jX+mZo+mv5J9//Jbe+uWn+mdJ0nn1/+1bmtKvdD7JY3Y8VSF90Be5YXWFjvf8gy78U59+8rdu/dt/DEq7m/W3fc8q2LJPf3FVktbrmX+/Q//8jyP61eCYrr9QET0HBAAAAAAAAAAALIj7FH7M0wJWSIx0/1Aj4T9N6Rf//Yf6xXwPcr1ff1F9TD+RJK3XMy/8d/2l26G//9639FZ4/snv6k/+65/pG//kVtu5E2rz/Yn+S81CVacAAAAAAAAAAICQ/Aw/cs35B/pv79emdddH1kvXU91p/b/RM3WPaGzlizr+8rPaeeGHOva//VAj+ob+7M0/0a9e+q/6haRZVegPvrNJbW9P6d3vPadv9Pyt/mRjti8GAAAAAAAAAAAkk0X4MaK2P/Lo7yXp5lT41vfePqo//H+N//4ifPN7eus7f6h3bZ/tD+T54Xr9sPovklZgtP3vu9QWc9svjv9b7Toee8/f118O/GXkjx+c1lv/z+aUr8bq+niyJliStF7ffmtYFSM/0Q+/U6mfjH8hrf59/ZefvKNn1/+9/k/LPb/xH/5cB97+c/Xf+oX+4j+d0M6u46pYPa/lAAAAAAAAAACAeciq8iP4P3+lX8Xc9sVvfqVf/Sb2nl8oOP4rBW2P8oy0kNMwzv1cPzyX20N+MfiWvvXGD3XhX40/r9/9DTn/NaCfHHfrJ8EL5nuyThtWS1r/bf35fz6t/v97RDsqfldOOl8BAAAAAAAAALCgsgo/nP/rN/SNrJfglFZuyNGxjONtWPmInP/+z/RnT2Z2hOvjf693/3Eq4c8fqajQM/8qXfhfntGLb/03/dm/Oa8TT/xHtVlCnx3HDqnGzHR2/B9/pb+aGVHF/3VAmxZwngkAAAAAAAAAAJBWzM3NzS32IvLN9Q/eVdsvg1Lx76v5P1QYdSlX+vVW15gkp37/P/2JnFentL5sh9avlKTrGvn/2vSLgCSt16Zv1uoPKjbpEYIOAAAAAAAAAADuO8IPAAAAAAAAAABQUB5Y7AUAAAAAAAAAAADkEuEHAAAAAAAAAAAoKIQfAAAAAAAAAACgoBB+AAAAAAAAAACAgkL4AQAAAAAAAAAACgrhBwAAAAAAAAAAKCiEHwAAAAAAAAAAoKAQfgAAAAAAAAAAgIJC+AEAAAAAAAAAAAoK4QcAAAAAAAAAACgohB8AAAAAAAAAAKCgEH4AAAAAAAAAAICCQvgBAAAAAAAAAAAKCuEHAAAAAAAAAAAoKIQfAAAAAAAAAACgoBB+AAAAAAAAAACAgkL4AQAAAAAAAAAACgrhBwAAAAAAAAAAKCiEHwAAAAAAAAAAoKAQfgAAAAAAAAAAgIJC+AEAAAAAAAAAAAoK4QcAAAAAAAAAACgohB8AAAAAAAAAAKCgEH4AAAAAAAAAAICCQvgBAAAAAAAAAAAKCuEHAAAAAAAAAAAoKIQfAAAAAAAAAACgoBB+AAAAAAAAAACAgkL4AQAAAAAAAAAACgrhBwAAAAAAAAAAKCiEHwAAAAAAAAAAoKA8mO0Bvrp3T1/cuaMv797Vl3fvam5uLhfrApCnvrZ+vSRp9u7dRV4JAAAAAAAAgELiWLkyZ8fKKvy4c/eubnzxhb746qtcrQcAAAAAAAAAACArGbe9+urePYIPAAAAAAAAAACQdzIOP764c4fgAwAAAAAAAAAA5J2Mw48v6fcPAAAAAAAAAADyEOEHAAAAAAAAAAAoKBmHH3Nzc7lcBwAAAAAAAAAAQE5kHH4AAAAAAAAAAADkowcXewEAYOfk1FX1BD/Txzdv6g6VZjnz0IoVenzNGh10Pqajmzbm/Ph8bsgnC32+AwAAAACA/LViLsP+Vb+5fj3XawGwBHxt/XpJ0uwCzf2ZnJ3VC+Mfa8ea1XrW5VLF+nV6+AGK1HLly3v3NHJ9Ru/6/bpw85be3v24tjgcWR+Xzw35aKHOdwAAAAAAsDAcK1fm7FiEHwDmZaHDjz8a+RfVlxTrO5s3LcjxEfGjT6fUPR3Q31X8TtbH4nNDvsvl+Q4AAAAAABZGLsMPLssFkDdOTl3VjjWr2UC/T76zeZN2rFmtk1NXszoOnxuWglyd7wAAAAAAYGkg/ACQN3qCn+lZl2uxl7GsPOtyqSf4WVbH4HPDUpGL8x0AAAAAACwNhB8A8sbHN2+qYv26xV7GslKxfp0+vnkzq2PwuWGpyMX5DgAAAAAAlgbCDwB5487cHEOy77OHH3hAdzIb/RTG54alIhfnOwAAAAAAWBrYrQKwZA35OuTwjS72MoDFERhQY5dXnYHcHG562CtHV4+GcnO4eRvydejEROr7LfY6AQAAAADA0kD4gYI2ftKt1t5MdwY/1Gl3zONH29TkbtGZYOpHB3tb1ORu03iGzx4+xit9Svp0wT61ult0JhjQmVeyeb1Lz9a1q6RrH6W9+WtsmnYk3zid6JHDdkN5VCe6OtQ47M98wTky5It/DWwIx8rV5+VXZ+8Cfe4TPcb5mFWAd1tNwwOanvfzzudcSfc9mM97bhwz8tr9unRL8ozZrCvh7yQAAAAAAEBiDy72AoCFE5BUpvOn/lpnnm7Vfuf9fe7RX05ImtAHo83aXS4jOGntS/3QXc168/VaZbLc8hfekd5+Tq16Ry11xRkcYWkpqXxCnskRdX/qV2OxdeC2X529/Wqajb5//ZYDmm1wSfJrOjCqE4Mj8iQ4dtNgh5rsfjDZL8dk7I1O+fau01uDF9Vte7RUP4+5b8NBVVlfh7brSl21SszbLt2S5FinrdaHbX5C7YER1XR1SA7r/fNEYECNab3+5Dx7Dut4WTrP59S+LavkmezXiXVpPsb2OEFdltQ92S/HjQrN1pQnubP9eSetUvtetxqLY+57wYw1r01pSOXmZz4PxdX6/ha/uicv6tREddqvcUiSR0HjXClK/pqmh70qnbwtyan2zTZ3mOiRY+yGzeubL5ca6yp0uWtENb5Ry5rM98mxXfsK/ysNAAAAAADkEOEHlrY0A4XTx9w6neiHWYQNidf1c53+pFYvt0hvtLbo6z9o1f7yZrV7my13+lCn3a9JLV4dSrafmrZiOZ3S/te92p+Lw+WlUZ3osgksogIJp3wNFcZ/JgwBXCopdul4Q7mOx/4o4Wau8dznthxQZ6Ur9lGSpM6GauM/zI3+p2I26jsbqjXk61DNreh1GRvMay2hR2gtI2qalTx7rK8hqMuzkoo2RL2ukuJyNdaVq9F87ueHdyZc52KKCy+y2jxPcD7EPudYhzxjdj9Zpfa9T+hykhAsyrURObpG7H9mnmuNdYfVaLk59Nlui31t4c+2Qhob0VvDfpvPK1GYEi/xa5SiAzWpquygqsqk4xM9coyN6MREuX1wMtGj0snbSQKn+QUTdud+tHId3zMlj3VNgfPqnpWkiyrtumi5720jvEnyOgEAAAAAwPJG+IGlzS5QOCkdOvqk/f2DAQWdxbkNOmyMv98nHXhVu8uf1JtHWvTS230qjw1YRod0RrV6Od3gI0XQcz4m4Nl5pBCrP8p1vMGprb0DUmXMZvlEjxwX1pkbq35dmu+hJwbU+Wh11MZ1xn47o26tUv2j2RwksrF8xLrxHPhc5yTVr01wFhdXR0KYvBeqfnDGhwPzUJ8kkEptVCeyPIaxqR/6kxFYdBcnO96oTowFpaIKHS8rlzQlx1iSCpUU1RnJGOFLgh+WHdRssmqRVD9PFEzEVkeZwVBayirUfmFA3TOjkso1NH5R3Y40w0IAAAAAAAALwg8UltEhnenv0xm9qva4ACSgM28/p9Oyr/QYP+nWG7aPSy7Y26KXflkdOWawTz/tL9OhHxjHcdZ9T4d++Zz+prciKowIXr0k7arWY+k+UVzQE/KhTrs7jeqS+9raa/FsWy3VDPZoW3jz09xMdkiXA1JJJhUEYxfl0Yy2NcRu+IauvnfK13A4vlLExpA/B216El7xbrJtv2Unj6+GD73Gok3pry9BVU3ORIVoVmaVScogwqjMeWqdEXxcvnFbcrgsLcr86uwdkcexXVdCxyk7qCszXpWOebX10WzbRyU25OtQzbVU97KrqIhmBEVS53BsMJG8OupyWqt0qbHObYSQgQG9dS228gkAAAAAACA9hB8oLOXNav/BJrUe69SZP4wOA4K9f220ovLat7h6bGOZdGpI40ef1O60n9Cc7bGtMXzM8Z+16fyBV/XHP3OrdaNRfbH/hWa99/aIxjWgN05NWB4/oZfcbZY/1+plb7Me623RS+H7mfdJ2p5rQr/2Swte0pIXXKqqqVZ7b7/ZKkiRzeQM51xMD38kj1apfa9NSGBu0NdvqUhzg35UZ69J9Vt2Zrdha1vBYTcDZKnyG5vnUvJ2UmFmiFNcrReLLqrmwoCOlG3IwTrKdbzBEmaUHZTP36HSLn/arbiqag4rjc5UkqQhXyhIi/78Sird8t3oiAn1XGYbLWM4eDrtr6I55Wtwa7bS/GOidQYG1Dg4o/otN9SUbkVFYEDds6vUvncBz8MlVcUEAAAAAADyDeEHCo+zVi3e2ujbgn36m1MT2t/SmjDYcNY1av+p1/TT3m+n3y4qOKL3PpH2/6lZLTLapjf6a/Wy90ntDjZLx0LD1mvV8roU7B1IHGKMtqmpNbSWVrXXxVaVBHTmFbdOf2J5zK5mvfn6xugl9bbopVPb9LK3eR4hztIQd+V6VPVDpEKifkuF6tM9aGBAz5tzDYyNbvMKf8d2XanbqbOhDfqElRYxlRUTU0aQsnkB5m3YzgBZosKvxVrBkXquiiRVuZzSmF9nA5bwY6JHjrFg+s+fJCyrqjms2YkeOQY71B2zloTtxkICn+tcuOWZOZxexn9HKojsw4WqmsO6MuxVaVdHzPviipolEvo9iG/V5Ven77z21aR/fhjHMta0ddgrSTpruS1hCFJcrc6GNJ8kpZjZLeZnczlppUqiCpU8rnQCAAAAAAD3FeEHCkBAZ155LjoUSOB8q1tnYm6LzMZ4Uk8fkM78ckTBuvQGoI//rE3ndzXru+aF4+Pv92nnkXeM0MFZq+8eGdBLP/tQ+21baWU28Dy0XiMYif2pWYlyoLHggg9pPlfY+9XZK2k2Qcsoydxg3aBTgxfVXVShTnOjecg3YoQXldUqmeix2aCPsGsjNOQ3NuCbBjvUZN6WeGD0/ISOnXy4tSmLSpiFZ515YbnZnGcSahmVUNkmecZG1P3p53oqfFuK+RSSJSAxP9/YNVmDl7KDmn10QI2DA+rcnGUrqtUbpOEBo2KnYYNOdXWoJtF9Hdt1Zc+MSsc6JMWeN6EAZZV9VUrgvLqvXVRTOlUrofeiqEKzZuXLtCTJmMEiBS3hQnygkLSFll1QWFQhX8LFGNU3x8OVTYb5VNQAAAAAAADEIvxAwcjFgO/dv1cr9Q9oNFibxvyMD/VBv7TzSEU4KNl91KsWyz2cda1qz2pF6SjW13dJ710NSK4RvfdJmQ69ML+5JUtWqvkPlgDAbkjy9LDXuNo8pu2SZ49bjcWjOjFoM3A8xXresl6RH95sj7my3XaOh+VKdru5EqH5B1u269zkjF5MdHW7+Z50r96Qp8GHzOoYp3yxrzHtQfGhVlWjOpHW3BPLZn2iUCjg1JGGAzrb2y9HVyiwslQ3mMFMSr+dUbcUV3lUUukOb+QbG/3JxQU51rCizj4tHRo3q5R0W02DHbps83sRCS2MGTbx55BT+2oOWtZnnLux56Z9MJG8cmfIl6q1GQAAAAAAQO4QfgBW5VXarz6d/tmH2n80xX1Hh3RGZTr0tCVwCfap9VibztvcfX+LV9/K5VrDivX1bdL5qwGNXzUrUZbF7I80pAgASiot8xAsm8vHy0IVIJJnR7U0PKChymr7sMGxLjzMOrT5HN9yK+bK9tXR4YZdMBPLOLZTL1bu1NZAv85OSFV21SjjF9WtVWrfPY9yovtseuaGkg3WtlbNRMukpZEleEo2rLzYpRLJbC81qhNdHWqcsWzim6GGJ1VViqRQ+BB+DbMjcvgU89x281sSzHQJDKgx1NIr2XwUaxXHsFelYx3y+M3XHArFkryHUb8PYeWWsMZ4Lx29n9/HqqLY4DAR2l0BAAAAAIBohB8oGKUbs6v6MDypbx0p05lTQxo/mmwbLaAzP+6TDrwaXSGSYN5I67EpPV0u6Wr2Kzx/6jk1nTL/sMsyDPhSp376ibS/Jb2WXUtSgrkO3VFtoJzyNVTM88BmGybHdl2pKZfk19bdFfKMS8cfHVDj2EV1B5R8w9eszFgQoaqPPcbmbtUOpxxjPdpXFrPZG1pD0RPZtWlaYLab7ObmvFLM+4iIbIonnu/iV2evGWLNq/VYzBB0hQKbVdqaqirFpv3WkM9scxXzGvcVr5ImZ3RZMs+roC7PSvVbdkafZwkHfycIS2S8x1fk1Sk5NS2pJI3h4UYIpyQts8qjq1bCgUqM2LZXZrVNNuLnm8SvGwAAAAAAwIrwAwUgoF+nMe8jXc6nq7Xz1IB+HUwSfvhjBp0nMf6zNsmcAxK1bR+8qisq0zPznIttN/PjsY1lUv9E1PyRghS7sZyw7ZVfl9I+aGiD3ClfeAPZpZJil46bG8Cde6XGwYsq9W1IWDkw/alf3UVOea4Fk7RHMje3i+cTT/nVORw9l0RlB+Xzd6imd8Cy6T2qE6Er+xNVN+St0NoV3jhPFlaEK2X2bte5wYupZ4Qka102z0HpiatS0ghYineq3nFRTYHzmpZLJZtdqp+8GKnimZgy5s1snueXQgIllW5L+6rQvJDUj0v2GiXFVdBEXnd826shX4dqbtkfBgAAAAAAYCERfgCxwtUbH+p0ovu4bCo8QoJ9an1b+u7rtXKOtumN/lq97I2/jDr4wYDO76pOq0XV6Em3TutVtb/u1f7QMuta1V5n/mHjNknSoReMqo9gb4teutqodttB60tcYECNg37V73WrMXyjX529A1Jl6Ir1dEMG6wDpCl3q7VCNuTkctZFdXK3vb/Gre3JEjcNO2yvQjZkOozrRlWQjfWLKqEJIq3WSYXp4QE2zTvli5jxU1VTI0zViBjJOM8BZpfa9S6z1T7h6IDLEe8jXoRqzmic+UBjVqYBLVxqMgfTdUmToeSbSGJQempORdvWItSKiaLvab0laLUmhag+/zgakxuINekrSuRm/JJcx0N6xXfuivi7SCS3sZsiYwjNOXGZLrzTWnGguCgAAAAAAwBJC+IGlb3RIZ1Srl/PmYvcKPbPtOb30ypT2q087zaoPyRpYfKjTpyYkTegld5v2t3h1qLxZ7V7LYUbb9JJ5n/e++Y7aLcPcx0+69Ua/8d/7jzTryqk+SdKv/ZKc0mdXJxb8VS6W0EyL+FZHt9U0PKB9ddUqSfcK+sB5dc+ajx0031DLJrxVSaVbvhs9urQ5dItfl+Z5RbvROsmpfem2X5roUenkbXn2uG0CjXId3/u5zg2OyNFl3GIMap/fmhaPZZZDzGZ7aJh2eG7FmPUzKddxM/RLuxVVFqaHveaAcMljnaFhJxQgOLbrSsNhdUoywouLql9rBHGhao/uT/1qLHZqq0PyBM5rWkGdvWbT8ippaJG47dV8hWbK+Bo26WzXiJ4f3plm+7H02Q9JT093bCutOGszPDIAAAAAAChUhB9Y8sbf75N2NeuxxV5IiLNY+4++I73ynE5/UquXX4/djf5Qp92v6cyBV9V+9EmjSqPVHf6zZIYbl5r1ptdrzu/4UKfdz+mMeYT9LV61H40c6/yBV/WyXtMb73+oQ+XGMXbmZAZKngnPvjA3wgOhH7jUWFehy10jOjVRrX22V9DbSGMOglVVTTZVFaM6NXlbKnoivWOY7ZiSVRuEBqyHhCoI8l2okiLpAHJFZoNMD3tVOtihyzHvxeUbt9P7nLNcZ3jexESPHGPGwHHbGRTpnE9Rra+qI3M/JmZy2vJqXiZ6zNdZoSq5VLVnSo6xfp1YN585KQuLmR8AAAAAAGC+CD+wtAX79NP+7Id8Wysp4lgHjJtOH3PHt8SyhBdSsfa//qp+t1AibQAAIABJREFU7X5NP+39tlrMqo1gb4teOjWhnUcilRzOula1P92n1mOvqelSs958vVa7j3rVHnXwJ3XI69Uh603BPrUea9P58PO+qv3uTp35w+9Jl6TS3yu88MOYq2GZfRGlXEe2fKRSf49kewV9esIb83LK15As7DBaa6loQ9zz2F2lPj38kdHyypVGiVJgQI1Jgg9js/e2JEsrpokeOcb65Qjkf8ui+VYA2A5I16jOXpPt+5+tyPsbUwUUapEVeq9TzCaxF1PJUenWbKVRwaGiivtfuROaeVJUEQkXyg7qyoxRdSNlEoAEo1p1efbYnY+xrems7b1CbcEku+HzsezPDwAAAAAAsNwRfmBJG/+ZsfnfkmXLq91HQ5UUufSkDv2gWa3Hfq7xuip94H5NZ3Y1601va3xQ46xVi7dCZ155Ti+d3JjWrI7Qa4/c90kdatmmpmPPSXnVBix3jLkaFr+diZr5UFLpls/XoRrHdl1Jp2VPkmHXnj2W4GOiRw7/pkiVgmU+gl2YEXeVemBAjWO3paKK9DaSbSsI/DEbyjGb0ubG/PSwV6VdHUod3iwOjznLI1ORKoyp9MOk1ekEJJY2XFql9r2HEwcR1vd6rEOesSTvtdlaLelQdvM+nh3Rr8UaciWXZOZHSFyVTeR8squqKKl0a3ZdjxxjHfJcSBCoJax0cdq36or7fXPKV+myrMV8Hyd65BjsUFOKyiAAAAAAAIBkVszNzc1l8sDfXL+e67UAWAK+tn69JGn27t2cH7tsYFCTv//vUtzLukmt6HkR1mHoMRvXxkby2uhN6sCATny6U8dTBSXWYdAWdsO4T3SN6FzUZnJovYk3yG3XZhGuRpnHIOrIxnnqEGTLL/6HJqr3pnFUe+l9brmUaNaF3XBw+xkuIbZVNPMUarsUNbD9muUORRWarVH0eZvKQg0djzqX0wvI0q+GymZNM3ox6tjpDHq3s/DnOwAAAAAAWDiOlStzdizCDwDzsvjhxxIT8KtzfEDanWoDPnH4sdCWXPiRJORCApbQI9n8jGQStgNbYgg/AAAAAADIX7kMP2h7BSBvPLRihb68d08PP/DAYi8ld4pdaix2J73LYs4s+PLePT20YkVWx7jvn1txtTob7s9TFYx0hrGnUAizNXJxvgMAAAAAgKWhgHYYASx1j69Zo5HrM4u9jGVl5PqMHl+zJqtj8LlhqcjF+Q4AAAAAAJYGwg8AeeOg8zG96/cv9jKWlXf9fh10PpbVMfjcsFTk4nwHAAAAAABLA+EHgLxxdNNGXbh5Sz/6dGqxl7Is/OjTKV24eUtHN23M6jh8blgKcnW+AwAAAACApYGB5wDmZSEHnkvS5OysXhj/WDvWrNazLpcq1q8rrBkgi+zLe/c0cn1G7/r9unDzlt7e/bi2OBxZH5fPDflooc53AAAAAACwMHI58JzwA8C8LHT4EXJy6qp6gp/p45s3dSezrynYeGjFCj2+Zo0OOh9bkCvg+dyQTxb6fAcAAAAAALlF+AFg0dyv8AMAAAAAAADA8pLL8CPjniQrVqzI2SIAAAAAAAAAAAByJePw4+EcJjAAAAAAAAAAAAC5QvgBAAAAAAAAAAAKSsbhxyMPPaRHHnwwl2sBAAAAAAAAAADIWsbhx4MPPKC1jzxCAAIAAAAAAAAAAPJKVsnFQytXap3DoYfv3NGXd+/qy7t3NTc3l6u1AQAAAAAAAAAAzNuKOdIKAAAAAAAAAABQQDJuewUAAAAAAAAAAJCPsh7Y8dW9e/qCtlfAsvG19eslSbN37y7ySgAAAAAAAAAUEsfKlTk7Vlbhx527d3Xjiy/0xVdf5Wo9AAAAAAAAAAAAWcm47dVX9+4RfAAAAAAAAAAAgLyTcfjxxZ07BB8AAAAAAAAAACDvZBx+fEm/fwAAAAAAAAAAkIcIPwAAAAAAAAAAQEHJOPyYm5vL5ToAAAAAAAAAAABy4sHFXgAA2Dk5dVU9wc/08c2bukPYmjMPrVihx9es0UHnYzq6aeNiLwcAAAAAAABYECvmMizh+M3167leC4Al4Gvr10uSZheo9d3k7KxeGP9YO9as1rMulyrWr9PDD2RcpIYYX967p5HrM3rX79eFm7f09u7HtcXhWOxlAQAAAAAAAHKsXJmzYxF+AJiXhQ4//mjkX1RfUqzvbN60IMdHxI8+nVL3dEB/V/E7i70UAAAAAAAAIKfhB5dTA8gbJ6euasea1QQf98l3Nm/SjjWrdXLq6mIvBQAAAAAAAMgpwg8AeaMn+JmedbkWexnLyrMul3qCny32MgAAAAAAAICcIvwAkDc+vnlTFevXLfYylpWK9ev08c2bi70MAAAAAAAAIKcIPwDkjTtzcww3v88efuAB3cls9BMAAAAAAACQt9hlBFBQpoe9cnR16MTEYq8EAAAAAAAAwGIh/ACwZBlBh1edgVwdq0dDMbcP+Tpsb0/Mr87eDjl8oxk9X9omeqJDnsCAGnsHNJ3p8QAAAAAAAIACQvgBLIRgn1rdLToTTHSHgM684lZrb2a79uMn3Wo6+aHludo0ntGRljK/zgZuSw6X9hUv1HOM6uw1SUWbVLVQT5EjQ+MX1T17UaU5CoMAAAAAAACApezBxV4AkDPBPrUeG9AzP2jVfmfMz0bb1NQqvext1u4khxg/6dYb/fN/6p1H3lFL3YLtwCcV9G/UMwfa9Ia7b1HXcd9NjKhpVvLsqVZJpscIDKhx8KKe2nNYR2yfY0oerVL77vLM13mfVNUc1qz5epoGO3R5z2EdL1vsVQEAAAAAAACLg/ADBSP4wYDO76rWd2ODj/k68Krajz4ZfVvC8CSgM688p/eyfMpsOMuf1P5yr/b/XpuaWv9aZ562CX8Kjl+dF4yyGs9Yhzxj8fdIdLskqahCszXl0m9n1K1Vqn9U0kzi52ga7FBTktXUbzmgzkpXwp9PD3tVOnnb5ie3VdPVMe/jJVRcrc6GDTrR+7mOEHwAAAAAAABgGSP8QIEIaPSXE9r5zWr9g9utMwnu9Ya7L/5Gu7Aj10bb1NRq89yfPKemU9E3ZVy9Ud6sdm9my1tqpocH1DTrlK/hYFw7qlDQ4Emj8mF65oak22oaDAUQZhjh2K4rO2Yiz2GpEDleNqoTXSM6t+WAOjefN25f54oPOGZH5OgaMY5V59Zspd0619q+htDckKbZ1O9FwvCn66LxH47tulKXRXUMAAAAAAAAsAQRfqAwjP5cpz+p1cuv12p3Xa0Oxf08vbZX2Qr2tuilUxPhP58/5tZp1eplb7Pavc2We5oVI99MEHQkCkuivKamJC269rd4dSj/uzXNX2BAz0/eVv2W6izncBgzQ0JVFtFhhF+dvf2q33LAeA5rhUjgc52T9NQ6l6Tz4aOVVIYCDuOxTavN6pKMuNRYd1iNCX9uBDAeSZJ9CAQAAAAAAAAsZ4QfKAjj7/dJB15d0GAjHc66VrXXKfn8kXSUx4YlFpZgpGADjoRGdWLworqLKjSbSVsoq8B5dc+uUv1mm+NMjBhVH+ZzGBUia7WtWNKEJQhZJNPDH0lFTulaUJ4i6a1hf2ZtsgAAAAAAAIACRfiBpS/Yp5/2SzoQ+XPrsTbLNfkRcW2v7Fpe9SeuqLBtmyVp5zfns+BsfKjTP96kQwek06qVftynYHmtCn7Eh2l6+CN5HNt1JeOKihgOl/bZFN4M+YORqg+zQkRFT6hKmQUhQ74O1Vyz+0n8zI+U7boCA3o+4NL3d8zIc02Sa5OeGhvRUKWL6g8AAAAAAADARPiBJS6gM2/bBR1lOmStuhhtU9OPN+nN1yNBwfhJt96wO+QCDDyPbYcVFjPzI9W8j/GTr0l/6tXX32+TVKVvfbNT/zBau2yqP0oq3UpjDEZ6iqvVWWf/o6qaw+oM/SFwXt2zkmeH8SZfvhEJQpK69ZEau0aMKpWaw5qd6JFj7Iba97rVaBe4+DpUc82pfUnnlPjVOXxRT+04rBL1mLeV6/ieKTl8o1m02QIAAAAAAAAKC+EHlrbRn+u0mnXoQJtOL/ZarPxTOq8Jy8yPVrU/naQV1mibmlov6Zmnkww6H23TG5ea9eZR6bP3jZucdY2Su03jCzzLJO9M9MgxFkx6l0SDwJPPyAhGBp6bQ8KnP/WrW069WCZJozp7TarfkqDWxhyM3i1JDpe+31AdCVHKNskzNqKm8VE1FseGFKHjViQNVYZ85iyRMknWLK2sQu0X+nViojzlkHcAAAAAAABgOSD8wJI2/v4lHXqhWV//WVvMTyZ0+pg7LhB5yR1zvwPKqfGTbr0RbpkVU33irNAzu9r03gcB7Y+q7gjozI+NmSWJ54N8qNOtl3ToB81ySvosfPuTOtQypKaTH8ZXqxSysoNGAGDDGFx+O3X7qJCYICXqceZwdc8etxFKTEzJo1Vq3xw/C2TI16GaW9t1peGA6nv71bR6g0qinqhcR7Z8JM/klIZUHhVyDPlG5FFkxkiiddZcc8rXYFfd4VJj5XY1DvZoqIzh5wAAAAAAAADhB5a03UdbtVvSuPVGZ61avLXRd7RpW5Ww7VVW6/Gq/ajCA8+jFWv/n9bqdOvPNV5nqdQY/blOf1KmQy8kCi8COvPKa7py5B0dsgtHypv18vtutfYmb5mFGOEqjVVq33tY+z71qnRyraXtVGS4emeZJPnVeSEoFVXYtq2qqjlstuTyJ3zKkson5JkcUY21RdVEj2quSZ49SUILS8ushPcprtb3t3hV2jsQrloBAAAAAAAAlivCDxSmmLAjePWStKtaj1nusvuoV+1RDwro15ckfbKAA8/Lv61Du57TGyerjEqNYJ9aW/u088g7Cao+jJkip7e9qvYkwcbuo6+q1P2cTm/0Lpv5H1krrlZnQ3X4j9OfWn84qhNdI1HD1aeHB9Q0u0rtldm8waHqjxGjRdWjA2ocM4arJ6xSCRj38ew5bBu6WJVUuuXzdai0VwQgAAAAAAAAWNYIP1CQgq4qHdr1mt5w92nnkWaVnprQziPfU8KuUpKkgH79SYKh41kOPI8o1v4XmvXesdfUurFZpafapIRDzs3gQ816M2VLqyd16AfNaj3m1ukWApBsDfnM4CMUIEz0hFtpWQOIyzduSw6Xts7j2CWVbvludKhmrEMeSSqq0GyidldmS66k4UiMqprDBCAAAAAAAABY9h5Y7AUAC8HpfFL7X/eqvaVW50+16Yxq9cepWkIFr+qKpNKNC9w6ylmrlpTr+lCn3Wbw8XptitDGctwfNOtKq1tNJz/M8aKXl6qaw5q1BB/zDSBSHt9l+URvfa5pm/tMD3vDz9uZbBaI3fFrDsu3+qJKu7zqDGS3VgAAAAAAAGApIvxAgQrozCtuNbWG2lT16Q23W01ut5pe6VPQ5hHjP2vTedXq6QWumhg/aaxrf8s7OrTLWNfp0dj7vKYzB15Ve7rBR4izVi3eV7W//zUCkBxIGkAEBvTWNam+eOc8qiv86uztMOd3HNbs3u2qn7UJKcKD1g/PO/gIqao5LF/RbTUNEoAAAAAAAABg+aHtFQrLaFs48Njf4lW7TZAxftKtl9xtkRsOvKr2P7yqn/ZLO498O6atVe4Ee1v00qkJ4/m8Zhurcq/2j7apqdWtMyrToR+0ar/Tbh7JfDypQ16vDuVo3flketir0snbad3XM9Yhz1iSOxRVRIaO25noUemk1L431OrKnAMSe4y4cCKoy7NSfbE1too8tn7LActjjLkjQ74O1Qx2qElO+RoOqipmHkmmIkPYAQAAAAAAgOWF8AMFIRIWPKl2b3Pq+x6NuXF0SOd3NevNVK2xJGNI+bE2nQ/fUKuXXzcfZwlfdOBVtTgtt1lDD6vyZmPNo21qOubW6QOvGsPQEaek0q3Zyvv0ZGUHNRvV5qpcxxvKdTzR/c32WIZVat9sBBxDvg7VXJM8ew7HHC8iFFIM+TpU09WROpgBAAAAAAAAkNSKubm5uUwe+Jvr13O9FgBLwNfWr5ckzd69m/Njlw0MavL3/13Oj4vktvzif2iieu9iLwMAAAAAAADLnGPlypwdi5kfAPLGQytW6Mt79xZ7GcvKl/fu6aEVKxZ7GQAAAAAAAEBOEX4AyBuPr1mjkeszi72MZWXk+oweX7NmsZcBAAAAAAAA5BThB4C8cdD5mN71+xd7GcvKu36/DjofW+xlAAAAAAAAADlF+AEgbxzdtFEXbt7Sjz6dWuylLAs/+nRKF27e0tFNGxd7KQAAAAAAAEBOPbjYCwAAq7d3P64Xxj/W/7xxQ8+6XKpYv04PP0BOmytf3runkeszetfv14Wbt/T27scXe0kAAAAAAABAzq2Ym5uby+SBv7l+PddrAbAEfG39eknS7N27C/o8J6euqif4mT6+eVN3Mvuago2HVqzQ42vW6KDzMSo+AAAAAAAAkFccK1fm7FiEHwDm5X6FHwAAAAAAAACWl1yGH/SSAQAAAAAAAAAABSXj8GPFihW5XAcAAAAAAAAAAEBOZBx+PJzD8hMAAAAAAAAAAIBcIfwAAAAAAAAAAAAFJePw45GHHtIjDz6Yy7UAAAAAAAAAAABkLePw48EHHtDaRx4hAAEAAAAAAAAAAHklq+TioZUrtc7h0MN37ujLu3f15d27mpuby9XaAAAAAAAAAAAA5m3FXI7SitBBVuTiYAAAAAAAAAAAABnKumfV3Xv3NPvVV/riq6/05Vdf5WJNAPLY19avlyTN3r27yCsBAAAAAAAAUEgcK1fm7FhZhR9ffvWVbn75pb4g9AAAAAAAAAAAAHki4/Dj7r17uvHll1R7AAAAAAAAAACAvPJApg+cvXOH4AMAAAAAAAAAAOSdjMOPL+j3DwAAAAAAAAAA8lBG4cfc3Jzu3ruX67UAAAAAAAAAAABkLaPwY8WKFYQfAAAAAAAAAAAgL2Xc9goAAAAAAAAAACAfPbjYCwAAOyenrqon+Jk+vnlTd+bmFns58/LQihV6fM0aHXQ+pqObNub8+Lw3iS3l9waZ4ZwC58DSxOcGaeHPAwAAACxvK+bmMvvXwG+uX8/1WgAsAV9bv16SNHv37oIcf3J2Vi+Mf6wda1brWZdLFevX6eEHllaR2pf37mnk+oze9ft14eYtvb37cW1xOLI+Lu9NYoXw3iAznFPgHFia+NwgLdx5AAAAgKXLsXJlzo5F+AFgXhY6/PijkX9RfUmxvrN504Ic/3770adT6p4O6O8qfifrY/HeJFZo7w0ywzkFzoGlic8NUm7PAwAAACxduQw/Vno8Hk8mD7zxxRc5WwSApWPtI49Ikr5agBYSJ6eu6t4K6T/v2J7zYy+Wyg3r9U+ff67J27P6XTM4ygTvTWKF+N4gM5xT4BxYmvjcIOXuPAAAAMDS9mAOK7epAQeQN3qCn+lZl2uxl5Fzz7pc6gl+ltUxeG8SK9T3BpnhnALnwNLE5wYpN+cBAAAAEEL4ASBvfHzzpirWr1vsZeRcxfp1+vjmzayOwXuTWKG+N8gM5xQ4B5YmPjdIuTkPAAAAgBDCDwB5487cXEEOJX34gQd0J8s2Ybw3iRXqe4PMcE6Bc2Bp4nODlJvzAAAAAAjhXwcobKNtanqlT8HFXgcKyvSwV46uHg0t9kKAhPzq7O2Qwzea9OcnJrJ9nlGd6Er2PPMzPezN2bEKxkSPHF3JPivjM2gc9t/PVUUxvhO96gzk4mijOpGzYwGLyfwezuT/LwQG1NjVIUfvgKZT3Ce7332+wwEAAFDYCD9Q0IKSdn7Spn+43/8OC/ap1d2iM6QuS4qxgddh/C/ZhkNByH7DNLcbnvffkC/DTak0TA97c34OGeu1+5/NZzAxoqZZyeMqT3C0oC7PSp6xLD+/gFP7tqySro3kIEgxXRtZ1I38jJibkNHvgbnxmdZ54Fdnr91n4VfnhaDk2K4jZfNdVKoAzJCTMHezSx7dVtNwDs75gCTHbTUNLoWAOb0QcciX483lXHxvTfQQ4tvKVTAsKXBe3bOSijapap4PHRq/qG455aurVkmK+7xYmcWME77DAQAAUOAeXOwFAAvJWf5tPbOrT6d/3KdvldfKmeL+4yfdeqN//s+z88g7aqkrTnyH0TY1tfalOEqtXvY2a7fllmBvi146Nb9/jaZcS4GYHvaqdPL2vB5Tv+WAOsObBH519varadZyB8d2XWmI3miYHvaq9MYTmq1JtImcRyZ65BiLTdxWqX2vW40LcUpsdskzeVFNwwPal2SDJh9ND3tVc02q31Ix702ptKxbq/rJi3p+eKflnEsgMKDGwYvqTnFIz57Dmq1J58nT2TAv1/E9U/KMBdU0PqrG4uTn95CvQzXXUqxvrEOesQQ/23NYx821pPO72z3ZL8dkop8u4DmdofAmZNKAYlQnukZ0Lup7yBQI6rJuyzPYo20NB1Wl2Pf8okq7Lhr/6diuK1n9vhnr8BRVzO97LZ3zdNayzlhR6zbXkPQJg6rp6kj84/mufyGYm9vdYx3y+BOsZ6LH+K4pkqal7L8nze/dmt6BrM6D6UfXyaP5Hyed74I4+fBZpSsQ1GVJnrEe7Ss7mNXfD8b3wiq1757naw8M6K1rUrLfAc+W7TqX9D7R35N8hwMAAGC5IvxAAQjozCvP6fQnye7TppfcbbY/2d/i1SHrv0sPvKr2o09G32m0TU2tigsnQs/9Xqolljer3dscf3uwT63H2nRe0v6W2GObdjXrzddTBzdpr6WgOOVrSGdzwtx0jLrNpca6w2qUFA5C7B662SXP4IgcPi2ZzZvwJsVEjxxjN7I6VlohU7INz7Q/o/tooif8mpJu0KTaZLYNm2Ik3QAy35vianU2VMf/OLzZPM+NolDVxx5z7ak2ra+NyNE1En2b3WvPetPdKg/Pi4yN6mw6QVrAqSN7t+v5wX45JmNef3G5jtdJ6hoJb0ZLinvPh3wdqrmV5XInpuRRsqqg5KyboNmqtwuClhLzd9fYWB6Ro2sq5rwe1YmxoFRUoU7L3x9Dvg69tTbxa8/6e7dop9pvnY8O9zM5jinuM0/7uyDJ3635yvq76BtN++/9xJ/ZbTUNdiR9D6LfX786h82qj4aDUoJzZcjXYQaYTnX29qu7OI3fJb7DAQAAsAwRfqBw2IUWeSxS1RFf8RHlk8TBjZ2d38zF6paKJFdF5miDrqS4WscbNkhdI3L0fh7ZlFxWCmiTwwwsEm+6hiqCVqm9Mp1NooW5gjW0kVa/5YBmbdeZqIrA3Gy1Vn3EhiuhMCTF1dhDvg6V3tqe4JwPbWqmu5lmrFd7DutIyvsuLdPDH8kjp3xxn5NL21ZLCoUVxS6VyBXZLO/qifm9MqtxLszoci5byV2LfHeVSJqeuSHJqX3pfD+a58pTew7r+KM2Pzd/n9L9vp0e9qo04NKVug3zew15rqrmsGYnetQ4s0lbA5LCV9uPGOdG1O+ZX1vXOtU9OaDOzcm+O7L93t1rhvuR5+30nde+msS/r9MBv0qKl3AYlTPlOrLlI3kmR3Rionwe/1/C+pnFf0cb3+trI/cxf7+spocHzPD6oKo0qiE51T3ZrxPrjN+xSAXHKrXvLZfk17bVq6LuE2KEpXyHAwAAYHkj/EBhC/ap9diAnvlBq/anLp3I/uli2lSdP+bWacVWl0QqVdJqUUXlRxI2m0PpXI0/b+U63iCpa0SnJqqX5j/8E70vcZUJTvkaNulsik2OyAbMEgpGUm3Uhiskkr+m6eEend18MGZjMVcsLYka7IIJa7u2VfIoqGm5whtXxkZ8JLiJ22yTpZe8ZUN2etir51UdFaRUuZzSmF9nA9K22GWY7X7qt+xM8yricu0rGlGNf1RH1oaOkV67rzg5vXo5W6M6NXlbKnoi8e/A7IwuK7rdUVXNYdlelF92ULPmuTk0Lvur8h0zOtXbIU/sAczfZc+ew9rn71CNtqtdkoqc8lwLtWALGuvV7ZjgOPbPkrG5Wq16x0U1+Udtw48hf1BpBymSSja7VD/p19lAJPzIqI2ScluBkqmo35uyg+qM+VnNtVVq3xv7XeJSSaVLvhsdqrG0DEy+UZ2LtQ6o6dptqWsmwffbqE4NjsiTV79f90kohLAEFSWV1WoP9KvpwoCOlN2v98P4Pomc2+WqqinXlWGvSv2jOl5WbnwvXwvKsycUnLlUVVOt9t4Bdc+MSop8r/MdDgAAABB+oMAY4cO2SCWFc6NKNaH3PghovyVkMO4nHcpxKOKsa1V7nRKHLuHZH2XpPzeVHwvErud8sr765TpubkZPD9+3ReaYtUoh0VWpku0mh2I2Ka2b88kCpzzp9W5de7K+5ob4iqLIZtSoTk0GdU5+Na6zeWiK8C1Zm5+otil2rahSHSfUzquowviMAwN6fvK2VOQKX40emnViXFUccfnGbXVfi7lyuGyTPGMjahoflS92rZ/6jXZcm9O/Snzr2lXS5JTOhs6pRO2+ZB/a5CMjbEps69pV0rXksyuSbuLbtr1apyN1B3U8fKfY32W/Oi9I9cUbzKqTTTqy5YZKJwfUqbVGJYLlfU31Xk8Xr5ImP1Lnb2M/a6Pd17yGORdv0FO6qO5PP9dT5k0Jg6BkM1LygrFR3a1+OQIxf1+Yv4uePYcTVnZU1VTI0zUSngtUtXu76gcvLljAXlLp1myl8Z6+NeyPeU/96uw1q1TYlDa51LjDqSazEqvE/E5tHPSrfsHmVUT+f4ZVSaU78jtSVqH2C7GhjEuNde74QJ7vcAAAAIDwA4XF+XS1dp4a0K+D0m6nJBXr67ukM1ctfSgU0OgvJ6RdzSq3Cx/6X1NTgqHnb7jth5anEziEh6nPoz1XOEyxCs0JWWJtvnIjdki53dXKBtsN7nCVg7H5d7yh3NxANIMQm43G55P0Zc9X0a99VUbHiNvkCLG7YrPsoGbLbDZg86TXuxF8rFL7lrVqmrxh06YqySZrXJhhtEMpnRzR0J5Ez2jXCstu7kzsGkN/iqk8sa4h2RWzj65TvYLqjgpOnPL84UtbAAAgAElEQVTVRGZ/PG+GI7Gb7aGN2Oghv0YI5rn1uS6tjn4tp8yQJlUve+trMa76v6juQGbnZN4JvZ+WPye8CjrZ5zbRI0dX6BzLQSWVeUX3U+ucktk+q6TyCXlufC4FLkpFKWaTxAh9bpdnom8PBz8pgjrJGtaZ51TAP48V5Ctjo/rIsFelkxdV2uVX+1639n0aCTGTB61O+RoqpK5Q+6ud4SqbSOgc+3deaskrYuw3141WS3ZVKgmkMSckyurUd7nvrNUemxPcx1KJJYUCg9vqtlTs5Fza1avJPwPjPOA7HAAAACD8QGGJq/QoVvk3y6RTQxo/+qRRDRIc0XufSDuPVNi3klqIgefBPv00FKgkCVci8z8+1Gn3azqT7JhJjzOPypKlKItqgkh1g4U5ADiaX1td26WxfjVqaQUguRh4XrJuraRgwk2O+N7ln+ucpKfWhd6noC7PSvXFi38Shq8sn+ix3+SJW3tyoQ2gs/7412bMU1irbQmuCu6eHNFQpStugzHR1e+27cUmeuS4sC5+M91yFW7oPA9vZoY25h3bdcX2d8fcJLsWjBryG1rXkC+yyRaecWFtpWVp2ZNwQ9Bc3/SwV90Jh8AbLt+4LTlc2pr8botqaPyiuh1OeRQ0vj/sroIOtVrbkeR9MTdYbb+bbNteSWd9HWpSgu/B386oW6tUH9WmqlzHXT1yjK1Se+U8vztDryswoMbw+ozN06gKJOt8kCTtqIxzKnkYaBxvfr+Xi6Wk0q3ZdT1y+DcZgWexW7OV8zhA0Ui4/dW+4tjQ2aXGusMpWuxZApLYYHOebYlsN8LtgrtCGHhu/p4YlQ/n03pISaXbaFd2zajQWbi2a1nMkoqZI8J3OAAAAJY7wg8UmCf19AHpzC9HFKwz5mQ4N26TdClSDeKf0nmV6dDTC9KzwJ6zVi3eWskMNRSaAWINVcz/Dr2OQ16vDt2/FS5rRt96hTcajfDApZIylzoflRoHl14AkjXLhqzdJkdJpVtX5FWpObRZ5hyJFxe5B39GbDeLkwhtBk/0yGOdVRCurLCb/xAaoGtpgZQsxLOGFQ3Rm1HTkupnI1eax22QmeuItNzxq3PY3ABN54rta8mG/IY2vatz0sokqtVXHLu1LsyA+fky2ocZV+5f6k2YQoercc7N+CVl8P1h2/ZK2udySmMfqTNQHvdeDPmNgff7iqWz1jVLqi96IifvXeIh75mwa0EY0W1XPZEn7fTCYioE5qNq93bVDxutlaoqjeBketib3oMt4Uayio9czkdJ3KbMTjrhzeKw/p6EKqTSEa6SW6hZIKFzKTCgxq55zNMIfVckaUVl4DscAAAAywvhBwrOYxvLpP4pfSYZlR2uTdqpPv3ab9ww/n5f4pZXCyzY26kzu5r1prlnM/5+n3Tg1ZhqEusDzBZX83iO6OHqhcaykZLBYHPPnsM6Xhl7Ve6ozl5bpXrHbXVru65USs8Pdqhxxgw7iqvVuVdqHAy1Jsnhy1mK4jbPQ63HjJYp8nXIYW3flHeB0e2EbT5St/9ILKpCI8GmbEncuZfkWLe260rD4agByuHjlB1Up9lmrGmwQ91R7bqMoCP66nvrBqR5Jfbq0OZxbMuvUZ3o+kjnQoNzo1puybwa36kXM/lco65Ct/ZTi231FLtGUxaVTLl2+cZtefa4VSW/LiW7Y6iV0Y2gMgo/EjF7+Xd/6o/7TopsTke3ljLOm0yeLLr10lMyXn+mm6fWFm/1ltvj5tiYn3f0RmkeVxJkqrhanbHtLdMQ2XRmM3n+jHk16Q/7tgoF2RfD81oWUjrBVSgUtcV3OAAAAJY5wg8UgIB+/Ym085vGv/yNSo8+fTDarN3lMlthSVeuBqTygD7oT9LyagHWduaVv5ZeaNV+9elvTk1of0ur+dwf6oN+aX+L0WIrePWStKtaj8UdI90WVmZVyTKT1hWtMW0gokxMyVPkUvst8x/0xdXq3DMjx5ilPVFxtTobcrrsJcB6NfZahYcbx2y0xbW/Kp7PVcGLIWaj0Nr33W4zKEHIFtnAXSVpVJJTKtqU1dXo0VfQpt9Tv3syMnD5ss/cpI66Wt66MZWqHVlkJsD0sFelAZeuNByUhr0qvbFBJcXlNr8Lfl26JWn1hsQbieFBwYfV+VujbVfCdijmzArN2lc25IOqmsNpbvy7tG21pGtTGlJ5Dgf/mm3KJkc0VLkpzcckmx9hMz/JsV1X6jboVNeItOewOdfnI219VKoqswnm0qigGvJ1qEYVmm1wqrO3X5fXuSTZh9ihirym8VE1Fud5oh/Tii751fDRYkOfyGNjBy5FP1/p5O15tJ/KXvRcohjhdaSYUZIvFTsTU/LMc9i3VUnlE/JMhn7/4tsY5gu+wwEAAADCDxSQ0o3mv67Kq7RffWbYYcz9CA89Hx3SmYQtrwL69SVJn+Rq4PmETh97zqjEkFHBoSPvhKsygr2dOqNavZwH+wDLl1+dF4Ly7KiQLlg2mrNoYZIPEg88t6l6CA+BD1lrbnLM6MWGw9oX3vAq1/G9n+vc4EWbCokkg+dz2G4lazaf65DZrsu3+bwau/rj5xWEH2Ns6nWvd0kBv6UVyVptKy5XlT5X/WDqwc+SbDYszWMXH9BsQ+IAJtF7OeTr0FvaoPAGlmyuos9ASaU7XEHQGbit+mJn8g3Q2USv3whfQhtu05/ekLQu4fMaQ4WNaqymhRwsfJ9sXbtKunZDlwJSVVqbgNYNZPuZH5JU5XKGj5se+xZEcQFmjPCA7IkpebRWPiVvx5Oogqp+ywF1hqtSRnU5aUpqXpnvWKXupG3Y8sOQPyjN3tDZgCwbvamG18fOPYlUYfmK+lVzK8nmsinpLJmFYBO22FYdJPiOy4+KHePv/XDLq4yY1R831mlrQNICbu577Nq+2XHE38R3OAAAAED4gUIQvKorKtMz4X0+M+wIz/0o1v7Xvdovafzka0laXpkVJEfeUUtdzL9k5zHwfPykW2/0G8dprys2HnusL/q4wUgVSOh4n12dkLY12lSkTOj0MbdOp/l27E/zfoUi7Y0BGe1aokyMqEnbdaVMOnshxYPjBsdaN/zzqe2IZS1xLSas64xtd2QZuByudPGr85YkR/QmXPQmfGhTK2azK4O2ZPfdRI9qrkn1WypUlWZzue6v1qi9aLu+X1Oty76OyAZlcbU6GzYY1TKJrsY235P64thWK9ZN6VGd6JrSviSbpuGr5y1DyUNX4afsr5/OEOmJHjnGFFct8tQ6l6oqbSp7wr8bqTZ7DZdv3A5fYTwd91PLIO3N59U4eH9ayyykks0u1U9eNFtUpfM67EIKsx2Z43bkOygczI3qRG6XbGt65oYxwDjBTIHQpmpawVvgc51LUiUSnilSd1Av+jpUM9ajfWWpz63FYVbFZTlPZXr4I2nPYXWW+dXZm6OlzXee0bJgVr9l0PIqXElRV20JFhZW1m2vJPEdDgAAgOWM8ANLXvCDAZ3fVa3vhlODYn19m6LnfkgKtZlK2PIqeFVXZKkgycD4Sbfe0Ktq9xqtrIzQ5JIO/cAbaVsVjK8CSS6+7VWwt0Uv/bJab75eG/X6aHuVgG3bq1GdGAvKs+egSmJ648cHHTKuZDVnMKS6UnqxTM8k6aWdRjVL/EwK+00i+8Ap/TZN+cH4/FVUYWzKBFKFH6F2UdvVWOmS5NfZuDYhkeqY0l5FBSChVjZJN4at592EVGX7efm1dXeFPIMjcnRNJTwHY6/uDf2eGFfkJh9Mb5xHkZY7xkb0KrUn2EAdGjcGs/uK/arpHUjRhsfYKPbssfvy86uz1wyPKl2SXPr+Fr9KJ815O4mXnN+Kq/Vi0UXVxLXIiVT8RJ8TZnupcFBpvC/nthzQizf61Z10k3OhGBuaKkrQFicwoLeuSZ49FdJYv06sS/69PP2pX90Ol75v99et2dLJmKkiyRwwXeMb1WzNIgzrSmViSh5JHld2ZZwllW4dlxT6rkn4Xs9D6Hd5W14E8/ki0tpvvi7fuC3NzuiylFeVDKmG0PMdDgAAgOWM8ANLXECjv5zQzm9+LyrQ2H3Uq/ajMXdN2vJKGv9Zm86rVn+cxf7F7qNetVtvKG9Wu9e6hjY1tRpDztujqkuMlluhuSVhzlq1eGsVCjau2FSlBHtb9NKpCaO9lter5Sbjyo+ApKLtOmK3QZfgyuZ8d/nGbUnO3G10hTb1YqoEln7lx2ikQiPd/vOxFRNmT3PPjpjHF1erc6/UOHhRpV1+te99QpcHjdkpSYO60PuVsoe/SyXFLh1vcGprb79qurwxlT7Ge+7Zc1izNfGv29jAfiJ1aBeu9vHrbOC2VFRhe1X79LBXNddWqX1vtaqK/Wrv7Vepb0Pivv4TU8YV/XHvQ6jVk1O+hsjrL6msVnug32idsiPVovOX0aIqqLeG/Zagw9jk7o4ahh5UTZcRys2Ggw9zcHClS0O+RVl+ZEbCbrvPdVQnBi+qu6hCnWXlkqbkGPNq66OJquGMcyq+AkqR6qgtByy/K+U6vmdKnrERnZg4kLIV1P1mzCZxal+u2nKZ3zXZhimS+XeCw5V379nSZLYVdKRuR5ZL8/n/OJJd5RXf4QAAAFjeCD+wtI3+XKc/qdXLrxeHQ4BUYltI7TzyjlqeHtFP+6WdR74d09Yqh4J9am3tM0KKcoUrQMLXm+9q1psJgo3QOr/7tM1xn/6e2jf+XE2tbp2RlP6A9MKQceVHcbmOF9TVsKHWK5tyVo0y5Dc2420DoqUqUchQvEFPSTo341dkIzoi3MP8UUnyq3P4YuIKiuJqde6ZkWMsqKZBo3969GZuzLHTqQrRKm2NumrXaI20b9ir0sEOdW85oM7KZNU95hW5csqXNPAxN8rCaxtQk13Io0h1iWfPYXNTzaXGugNSb78cvZ/bhDhmr/2iirhz9KyvXx5t15WG2Me41LjDqW7/BkkzSdad58oOyufvUE3oCuhixW1yG+GldfPSDOkWfUi0WSVlNyMhVK1kDRLLDmpWPXIMduiy3ffzxIiaZm2GTd8YUeNkgtk2ZRVqvzAiPZpvgWruv3ejv2uyYc5NyaC907Jjfv97ooLIGGbgfb/fz/TnZsXOkDHwHQ4AAIDljvADS1hAZ35szNLYLUl1rWqvy/BQo1M6bxM+2IoNLWSELymFqzgS/DmKMUvk9Ce1etlrzgWJed6dR8xqF2ex5GxWu7dZktl661iLtIwCkJR+O6Nu2cz8KCDhtha2V2ZnINzGJr4KYWm2vTI3kpVoM8kYYFsaNwA+IrRBFNpMMmaFWIdTxzA3rYd8HaqxPa5Tvj1SzaTUvvew5apcm2MmuGq3pNKtK/JG2orYfRUl7edu97qNq4BLAgNqnDSuGLa+X6Gwxn6gsyWU6eqICnSM922V2v//9u4vJM473+P4x/zrGGNaJGNqY0xiG1NJ8VRc1ous64aAwcBh9SzMetGgwbB70eW0vQgVVooUF1J6sd1le3FKQhzSi9m5OHo4oEQI2VkbFpeKOVJJY/PXmM46E6SNMU7TxDkXzzPjOPOM0XHG+ZP3CwSd55nf/Ob5PZnS33e+329N7D16uL7VLPljoeKYXBVmT4QsVlvfoJ6BQbWZQYETs5ElyIxvlYfvzVCQbkngw/zm+daockgr6eOy3H0qaWkPowi2cvVuvWl8ttREfhYs/ntqKmtQIDpoV3FMgYoxne51yjYeeZ8slpuLuVe3VctVH+89lKil0QwIBSRtXeatrqdlS175ra9plKYlf5nBxxU1444OiC417DGDncnstRCI8zkf3Ww73nmZsm4xFrOLrBt+m4qqY+71xc9DyfLfUcxnf+w5feZ/U1fUL2c1fEN6h89wAAAAPOcIfiCLLTYyX7OqdvUst2ccWb5q2aBFsli8txW+rmXJr+dQdM+DnMtgiFa4TU1FpWopjtrkXNEmWqzhq6EyNrHHVvRN1EwqexVRSidmkzZCbM+TeOe9ri7f9zphjnW4OF+ajP7W/qIl9dgj+no0lVWrtqLEIlvDquH1cvOJP+/QJlfXwVbLtVz2+b4X9abNrvfMzffwhpnN6tu91mMOe5yy9UpNZT9Rk8/IbllpU+ilm4qG1Tw/8xjrus/jVP240wwc1Jkbj8YxSeH7NSYQIkla3Hhc8hlnK9eflv03ubp7apFX0yOzatoWClYsDSIu30fI6K3Q4RtSS6/TCL4d1AqyjyItvt6i1Tw/tYySV/GCEM9qHm3xTf2JUeNb+tFBZ6vP0zgBUUlm8DpfPYeS3JfKoiyfZbPtmPNC5REz2Ar6YllZ6X83ErXqsldL/uIzHAAAAMgLBoPBRJ74rwcPkj0XAFng5e3bJUmBp0+TPnbF0GVN/uLnSR/32eL0rYgjkYbnZX/7uybqDiU8w/Rdm9Tj2iDZuKeQjffAsMepeqW7zFl6ZeO6pYQZKH9ztWWvkp09kiZrvQ8AAACQ3WwbNyZtLDI/AGSMzXl5erywoC0bNqzzKyfvm/ZWHi8saHNeXkIzC0nftUktrg2SjXsK2XoPLMkSew5l67qlRHGdXM11q3iCkWmVC5JxHwAAAAAhWf5/BgByyYGCAo0+yL2GmKMPZnWgoGBNY3Bt4svVa4PEcE+BeyA7sW6QknMfAAAAACEEPwBkjGP2Hfrc6033NJLuc69Xx+w71jQG1ya+XL02SAz3FLgHshPrBik59wEAAAAQQvADQMY4WbpLN+Ye6bO7U+meStJ8dndKN+Ye6WTprjWNw7WJLxevDRLDPQXugezEukFK3n0AAAAAhNDwHMCqpLLhuSRNBgJ69+o1vVqwVW+VlKh6e2HW1e5+vLCg0Qez+tzr1Y25R/qk8oDKbLY1j8u1iS8Xrg0Swz0F7oHsxLpBSt19AAAAgOyVzIbnBD8ArEqqgx8hZ6buqd9/X9fm5vRjYh9TabM5L08HCgp0zL4jJd9e5NrEl83XBonhngL3QHZi3SCl/j4AAABA9iH4ASBt1iv4AQAAAAAAAOD5kszgR0I54MFgUBtJHwcAAAAAAAAAABkooQhGXl4ewQ8AAAAAAAAAAJCREo5gvJDE9BMAAAAAAAAAAIBkSTj4Ydu8WVs2bUrmXAAAAAAAAAAAANYs4eDHxg0btG3LFr1AAAQAAAAAAAAAAGSQNUUutmzapI0bNijw5Il+ePJEj588Sda8AAAAAAAAAAAAEpIXDAaD6Z4EAAAAAAAAAABAsiRc9ipa0PwBAAAAAAAAAABIpzU37Hi6sEDZK+A58vL27ZKkwNOnaZ4JAAAAAAAAgFxi27gxaWOtKfjx+MkTzT1+rB8IegAAAAAAAAAAgAyRcPDj6cKCHj5+TLYHAAAAAAAAAADIKAn3/Aj8+COBDwAAAAAAAAAAkHESDn78QL1/AAAAAAAAAACQgRIKfgSDQT1dWEj2XAAAAAAAAAAAANYsoeBHXl4ewQ8AAAAAAAAAAJCREm54DgCpdGbqnvr993Vtbk4/BoPpnk7O2JyXpwMFBTpm36GTpbuSPj7rlhqpXjcAAAAAAIBckxcMJrY79a8HD5I9FwBZ4OXt2yVJgRT1/ZkMBPTu1Wt6tWCr3iopUfX2Qm3ZkHB7IkR5vLCg0Qez+tzr1Y25R/qk8oDKbLY1j8u6pVaq1g0AAAAAACCT2DZuTNpYBD8ArEqqgx//Mfp/atpZrN/sLk3J+Fj02d0p9U379N/V/7bmsVi39ZPMdQMAAAAAAMgkyQx+8LVcABnjzNQ9vVqwlQ30dfKb3aV6tWCrzkzdW9M4rNv6Sta6AQAAAAAA5DKCHwAyRr//vt4qKUn3NJ4rb5WUqN9/f01jsG7rLxnrBgAAAAAAkMsIfgDIGNfm5lS9vTDd03iuVG8v1LW5uTWNwbqtv2SsGwAAAAAAQC4j+AEgY/wYDNIke51t2bBBPybW+imMdVt/yVg3AAAAAACAXMZuFQBkI9+QWnqdsg0MaTrdc8HKsW4AAAAAAADrguAHgCznlWvAKZtnLObI9Ihbtt5+Da9glHjnDnucKx5Dkrm57ZbLt9InJGJMpy/fVJ8kBW7qnRFvKl8sY614fc2Aw+kJ8zkW9wrrBgAAAAAAkFs2pXsCQC7yD3Tq1Bd1+vgPR2VPwfhXzzj00WCFjn/arSOpeIEMNT3i1p7JeeuDgVHZekctDsyrvtcZ82hTWYNcNc9q0j2mSzOSikpVu9rJmqzm3HWwQXtvDKotYPUMuzzNx5Z5vTGd7h1Vl61cdxrrpBG39kwO6nRhqzoqEpzkujDnbXks9J5Xcs4a7S5R1+VR2TxSoL4q7mmsGwAAAAAAQHYj+AGkmv+Cut8+q+vhByp0/NMWffv2h7pocfqRTreOx9+TlX+gUx8NStKEzn9yQVUpCrBkop01DgVqoh/1yjUwqLat1TGb2cYG9rb4m9K+IbVcvqk3D7bqhNXxiSl1KV89lcssyEqYG947zQ1wqUQtja1qiZynr8Q8ZxnmfPvC40mqcShQ2C/buFNS5m+kRwedjDVa/TmJ2llcp47mF6XeUZ2eqFr+erFuAAAAAAAAWYvgB7Aujup9d7sq9ZXOO1yS3tBxt1vHJcl87JUVZHEsZny4dcTu08Xf/06nfq+UZZhkNq9cI3611KzhnX83qz7lq+klSbMW49/wS5LaLjvVtswwK8siiTLRL9uNQiMLYAVCmQhNZQ0K1Eguz5AO15sb6RXHFJCxkX5lNoG55IqJftnG/XEP94071TUe8cB4vw5XrDKbhHUDAAAAAADICgQ/gDTxD3Tq1L0W9ZxcydlGoOO82vWxOxToKNaRP7j1yhmHTjmmzODK82N6ZEhtk/PqU4NcEd/GlxTeBG8qa1CgOf6G8vTsQ0nzarscKotllsiylevOq7NqC5iljCIyRDoqjCyAK2UNcu2+bjxeWBJTJqnvslNtsqunbK3vNFQKyi5Ps8PYqPcNqW/mpvpGXlvcMK84pkDFmE73DsrmK392NkLWMjN9wqWnQmXN8tVzyKFAs9VzItYsKsAwPeKWjXUDAAAAAADIOQQ/gCTyD3Tq1LkJ868JnXKc1WsNRyVd0EeOC+bjFTou6f498zz/Pd2R9Eq8QcfOqq37gl478Rf1NBZLY2fVfe/f1dlYLEmqPOlWz0/Pqs3heGbJrNwxpnOT81JRteW35Ye9fkl2vbfsN+m9uuSbD2dtLC2RZWywN5U1GJvWkRkivu91RdKbhSVSRDGzUEmuUImmnkMOtRQbfytwU3t6b4bP7ZIZeNlaqp2SpiVp64sxm97DHqfqZ2RmDUS8l+I6uQ7OyjY+JNdu43UMVeportKJEbf29DqlothSYOnWNzkoW0wJq22rOGex9JRxfdbWC4R1AwAAAAAAyE0b0j0BIJfYG7vV43br/QZJ+9v1sdutzl+Wyih75VaP+wMdiTj/tV2h3c99eiW6epP/grodDrX9tdQYxwx2+CXp3J91MbK6T1W7etx/0St/dajNcVZXU/T+MsWwx2wcbW4QT4+4Zet16vSEpIl+1c9Ikl/1vU7ZLH5aRryS77r6Avlq2m0RIJkYVVtgMXhiZIhs075ihQMhe1+yntvthxYN2W3lutPcqkBzdbiZd+R5sc8Z0+lep+pVrUBzq3U5pIpq9djm1XZ1LObQzhqHAs2t8mhUtl63XD7ruaaDkY3TGv65U5Zvfc5Bu7oOxj8n3IxeftWH36Nx3VpGvFG/27XXJvU99Iefe7rXKZtn8dqxbgAAAAAAALmFzA8g6b7Sl4OS9i93jk/f3pK0y/qo0dvDCJhEl7KyV7Xrtyc6dSqm2blRBuuIGTS53vCBek6+sba3koGmR9yqn8lXzyGzPJBvSO+YWSAdFV65BvwRjaqjmOWrwmwlOlwcfZKRORLO+jAzRFT0umoVFQiZiMgIkbS4IW+U0rodr5G6qWmb3fL3UCZAx7JXokQtNeW6fdXIQLAqlVRb36qAxePpYbynaEbmhVeuAafqtxpBA8krl+ehrsw4ZRs3ykbFNLqfmDIDEnZ5Dkr1l93SoddXNhUze6erJDQf1g0AAAAAACDXEPwAks0sY6VvzuqUY0jHO+M3Rt6zq1jyTkUUTzJUnnQv2wvE3vifOv7FnzXmPxrbJN1+VJ3uowlOPtOZ5a4U1YTczAKZHnGrLSB1HVxB34TiOrkarQ/V1rfKFfrDd119AanrVWOj/PbDxUBIjIkpddny1RSQmsq2qW28X3ste0d4deuR1DcTUd4p/Ht+uPRSSHQ/kWhdvaMRf62tDFRqhPpfPENgVLYl70UKZfCEhMqUGaXNTBXV6vFe1+Fi6ZzlwCXat1XSo++NUlV3veqTXe9VmIdZNwAAAAAAgJxD8ANIMv+XQ9L+Ckl1+vjXUzrVfVaSonp++PTtN9LFbocumo+Gjr924i/hEldSdB+RKG87dD70+/52fbwkEyQXRX6zPtT4Ol89NXXa6RtSy+S8ZCvXiYoxuUbsaonT88Po12HFv9jw3MwcmV6yUW5kCDSVWV/lYa9fXcXlujLplXYfk+ehW5ceyqJ3xGLfiuWacYeE+lIszwwwFJVm4AZ6/IyIUICgqaxB7z0cNLN6lgYRYo3p0ky+uoqkrhlJKlFLfYmk2FJSsZZm8kisGwAAAAAAQC4i+AEklU9jX0h79knXb8noxfFpqbrfntKv3O2q1Fc673BJekPH3W4dlxnc+KIubuDC3titnjgZCoavdN7xoe78rDrHAx9LTY8MmVke5ka57zW9Vzarpt11uu1xqm1Gul3Yqo6KZww00S/b+GIWQdfBiOeYJbW6DjqMjemJKXUpXz27LXqBaEyXZuw6XCldMbMCausd2jviVtejUDDF2Ohe+vpLx0z8enxtjFOZBY2yl1xzo6yVsfHfqoBvSC2hrJ44jb+nR75WV9HrurPtazP4oXBJsz5JimyYPjko26RdPWX50sysbk+MmgGzyJJXrBsAAAAAAECuIfgBJJN/VP9QnX61a0gXb8UevnrmQ6nTHVGqylZj02gAAAi3SURBVKexLyakfS0rDlxcPePQlz9163jV4pgX97fr48ZlvyqfWyb6w9kC4UBFcYlqi0uMTfTiVnk8TtWPu7X3pThZBOHN8nz1HGrV4btu7ZncpsPhYMmYTl++qb6iarkqJMkr1w2/VFRtOd70yNe6UlanjpgiZouGPaPSwaUBmVD5pr67XrUUr3Aj3TeklhHpT42xfU+Wz5hIj2GP02xCH2KXp7nVOtOhuE6uZrNU3ER/bBmsohJ1zUg9h6qku19HPe/FiGwM/9LMjIl+temh/nhj6XVi3QAAAAAAAHLThnRPAMgl/i+HpJ9Va0ec45W/bNedv15QOM/AP6p/fCPp1j354zxnKZ92/LRdd7od6h7wSWNn9dFghY6/m+vlriKEsgaKquUqHJWt12n8DAwZ/RxMtfXV6tK82i73a9hqnOI6uZpbFWi2Co6YpYjMXiJSKNMk/jf0bz+Ump6RBVBbWa4r4xHz8Q3pjzPLPGGiX7Zet1w+49yWXqdOT0jSi3pTN7XHPGaU5lqc27AndF5mqK1vVaC5OqLnh1FeLLx2vaFrMqbTkY+PR/6rMAImgcqXpbLX4wS0jEbmlmXNXipUk+bVF7WGrBsAAAAAAEBuIvgBJNH9e/v0q2UyMPxfDun6N2f1XwM+ST5d/ORs/O+b+y+o2+HQ+bHQ75266C+WveqoOj9tl879Tt33/l097m4zk+QrnXd06uLKoihZK9zoemZ0CXO8qFqBxugm51XqOFSurrJS7fWZD303a5RFetZreMzAR2hMM9MkXGLLdPvhvGQr1F4ZpZKe9e394as31Se/6j1jkrxyjdxUn82uLtviOdMjbtk8YxHvNVRWK0JxlToaG9Rjm1fbZafOFToigjheSfnqGjc33zNMU1mDAs2t4Z87ZfmrO6e4Sh01cUpEfTerPuVr70sWx4pf1JuSmsrqzDJpQ2rpdetWJesGAAAAAACQiwh+AElUebJdlXGOfTvQqVPn9un9T9ulL0Z1deDPOv9NhY6fOLp40thZtTnO6qrMQImO6idW+7z2o+rsPKrrX4zKL6NvSJtjWK+ckM6/ndsBECOLIOrHoi+EJKm4Th01Vdq5ypJCtfWti8EUM9NkSYmtVfPqnV6n0cz7YLmaZqbkCmWS1FRrr+VzjObqitsI22i+7SnK15VZc9Pd45TN41dtvUOeomWyXnLU0h4skbxyDYyqS1Kf73pEhtC8bn+33IisGwAAAAAAQLYi+AGkmndK13VB58/t0/vudlXaj6rz11P66NyEjnR268iuqPP3l2pHqBdIQ23cYIqq2tVjNkm/f88490hjt95vmMj5AMgSZlkhW69TLSPeZU81NsfjZAZYnT/iDgc+XDVRpZHM0kdNxa9FZZxE8uqSb14KzKvPVq47zQ61VNTpT2UP1WaRSSKZ2SSS2VBb6ipZvhF2bb1DrpoqSV7deiTp0feaVqjsl1/1UeXAcpd5rS2CDsOeQbWpXHcO2qWAV5d8Wj5LhHUDAAAAAADIejQ8B1LMf++WtL9dH5uBCv9Ap06dm9CRTrNp+Zikb6Z0X9L9f16Q9n0g+9j/Glkh774RMdKEvvVKsc09vtKXg9KRTuPcypNuvS+HPvqfr3Tk5BvRJ2c5r1wDg2oLWByyletP4QCFV66BIalmcZM63HTbVq7DK8kEmejXnkmp51CrOYbZByTynKJqBaKDIlaKqsPZKdMjbrOEVqiBdon2bZX6HhrRqluPpKbijUZzddkXG7CbZZu6vGPqqLDYWPddV19AaioLBWOq1HHoe10ZmdVtn1ad/ZIqfZODsk1GP7pt1edEC/dkiSqJ1Tc5aAQwzEwej9ep+qtjOrwtXpZIBNYNAAAAAAAgaxH8AFLM3titnkbzj7GzOnVOOv6p2+zTIamqVkf0oT5yXJBkBDGu/vNDaX+7qkLn2I/qtyeGdKrboYtWL9LwgXoi9lUrT7rVk5q3k2Yl2rfVLk/jsTglhSLPm1f9ZafaIh+O7OPxLBXHFFhS5qpKHc1V6ljlfFsaW9US+jMmoGKoLbFL46Oy9UqSXZ6ap7rUKzWVVUe8zyp1HJxS1/iobL2j1i8XHYwprpOr0frUdInOojGCCqs/ZykjU6OprCEmIyN6rNr6BvUMDGrPjNH/Y7nSVKwbAAAAAABA9soLBoPBRJ74rwcPkj0XAFng5e3bJUmBp0+TPnbF0GVN/uLnSR8Xyyv72981UXco4eezbumx1nUDAAAAAADINLaNG5M2Fj0/AGSMzXl5erywkO5pPFceLyxoc17emsZg3dZfMtYNAAAAAAAglxH8AJAxDhQUaPTBbLqn8VwZfTCrAwUFaxqDdVt/yVg3AAAAAACAXEbwA0DGOGbfoc+93nRP47nyuderY/YdaxqDdVt/yVg3AAAAAACAXEbwA0DGOFm6SzfmHumzu1Ppnspz4bO7U7ox90gnS3etaRzWbX0la90AAAAAAAByGQ3PAaxKKhueS9JkIKB3r17TqwVb9VZJiaq3F2rLBuK0yfJ4YUGjD2b1uderG3OP9EnlAZXZbGsel3VLrVStGwAAAAAAQCZJZsNzgh8AViXVwY+QM1P31O+/r2tzc/oxsY8pWNicl6cDBQU6Zt+RkswB1i01Ur1uAAAAAAAAmYDgB4C0Wa/gBwAAAAAAAIDnSzKDH9QkAQAAAAAAAAAAOSWh4EcwGNRGarkDAAAAAAAAAIAMlFAEIy8vj+AHAAAAAAAAAADISAlHMF5IYu0tAAAAAAAAAACAZEk4+GHbvFlbNm1K5lwAAAAAAAAAAADWLOHgx8YNG7Rtyxa9QAAEAAAAAAAAAABkkDVFLrZs2qSNGzYo8OSJfnjyRI+fPEnWvAAAAAAAAAAAABKSFwwGg+meBAAAAAAAAAAAQLIkXPYKAAAAAAAAAAAgExH8AAAAAAAAAAAAOYXgBwAAAAAAAAAAyCkEPwAAAAAAAAAAQE4h+AEAAAAAAAAAAHLK/wMRXMtYKjdEzgAAAABJRU5ErkJggg==">
截图来源:药融云投融资数据库
目前在上海张江和奉贤共拥有超过10000平方米的实验基地设施,其中包括4000平方米的SPF级和普通级动物房设施,实验动物从啮齿类小动物到非人灵长类动物全品类覆盖。动物实验设施获得AAALAC(国际动物评估与认证协会)认证,实验操作严格遵循国际制药行业标准,实施GLP标准化流程,拥有严格的知识产权(IP)保护体系。由高精尖国际人才组成的严谨而卓越的核心科研团队,是澎立生物的强大软实力。澎立生物先后被认定为业内优秀的“高新技术企业”,“专精特新”生物医药CRO。
近期财务数据:

临床前研究是连接早期药物发现与正式进入人体临床试验的关键环节,旨在通过体外细胞试验、活体动物试验等对药物有效性与安全性进行预先筛选与验证,而活体动物研究是临床前研究的重点,是开展下一步人体临床试验的指导锚和风控阀。实验动物是临床前研究的基础资源,主要用于药物研发企业、CRO服务企业、科研机构等开展动物试验研究。
具体业务分布:


澎立生物提供CRO服务的原材料主要包括实验动物及实验试剂与耗材,其中实验动物主要包括实验用猴、鼠、犬、猪等,试剂及耗材主要包括血清、细胞、器具等实验过程中使用的各类用品。报告期内,发行人主要原材料的重要供应商主要包括广西防城港常春生物技术开发有限公司、海南金港生物技术股份有限公司、肇庆创药生物科技有限公司、北京维通利华实验动物技术有限公司、上海甲干生物科技有限公司等。
公司从事的CRO服务主要以项目定制化服务形式展开。公司接受客户委托后,根据项目涉及的具体药物或器械类别、疾病种类等组织对应的专业技术团队,为每一个项目设计定制化的执行方案,如动物模型选择及构造(已有模型)或新模型开发(如新靶点、新治疗手段或新实验要求)、实验整体方案设计、实验执行、实验结果或生物样本分析、报告编制等。
招股书表示:发行人长期专注于临床前药效学研究评价领域,业务已涵盖免疫疾病/炎症、肿瘤、代谢疾病、骨病、眼病以及心血管疾病等40余种疾病领域,拥有啮齿类至灵长类全种属疾病动物模型平台,构建的自研疾病动物模型数量超过1,500种,居国内临床前药效学CRO行业领先地位,形成了公司的独特竞争优势。经过长期行业深耕,发行人已在临床前药效学领域取得了较高的市场地位。
科创属性与募资用途:


报告期各期末,公司应收账款净额分别为588.29万元、1,177.12万元、2,912.64万元和5,877.65万元,占当期营业收入的比例分别为8.68%、10.60%、15.09%和32.68%。
股东构成:

员工构成:


此文仅用于向医疗卫生专业人士提供科学信息,不代表平台立场
参考:
NMPA/CDE;
药融云数据,vip.pharnexcloud.com/?zmt-mhwz;
FDA/EMA/PMDA;
相关公司公开披露;
http://listing.sse.com.cn/renewal/xmxq/index.shtml?auditId=1771&anchor_type=0;
http://static.sse.com.cn/stock/information/c/202303/66309cbcf5a24a8497c9bee4388e9398.pdf;
https://www.pharmalegacy.com.cn/aboutus/company.html;等等。
想要解锁更多药企信息吗?查询药融云数据库(vip.pharnexcloud.com/?zmt-mhwz)掌握药企公司基本信息、投融资情况、产品管线分布、药物销售情况与各维度分析、药物研发情况、年度报告、最新进展动态、临床试验信息、市场规模与前景等,以及帮助企业抉择可否投入时提供数据参考!注册立享15天免费试用!

<END>








川公网安备51019002008863号
本网站未发布麻醉药品、精神药品、医疗用毒性药品、放射性药品、戒毒药品和医疗机构制剂的产品信息
收藏
登录后参与评论
暂无评论