
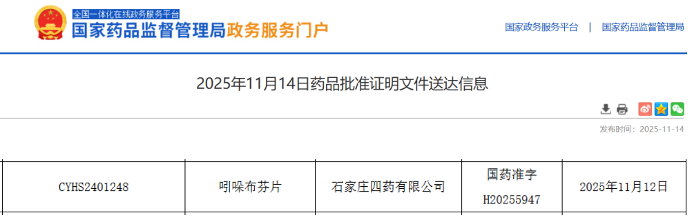
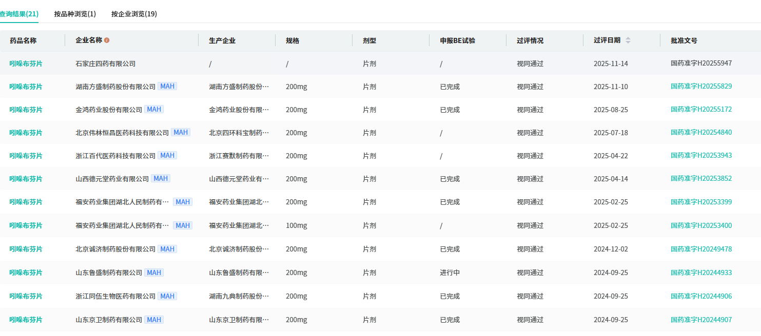
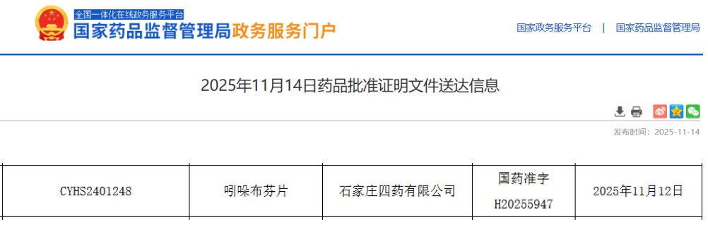
11月14日,据NMPA官网显示,石家庄四药申报的化学药品第3类 吲哚布芬片(0.2g)获批上市并视同过评。截至目前,该品种在国内有19家药企获批并视同过评。

截图来源:NMPA
吲哚布芬片由意大利公司研发,现已成为“神药”阿司匹林不耐受的替换药物。属于异吲哚啉基苯基丁酸衍生物,用于动脉硬化引起的缺血性心血管病变、缺血性脑血管病变,静脉血栓形成。也可用于血液透析时预防血栓形成。
近年来,在国内市场迅速崛起。自2017年纳入国家医保目录(乙类),吲哚布芬片销售额持续攀升。据摩熵医药数据库显示,其2022年全终端医院销售额破10亿,近三年逐年增长,2024年超19亿,同比增37.47%,2025年上半年超11亿,同比增28.07%。高销售额引众多药企关注布局,市场竞争加剧。










川公网安备51019002008863号
本网站未发布麻醉药品、精神药品、医疗用毒性药品、放射性药品、戒毒药品和医疗机构制剂的产品信息
收藏
登录后参与评论
暂无评论