
日前,据NMPA官网公示,石家庄四药提交的2款4类、3类仿制化药氢溴酸伏硫西汀片和硫酸镁注射液同日获批并视同通过一致性评价。

截图来源:NMPA官网
10亿美元明星抗抑郁药,仿制药竞争市场激烈
氢溴酸伏硫西汀片由丹麦灵北制药和日本武田制药联合研发的抗抑郁药,于2013年9月获得FDA批准,用于治疗成人重度抑郁症(MDD)。2017年11月氢溴酸伏硫西汀在中国获批同时具有5-HT转运体(SERT)抑制作用、5-羟色胺(5-HT1A)受体激动作用以及5-HT3受体拮抗作用,最早于2017年获批正式进入中国,用于治疗成人抑郁症。作为一款明星级别的抗抑郁药,氢溴酸伏硫西汀片已跻身重磅炸弹之列,2021年全球销售额超过10亿美元;2022年全球销售额超过13亿美元。
进入中国市场后,氢溴酸伏硫西汀片持续放量。据药融云数据统计,氢溴酸伏硫西汀片在2022年全国院内销售超1亿元,同比增长达5.51% 。

截图来源:药融云全国医院销售数据库
巨大的市场也让仿制药“闻讯赶来”,尤其是在“确认”氢溴酸伏硫西汀片化合物专利会在2022年10月2日到期后。正大天晴的氢溴酸伏硫西汀片是最早获批的,于2021年7月20日成为了国内首仿。除此次过评的石家庄四药,还有江苏豪森药业、成都倍特药业、扬子江药业等8家药企。
2亿+短缺药,超20家企业围攻,石家庄四药最新拿下
硫酸镁注射液可作为抗惊厥药。常用于妊娠高血压,治疗先兆子痫和子痫,也用于治疗早产。临床药物短缺一直是行业顽疾,近期,上海阳光医药采购网连发四则通告,公示9月、10月部分短缺药全国平均价,并对硫酸镁注射液等6个短缺药品种进行降价。硫酸镁注射液尽管挂网企业有9家,但价格普遍比上海公布的5.25元均价要高,且品种之间价差很大。
短缺药品挂网的价格差异巨大,可能与长期未供货、价格没有更新有关,网上查询挂网价为2.5元的硫酸镁注射液,并没有医院实际采购。据药融云数据统计,硫酸镁注射液在2022年全国院内销售为2.81亿元。

截图来源:药融云全国医院销售数据库
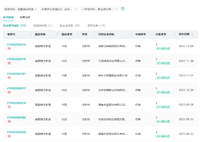
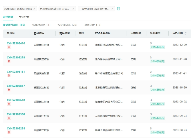
除此次石家庄四药,目前还有海南倍特药业、湖南科伦制药等9家企业过评。此外华鲁制药、青峰药业、天成药业等20家企业提交了仿制申请,均在审评审批中。

截图来源:药融云中国药品审评数据库
此外,石家庄四药除此次过品的2大品种,还有匹伐他汀钙片、司替戊醇干混悬剂、奥硝唑注射液、异丙托溴铵雾化吸入溶液、拉考沙胺片等73个品种过评。
<END>
要解锁更多企业药品研发信息吗?查询药融云数据库(vip.pharnexcloud.com/?zmt-mhwz)掌握药品各国上市情况、药品批文信息、销售情况与各维度分析、市场竞争格局、一致性评价情况、集采中标情况、药企申报审批信息、最新动态与前景等,以及帮助企业抉择可否投入时提供数据参考!注册立享15天免费试用!








川公网安备51019002008863号
本网站未发布麻醉药品、精神药品、医疗用毒性药品、放射性药品、戒毒药品和医疗机构制剂的产品信息
收藏
登录后参与评论
暂无评论