
2024年4月23日,据NMPA官网公示,重庆药友制药的阿立哌唑口崩片、盐酸舍曲林片2个品种同日获批,同日其盐酸格拉司琼注射液也通过一致性评价。(相关阅读:超5亿热销抗癫痫药,重庆药友制药冲击首仿!)

截图来源:NMPA官网
重庆药友制药剑指800亿市场,4亿重磅品种最新获批
阿立哌唑口崩片用于治疗精神分裂症,为第二代抗精神病药物。据药融云数据统计,在全国院内神经系统药物市场销售峰值超800亿元。而在这一庞大的市场中,阿立哌唑口崩片亦表现出色,其全国院内市场的销售峰值超过4亿元,2022年院内销售额达3.89亿元,展现了其在治疗精神分裂症领域的强大实力和市场潜力。

截图来源:药融云全国医院销售数据库
此前阿立哌唑口崩片有扬子江药业、齐鲁制药、浙江华海药业等5家药企获得生产批文。重庆药友制药成功跻身这一阵营,成为最新获批该品种的企业。
在仿制药的布局上,瑞阳制药、杭州和康药业、澳美制药等5家药企已积极提交阿立哌唑口崩片的仿制申请,均在审评审批中。
5亿+畅销抗抑郁药,荣登院内TOP4榜单
盐酸舍曲林片是一种抗抑郁药,用于治疗包括伴随焦虑、有或无躁狂史的抑郁症。据药融云数据统计,该品种在2022年全国院内市场销售额超5亿元,2023年(截止Q3)销售额达4.83亿元,市场表现强劲。

截图来源:药融云全国医院销售数据库
抗抑郁药(化学药或生物药)在全国院内市场的销售峰值已突破60亿元大关,展现出巨大的市场需求和潜力。值得一提的是,在2022年全国院内抗抑郁药市场中,盐酸舍曲林片是TOP4品种。

截图来源:药融云全国医院销售数据库
此前已有成都恒瑞制药、山东京卫制药、浙江华海药业等超过10家国内药企获得盐酸舍曲林片的生产批文,此次,重庆药友制药是新获批盐酸舍曲林片的药企。

截图来源:药融云中国药品批文数据库
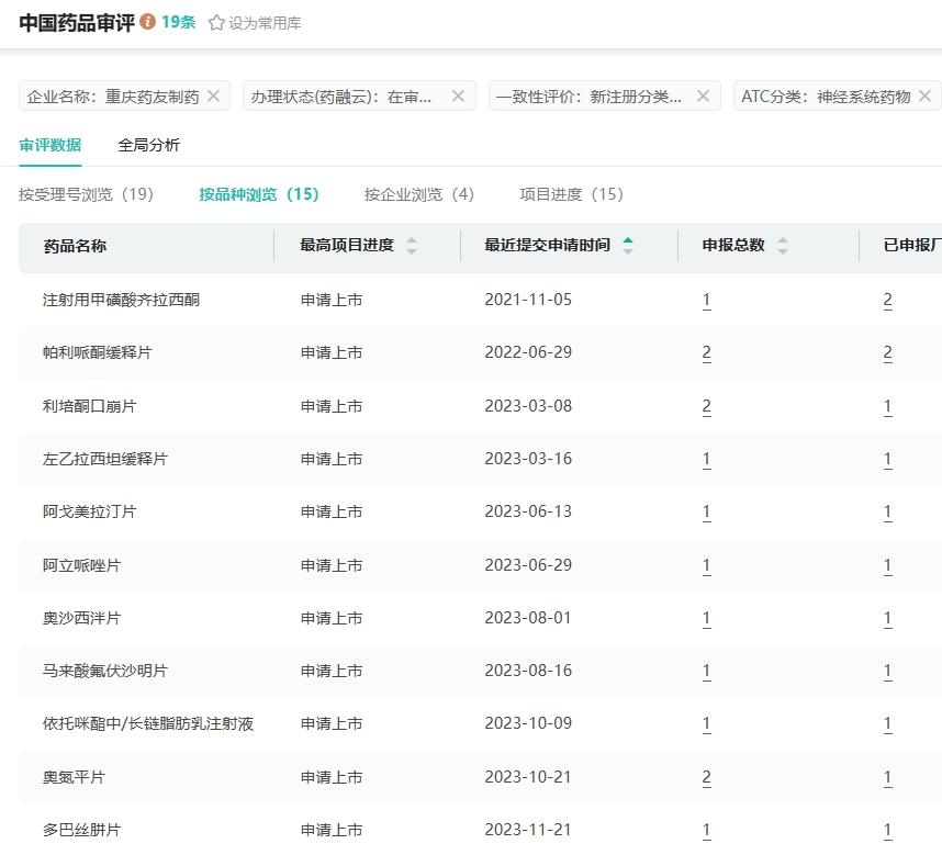
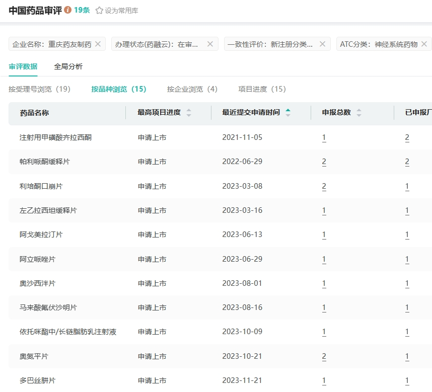
在仿制药布局方面,重庆药友制药还提交了丙戊酸钠缓释片(Ⅰ)、阿戈美拉汀片、左乙拉西坦缓释片、阿立哌唑片等15个神经系统药物的仿制申请,均在审评审批中。

截图来源:药融云中国药品审评数据库
2024年至今,重庆药友制药有9个品种获批,其中有阿立哌唑口崩片、盐酸鲁拉西酮片、枸橼酸托法替布片、氟尿嘧啶注射液、琥珀酸美托洛尔缓释片、盐酸格拉司琼注射液、盐酸舍曲林片7个品种过评。
<END>
要解锁更多企业药品研发信息吗?查询药融云数据库(vip.pharnexcloud.com/?zmt-mhwz)掌握药品各国上市情况、药品批文信息、销售情况与各维度分析、市场竞争格局、一致性评价情况、集采中标情况、药企申报审批信息、最新动态与前景等,以及帮助企业抉择可否投入时提供数据参考!注册立享15天免费试用!








川公网安备51019002008863号
本网站未发布麻醉药品、精神药品、医疗用毒性药品、放射性药品、戒毒药品和医疗机构制剂的产品信息
收藏
登录后参与评论
暂无评论