
近日,重庆药友制药递交的4类仿制化药丙戊酸钠缓释片(Ⅰ)的上市申请获CDE受理。据药融云数据显示,丙戊酸钠缓释片(Ⅰ)在2023年全国医院范围内表现出色,成功跻身销售量top3之列。

截图来源:药融云中国药品审评数据库
丙戊酸钠缓释片(I)是由原研企业赛诺菲研发的复方缓释剂型,具有广泛的治疗应用。它主要用于治疗全身性癫痫,涵盖多种发作类型,如失神发作、肌阵挛发作、强直阵挛发作、失张力发作及混合型发作等。此外,该药物还能有效治疗局部癫痫发作以及双相情感障碍相关的躁狂发作。在国内,丙戊酸钠缓释片(Ⅰ)自上市后,销售额呈现出持续增长态势。据药融云数据统计,该品种在2022年全国院内销售额超5亿元,2023年略有下滑,销售额近4亿元。

截图来源:药融云全国医院销售数据库
丙戊酸钠缓释片(I)在2023年全国医院范围内表现出色,成功跻身销售量top3之列。这一进展不仅体现了重庆药友制药在药品研发和生产方面的实力,也进一步丰富了抗癫痫药物的市场选择。

截图来源:药融云全国医院销售数据库-全局分析
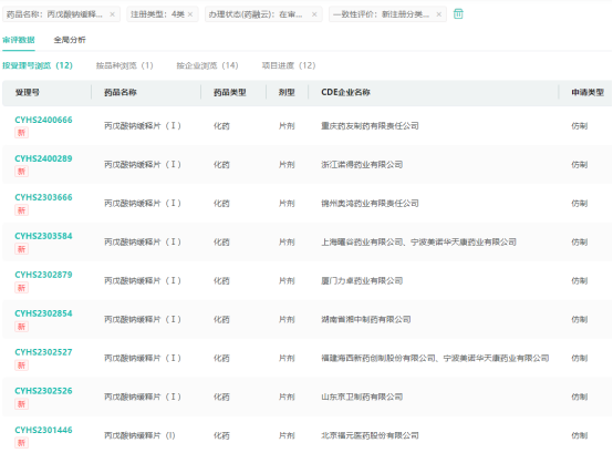
据药融云数据显示,丙戊酸钠缓释片(I)有2家企业拥有生产批文,暂无仿制药获批。除此次申报的重庆药友制药,还有四川科伦药业、济川药业集团、北京福元医药等13家药企提交了仿制申请,均在审评审批中。

截图来源:药融云中国药品审评数据库
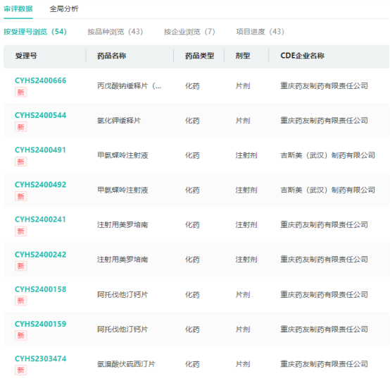
此外,重庆药友制药还提交了阿立哌唑口崩片、利培酮口崩片、帕利哌酮缓释片、注射用卡非佐米、头孢克肟颗粒等43个品种的仿制申请,均在审评审批中,其中有左乙拉西坦缓释片、丙戊酸钠缓释片(Ⅰ)2款抗癫痫品种。此次,公司的丙戊酸钠缓释片(Ⅰ)以仿制4类报产获CDE受理,将进一步丰富公司产品管线。

截图来源:药融云中国药品审评数据库
2024年至今,重庆药友制药已有盐酸鲁拉西酮片、枸橼酸托法替布片、氟尿嘧啶注射液、琥珀酸美托洛尔缓释片4款仿制药获批并过评。
<END>
要解锁更多企业药品研发信息吗?查询药融云数据库(vip.pharnexcloud.com/?zmt-mhwz)掌握药品各国上市情况、药品批文信息、销售情况与各维度分析、市场竞争格局、一致性评价情况、集采中标情况、药企申报审批信息、最新动态与前景等,以及帮助企业抉择可否投入时提供数据参考!注册立享15天免费试用!








川公网安备51019002008863号
本网站未发布麻醉药品、精神药品、医疗用毒性药品、放射性药品、戒毒药品和医疗机构制剂的产品信息
收藏
登录后参与评论
暂无评论