药明康德暂无自有产品销售(药品),至于未来会不会走到台前来自己开发药品销售,这个当然不能排除,毕竟一个投资公司都能拥有自己药品,何况是一个拥有多年药品研发及生产经验的企业。
药明康德(WuXi AppTec)是一家全球领先的研发外包和合同制造组织(CRO/CDMO),为全球制药、生物技术和医疗设备行业提供一系列的研发、制造和实验室服务。作为一家综合性的生物医药研发服务公司,药明康德涉及广泛的药物研发领域,包括药物发现、药物开发、药物制造和生物分析等。所涉及的主营业务为小分子化学药的发现、研发及生产全方位、一体化平台服务,以全产业链平台的形式面向全球制药企业提供各类新药的研发、生产及配套服务。
药明康德的药物产品涵盖了多个治疗领域,包括肿瘤学、心血管疾病、神经系统疾病、免疫学、传染病和代谢疾病等。下面是部分药明康德参与开发或制造的知名药物:
阿斯利康(AstraZeneca)的药物:
Tagrisso(奥达曲塞):用于非小细胞肺癌治疗。
Imfinzi(伊姆芬志):用于治疗尿路上皮癌等。
辉瑞(Pfizer)的药物:
Ibrance(帕博西尼):用于乳腺癌治疗。
Xeljanz(扎克替尼):用于类风湿性关节炎和溃疡性结肠炎治疗。
罗氏(Roche)的药物:
Perjeta(派瑞妥):用于乳腺癌治疗。
Lucentis(卢温迪斯):用于湿性年龄相关性黄斑变性治疗。
请注意,药明康德是一家合同制造组织,他们可能参与药物的制造、研发或其他环节,但并不代表他们拥有这些药物的所有权或销售权。
以上只是药明康德参与的一部分药物,更多其他药物可通过药融云医药数据库系统进行检索:
①首先通过其官网或企业年报知晓药明康德旗下拥有子公司34个,其中亚洲子公司20个,美洲子公司10个,欧洲与中东地区子公司为4个。
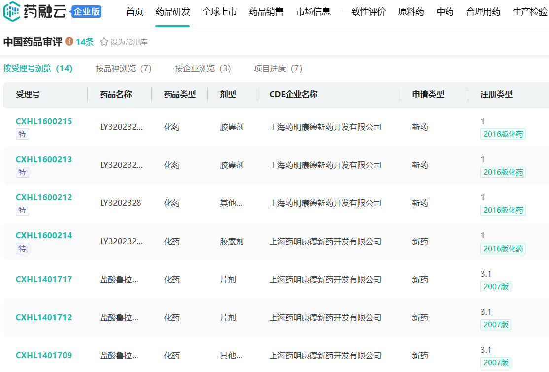
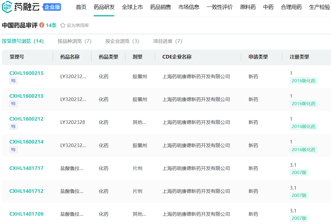
②在药融云数据库中输入各子公司名称进行精确搜索,如输入’上海药明康德新药开发有限公司’

图片来源:药融云数据库(企业版)
可以看到该子公司新药研发数据有6条,在中国审评的数据有14条,医药相关投融资信息1条,药品招投标信息128条,一致性评价1条,通过点击上图中的数字可查看详细信息,如点击中国药品审评,展示结果页面如下:

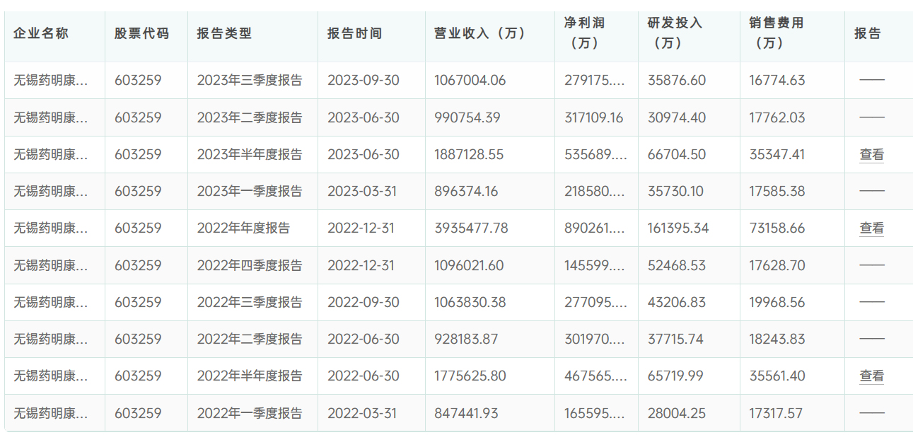
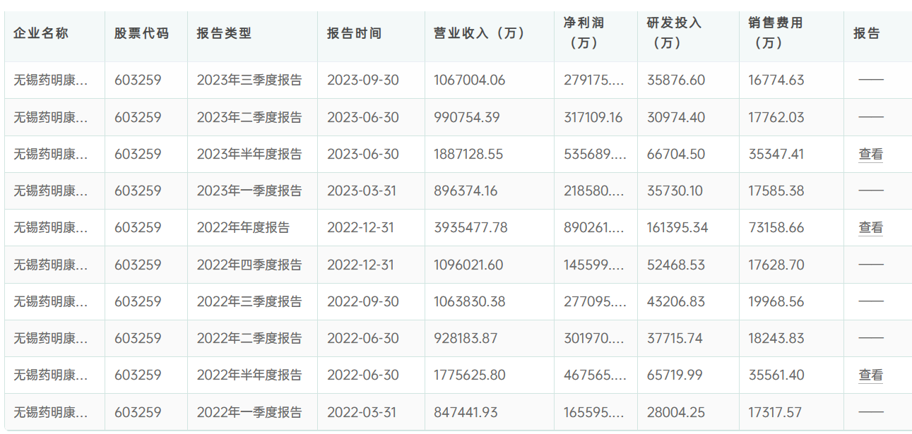
通过该药品信息查看其研发进度、临床试验信息、招投标、医保、集采、销售额、原料药等全管线信息。
③也可通过一键搜索‘药明康德’,能展示各关联子公司的药品相关信息,或是通过该的企业年报了解更多相关药品信息:
进入药融云数据库(个人版)-->上市医药企业年报--> 搜索’ 药明康德’


图源:药融云数据库







川公网安备51019002008863号
本网站未发布麻醉药品、精神药品、医疗用毒性药品、放射性药品、戒毒药品和医疗机构制剂的产品信息
收藏
登录后参与评论
暂无评论