
健民集团作为一家历史悠久、底蕴深厚的中药企业,起源于明朝崇祯十年(1637年),原名“叶开泰”,是中国四大中药名店之一。健民集团专注于小儿用药、妇科用药和特色中药产品的研发与生产,旗下拥有“健民”“龙牡”“叶开泰”三大品牌,其中“健民”、“龙牡”为中国驰名商标。
净利润大涨28%!健民集团手握20余个独家品种
日前,健民集团发布2023年年报,其2023年实现营业收入42.13亿元,同比增长15.72%;归母净利润5.21亿元,同比增长27.78%。
从产品来看,儿科产品收入11.44亿元,同比增长13.67%;妇科产品收入5.73亿元,同比增长3.81%;特色中药产品收入2.51亿元,同比增长36.27%;其他产品收入1.95亿元,同比增长43.24%。
从产品销量来看,2023年,其儿科、妇科产品销售量分别为3123.51万盒和1740.32万盒,分别同比下降5.01%和2.27%。其儿科、妇科产品的收入增长、销量下降,主要是其高毛利产品比重提高所致。特色中药产品2023年销售量为1352.94万盒,同比增长10.96%。
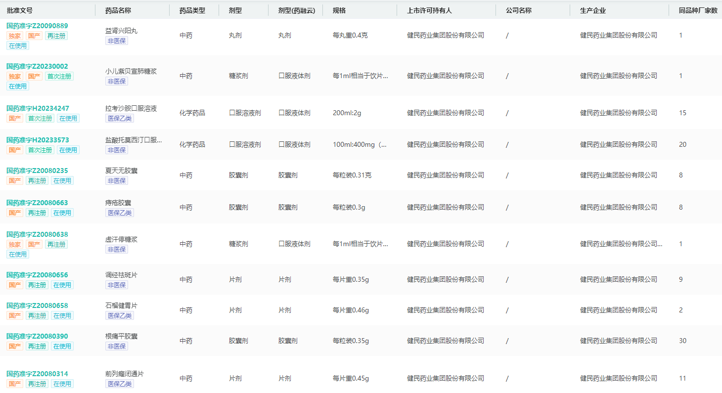
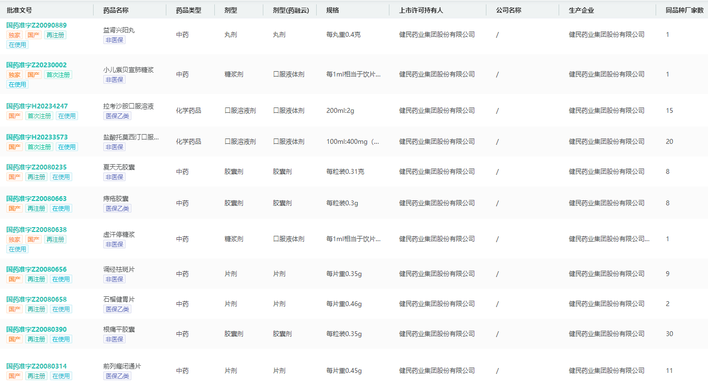
据药融云数据库统计,目前健民集团及子公司合计持有药品批文261个,涉及200多个品种,其中独家品种有25个。产品资源丰富,形成了以中成药为主的儿科产品线、妇科产品线、特色中药产品线。
健民集团生产批文查询

图片来源:药融云中国药品批文数据库
其中,健民集团的儿科产品线有龙牡壮骨颗粒、健脾生血颗粒、小儿宝泰康颗粒、小儿宣肺止咳颗粒、小儿解感颗粒等品种;妇科产品线有健脾生血片、小金胶囊、雌二醇凝胶等品种,特色中药产品线有七蕊胃舒胶囊、便通胶囊、健民咽喉片、拔毒生肌散、复方紫草油、羌月乳膏、补肾健骨胶囊等品种。
医药业务双增长,明星儿童药销量再创新高
健民集团的主营业务主要分为医药工业和医药商业两大板块,其中医药工业板块2023年收入21.64亿元,同比增长15.13%;医药商业收入20.1亿元,同比增长16.64%
健民集团的医药工业主要是涉及药品的研发、制造及销售,包括母公司和全资子公司叶开泰国药。医药工业板块按照药品流通的渠道,分为OTC产品线(非处方药)和Rx产品线(处方药)。
其2023年OTC产品线收入11.06亿元,同比增长14.85%。其OTC 产品线第一大单品为龙牡壮骨颗粒,2023年的销量再创新高,达到6.23亿袋,较2022年的5.41亿袋增长约15%,推动其整体业绩增长。
龙牡壮骨颗粒是儿科补益类产品,用于治疗小儿多汗、夜惊、食欲不振、消化不良、发育迟缓等症状。自1985年研制成功并投入市场以来,因其疗效独特、质量稳定、用药安全而畅销大江南北,极大地降低了我国儿童佝偻病的发病率。1992年,龙牡壮骨颗粒入选国家一级中药保护品种,是目前为止唯一入选的儿童药品。药融云数据库显示,2020-2022年龙牡壮骨颗粒连续三年荣登全国实体药店终端儿科中成药销量排行第一名。
龙牡壮骨颗粒全国药店零售销售趋势

图片来源:药融云全国药店零售数据库
OTC 产品线第二大单品为便通胶囊,2023年销量2.94亿粒,同比增长44.59%。便通胶囊用于脾肾不足,肠腑气滞所致的便秘,位居全国便秘泄泻类第二。第三大单品为健民咽喉片,适应症为清利咽喉,养阴生津,解毒泻火,用于热盛津伤、热毒内盛所致的咽喉肿痛、失音及上呼吸道炎症。
健民集团2023年Rx产品线收入10.58亿元,同比增长15.43%。主要有健脾生血片(颗粒)、小金胶囊、雌二醇凝胶、拔毒生肌散、七蕊胃舒胶囊等产品。其中,健脾生血颗粒/片2023年销售达到4.01亿袋/片,同比增长了17.76%,居主要产品销量第二位。此外,其治疗慢性胃炎的1.1类中药创新药七蕊胃舒胶囊销售量达到2494万粒,较2022年的51.5万粒显著增长。
持续加码研发,4款中药1.1类创新药亮眼
2023年,健民集团进一步加大研发投入。2023年研发费用7916.98万元,同比增长1.17%,占医药工业收入的3.66%。在新产品开发方面,其2023年开展新药研发项目27项,立项新品种7项。
药融云数据库显示,截至目前,健民集团在研新药项目40余项,研发管线陆续丰富,包括中药1.1类新药小儿紫贝止咳糖浆、牛黄小儿退热贴、通降颗粒、小儿枳术通便颗粒等中药产品以及一批儿科化学药。
健民集团药品审评年度趋势

图片来源:药融云中国药品审评数据库
其中,小儿紫贝止咳糖浆于2023年10月获批上市;牛黄小儿退热贴已提交NDA申请,通降颗粒处于Ⅱ期临床阶段,枳术通便颗粒已获批临床。还有儿科制剂盐酸托莫西汀口服溶液、拉考沙胺口服溶液获得药品注册证书,乳果糖口服溶液提交ANDA,获得受理通知书。
小儿紫贝宣肺糖浆,用于小儿急性支气管炎风热犯肺证的咳嗽,伴咳痰、汗出、咽痛、口渴,舌苔薄黄,脉浮数。该药品的上市为急性支气管炎的咳嗽患儿提供了又一种治疗选择。
值得一提的是,近年来,中医药多项实质性利好政策落地,引领中药创新药驶入快车道。中药创新药研发逐渐步入丰收期,中药创新药获批品种数、申报上市品种数及申报临床品种数均呈逐年递增态势。
<END>
要解锁更多企业药品研发信息吗?查询药融云数据库(vip.pharnexcloud.com/?zmt-mhwz)掌握药品各国上市情况、药品批文信息、销售情况与各维度分析、市场竞争格局、一致性评价情况、集采中标情况、药企申报审批信息、最新动态与前景等,以及帮助企业抉择可否投入时提供数据参考!注册立享15天免费试用!








川公网安备51019002008863号
本网站未发布麻醉药品、精神药品、医疗用毒性药品、放射性药品、戒毒药品和医疗机构制剂的产品信息
收藏
登录后参与评论
暂无评论