据《药融云医药行业观察周报》数据统计,在2023.04.24-2023.04.30期间,共有91个创新药/改良型新药注册申请获CDE承办(按受理号统计,不含补充申请)。其中,国产药品受理号61个,进口药品受理号30个。
在这期间,共计36款创新药/改良型新药临床试验申请获得“默示许可”,包括化学药10款,生物药14款,中药2款。
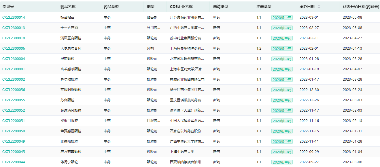
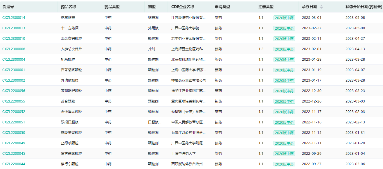
部分获批临床创新药/改良型新药信息(不含补充申请)

图片来源:《药融云医药行业观察周报》
注:想要获取《药融云医药行业观察周报》完整内容,可以关注“药融云(yrydata)”公众号,后台回复关键词“报告”进行领取;或者前往“药融文库(wenku.pharnexcloud.com/?mh)”「原创报告」中进行全文下载。
其中值得注意的有:
(1)GR2002注射液——用于治疗哮喘
智翔金泰的GR2002注射液获得临床试验默示许可,拟用于治疗哮喘。GR2002注射液是一款靶向TSLP双表位的双抗产品,TSLP是一种上皮细胞因子,可以驱动下游T2细胞因子的释放(包括IL-4、IL-5和IL-13等),从而导致哮喘及其他的炎症症状。
据药融云数据库统计,目前全球仅一款TSLP靶向药物上市,即阿斯利康和安进合作开发的Tezspire (tezepelumab)。它是第一个在广泛严重哮喘患者群体中能够持续显著减少病情加重的生物制剂。在2018年,美国FDA授予了tezepelumab突破性药物资格(BTD)。
Tezspire基本信息及临床试验结果查询(部分,完整内容请登录“药融云数据库www.pharnexcloud.com/?mh”查看)

图片来源:药融云/美国FDA批准药品数据库
TSLP在哮喘的研究中是一个备受关注的靶点,因为过敏性气道炎症是哮喘的主要病理生理机制之一,TSLP作为一种免疫调节因子,可以刺激树突状细胞释放促炎性细胞因子,进而引发气道炎症反应。阻断TSLP可阻止免疫细胞释放促炎细胞因子,从而预防哮喘恶化、改善哮喘控制。
在全球范围内,目前TSLP单抗药物研发进度最领先的巨头企业阿斯利康/安进的Tezepelumab已于2021年12月在美国获批上市,在国内已启动III期临床研究。
在国内范围,有两家企业进度较快,分别是康诺亚生物开发的CM-326、博奥信生物和正大天晴共同开发的BSI-045B,均已进入II期临床研究阶段。
TSLP靶点在研药物研发阶段占比

图片来源:药融云全球药物研发数据库
据数据统计,我国成人哮喘患病率为1.24%,并且还在不断增加。随着城市化和环境污染等因素的影响,哮喘已经成为了我国常见的慢性疾病之一。同糖尿病一样,哮喘市场庞大,预计到2029年,全球哮喘市场的规模将达到290亿美元。目前已经上市再生元/赛诺菲的Dupilumab、罗氏Omalizumab、优时比的Reslizumab、葛兰素史克的Mepolizumab以及阿斯利康的Benralizumab都属于重磅级别药物,年销售额超过10亿美元。
Dupilumab(度普利尤单抗注射液)于2020年6月在中国获批上市,用于治疗中至重度特应性皮炎。药融云全国医院销售数据库显示,在医院端市场Dupilumab2022年的销售规模达到7.98亿元,同比增长201.5%。

图片来源:药融云全国医院销售数据库
(2)AL-001眼用注射液——治疗湿性年龄相关性黄斑变性
安龙生物的AL-001眼用注射液获得临床试验默示许可,拟用于治疗湿性年龄相关性黄斑变性(wAMD)。AL-001眼用注射液是利用昆虫细胞-杆状病毒表达载体系统生产的一款抗VEGF蛋白的AAV基因治疗产品,采用先进的微创性脉络膜上腔(SCS)注射给药方式进行给药,使得眼内并发症较少以及眼内炎症反应发生率更低。
AL-001眼用注射液是国内获批的首款通过脉络膜上腔(SCS)注射给药方式,来实现治疗湿性年龄相关性黄斑变性(wAMD)的基因治疗药物。
AL-001眼用注射液审评时间轴-获批临床耗时71天

图片来源:药融云中国药品审评数据库
年龄相关性黄斑变性(AMD)是老年人的主要致盲眼病,分为早期、中期和晚期三个阶段。早期和中期AMD通常不会引起明显的视觉问题,但它们可以通过眼底检查进行诊断。
晚期AMD可以分为两种类型:干性AMD和湿性AMD。干性AMD是最常见的类型,占所有AMD病例的80-90%。虽然它不像湿性AMD那样快速恶化,但它仍然可能导致中央视力减弱。湿性AMD是一种严重的情况,可能导致突然丧失中央视力。在这种情况下,立即治疗非常重要。
AMD的发病率随着年龄的增加而逐渐增加。虽然大多数人在70岁之前都没有明显的症状,但随着年龄的增长,人们患上AMD的风险会急剧升高。事实上,超过65岁的人口中有近30%的人受到AMD的影响。
目前wAMD临床标准治疗是每1个月或2个月进行眼内注射抗VEGF药物,频繁的眼内注射会导致潜在的严重眼内并发症。基因治疗作为一种创新性且具有前景的治疗方法,有望极大降低患者所需眼内注射频率,使患者长期临床获益。
全球AMD治疗药物在研靶点TOP10

图片来源:药融云全球药物研发数据库
(3)消风宣窍颗粒——苏中药业1.1类中药
消风宣窍颗粒是苏中药业申报的1.1类中药,临床默示许可适应症为消风散寒、宣肺利窍。用于儿童过敏性鼻炎(鼻鼽)肺经风寒证,症见鼻塞,鼻痒,喷嚏频作等。
以“处方药味、适应症、苏中”检索Soopat,专利《一种中药组合物及其提取物工艺与应用》(202010842257.7,审中公开)是依据文献《消风宣窍汤对小鼠变应性鼻炎模型效应机制研究》对消风宣窍汤组合物及提取工艺进一步优化而得。
2023年获批临床的1.1类中药信息查询(部分)

图片来源:药融云中国药品审评数据库
药融云中国药品审评数据库显示,截至目前,2023年已获批临床的1.1类中药新药共计15个,包括金玄安脉颗粒、消风宣窍颗粒、羌防流感颗粒、杞菊颗粒、杏芩感咳颗粒、异功散颗粒、诺丽涌颗粒、健脾益肾丸、小儿复方没食子软膏、栀黄贴膏等;涉及19家企业/机构,包括扬子江药业、康缘药业、以岭药业、神威药业等。目前来看,除了中药新药审批提速以外,医保对中药新药的支持力度也在不断加大,预计未来中药新药有望高速放量(《2023年中药创新!8款中成药新药报上市,首款花落谁家?》)。
想要解锁更多药物研发信息吗?查询药融云数据库(vip.pharnexcloud.com/?zmt-mhwz)掌握药物基本信息、市场竞争格局、销售情况与各维度分析、药企研发进展、临床试验情况、申报审批情况、各国上市情况、最新市场动态、市场规模与前景等,以及帮助企业抉择可否投入时提供数据参考!注册立享15天免费试用!

<END>








川公网安备51019002008863号
本网站未发布麻醉药品、精神药品、医疗用毒性药品、放射性药品、戒毒药品和医疗机构制剂的产品信息
收藏
登录后参与评论
暂无评论