据CDE官网,近日浙江康恩贝制药递交的4类仿制化药富马酸伏诺拉生片上市申请获受理。目前,该4亿P-CAB抑酸药国内共有3家企业拥有批文,另有20余家药企布局中。据药融云数据库显示,该药在我国获批较晚,市场还处于前期扩张模式,上升趋势明显,前景可观。

截图来源:CDE官网
据悉,目前临床常用的抑酸药有质子泵抑制剂(PPI)、钾离子竞争性酸阻滞剂(P-CAB)、H2受体阻断剂等,其中PPI应用最广,在抑酸药领域占据了主导份额。P-CAB抑酸药拥有首剂全效、强效抑酸、半衰期较长等优点,相较于PPI,能更快缓解症状。最新中国GERD指南已将P-CAB作为反流性食管炎的首选药物之一,P-CAB或将逐渐替代PPI。
富马酸伏诺拉生片是武田制药原研的新型P-CAB抑酸药,最早面世于2015年2月,在日本获批用于治疗酸相关疾病,包括反流性食管炎、胃溃疡、十二指肠溃疡等。2019年底,才获批进入中国市场,用于治疗反流性食管炎(商品名:沃克),为中国首款获批上市的P-CAB抑酸药。一年后,沃克成功被纳入国家医保药品目录,价格为28元/20mg。
富马酸伏诺拉生片目前在我国还处于前期扩张模式,据药融云统计,2021年该药院内销售额大涨,一举破亿。2022年又同比增长了173%,销售额达到4.29亿,上升趋势明显,前景可观。由于国产仿制药获批较晚,目前该P-CAB抑酸药市场由武田制药一家独享。

截图来源:药融云全国医院销售数据库
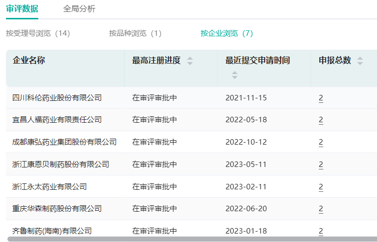
经药融云数据库查询显示,截止目前国内已有2家药企过评富马酸伏诺拉生片:山东新时代药业于2022年7月顺利斩获“国内首仿+首家过评”;扬子江药业子公司四川海汇药业于今年3月第二家获批。另外,还有科伦药业、人福药业、康弘药业、康恩贝制药、永太药业、重庆华森制药和齐鲁制药7家药企以仿制4类申报的富马酸伏诺拉生片上市申请正在审评审批中。
以仿制4类报产富马酸伏诺拉生片的在审企业(截至2023.05.10)

截图来源:药融云中国药品审评数据库
此外,江苏万高药业、石四药、山东朗诺制药、湖南千金湘江药业等近20家药企均正在开展富马酸伏诺拉生片的BE试验;山东新时代药业的2.2类新药富马酸伏诺拉生注射液正在开展临床I期试验,拟用于消化性溃疡出血的治疗。未来,该P-CAB抑酸药在我国将会有越来越多的国产仿制药获批,充盈市场。
参考来源:
[1] NMPA官网
[2] 药融云数据库
想要解锁更多药品信息吗?查询药融云数据库(vip.pharnexcloud.com/?zmt-mhwz)掌握药品各国上市情况、药品批文信息、销售情况与各维度分析、市场竞争格局、一致性评价情况、集采中标情况、药企申报审批信息、最新动态与前景等,以及帮助企业抉择可否投入时提供数据参考!注册立享15天免费试用!

<END>








浙公网安备33011002015279
本网站未发布麻醉药品、精神药品、医疗用毒性药品、放射性药品、戒毒药品和医疗机构制剂的产品信息
收藏
登录后参与评论
暂无评论