
2020年以来,国家药监局陆续出台多个指导文件,重塑药品注册管理和技术评价体系,中药新药上市速度加快。近日,国家药品监督管理局批准了4款中药创新药上市,即以岭药业的的通络明目胶囊、健民药业的小儿紫贝宣肺糖浆、青峰药业的枳实总黄酮片和枳实总黄酮提取物。截至目前,今年已有5个1类中药创新药批准上市。
1. 通络明目胶囊——有效治疗糖尿病视网膜病变
通络明目胶囊是以岭药业研发的一款中药1.1类创新药,用于治疗2型糖尿病视网膜病变非增殖期及增殖前期患病人群。其产品特色为保护视网膜微血管和血-视网膜屏障,改善视网膜功能,有效治疗糖尿病视网膜病变。
通络明目胶囊获批生产-总耗时402天

图片来源:药融云中国药品审评数据库
该药品开展了随机、双盲双模拟、羟苯磺酸钙胶囊平行对照的多中心临床试验。药效实验证实,通络明目胶囊发挥保护视网膜微血管及视网膜细胞综合效应,临床研究证实,治疗DR疗效确切,综合疗效总有效率、中医证候疗效、视力疗效、眼底改变疗效、眼底荧光血管造影疗效均优于对照药物(羟苯磺酸钙),明显改善视物昏花、目睛干涩、面色晦暗、肢体麻木、倦怠乏力、气短懒言、五心烦热、口干咽燥、大便干结等症状,临床应用安全性良好。
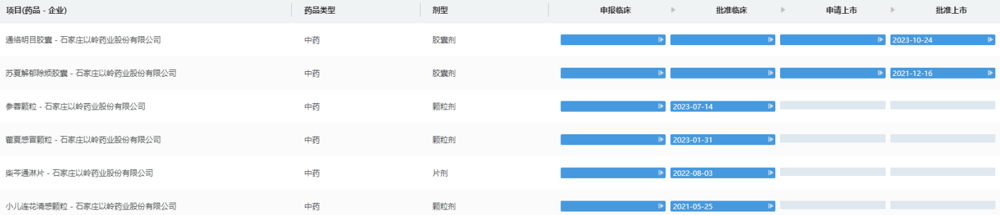
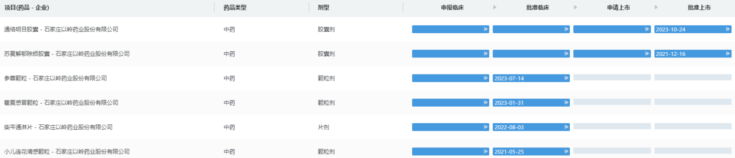
药融云数据库显示,以岭药业目前还有9个中药创新药品种处于临床阶段。其中,治疗类风湿性关节炎的络痹通、治疗慢性胆囊炎的柴黄利胆胶囊、治疗过敏性鼻炎的玉屏通窍片和治疗儿童感冒的小儿连花清感颗粒4个品种,处于临床III期阶段;治疗反复发作尿路感染的柴苓通淋片计划筹备II期临床;治疗胃肠型感冒藿夏感冒颗粒、治疗肌萎缩侧索硬化症的参蓉颗粒、治疗小儿支气管炎的连花清咳颗粒已获临床批件;此外,已上市品种养正消积胶囊新增“癌因性疲乏”适应症获得临床批件。
以岭药业项目进度查询(部分)

图片来源:药融云中国药品审评数据库
此外,在化生药板块,以岭药业也有5个创新药品种进入临床阶段;其中术后镇痛的苯胺洛芬注射液即将报产,治疗急性髓性白血病的XY0206片已获批开展III期临床研究,治疗缺血性脑卒中的XY03-EA片进入II期临床,治疗前列腺癌/子宫肌瘤的G201-NA胶囊和治疗“晚期实体瘤”的生物药BIO-008也获批开展临床研究。BIO-008是以岭药业布局的首款抗肿瘤生物药。
以岭药业作为国内中药创新药龙头,其研发实力还是有目共睹的。从研发方向及进展看,其重点布局中医药板块的研发管线,在创新络病理论指导下,围绕心脑血管病、呼吸、内分泌、神经、肿瘤、泌尿发病率高的六大类疾病,开发了一系列拥有自主知识产权的专利中药。
2. 小儿紫贝宣肺糖浆——治疗小儿急性支气管炎
健民药业集团(健民集团[600976])申报的中药1.1类创新药小儿紫贝宣肺糖浆获批上市,该药品疏散风热、宣肺止咳,用于小儿急性支气管炎风热犯肺证的咳嗽,伴咳痰、汗出、咽痛、口渴,舌苔薄黄,脉浮数,为急性支气管炎的咳嗽患儿提供了又一种治疗选择。
药融云数据库显示,健民药业集团积极布局儿科用药产品线,其独家产品龙牡壮骨颗粒2022年在中国零售终端销售额接近7亿元,稳居儿科中成药产品TOP1;其在研儿科新制剂项目多达20余项,产品包括托莫西汀口服溶液、拉考沙胺口服溶液、氨溴特罗口服溶液、地夸磷索钠滴眼液、特布他林雾化吸入溶液等。
龙牡壮骨颗粒全国药店零售销售趋势

图片来源:药融云全国药店零售数据库
健民集团的医药工业主要依托“健民”、“龙牡”、“叶开泰”三大品牌,立足中药产业,以中药制造为核心,深耕儿童用药和儿童大健康领域。其OTC产品线第一大单品为龙牡壮骨颗粒,是儿科补益类产品。其次,健民龙牡壮骨颗粒、便通胶囊、健民咽喉片等也有不俗的销量。
处方药产品线主要产品包括健脾生血片(颗粒)、小金胶囊、拔毒生肌散、雌二醇凝胶和七蕊胃舒胶囊等。七蕊胃舒胶囊是2021年底获批的中药1.1类新药。
3. 枳实总黄酮片——治疗功能性消化不良
国家药品监督管理局批准了1.2类中药创新药枳实总黄酮片(奥兰替胃康片)的上市注册申请,其药品上市许可持有人为江西青峰药业,这也是青峰医药首个获批上市的创新中药。该药的主要成份是从枳实中提取得到的总黄酮类成份。
临床试验结果显示与安慰剂对照组间比较有统计学差异,可用于功能性消化不良的餐后饱胀感、早饱、上腹烧灼感和上腹疼痛等的治疗,为功能性消化不良患者提供了又一种治疗选择。
枳实总黄酮片批准生产-总耗时390天

图片来源:药融云中国药品审评数据库
据悉,枳实总黄酮片研发历时近18年,拥有6项核心专利,是我国功能性消化不良领域近十年首个1类创新中药,也是全球首创的天然胃肠动力药。
大爆发!8款1类中药新药进入上市冲刺期
近年来,中医药行业利好政策密集出台,鼓励中药传承创新的力度正不断加大。我国中医药行业正面临前所未有的政策机遇期,中药新药申报上市数量和获批临床数量不断攀升。
据药融云中国药品审评数据库显示,目前还有6款1类中成药报产在审,包括银朵兰药业的比那甫西颗粒、时代阳光药业的玄黄润通片、齐进药业/葵花药业的荆门上清丸、方盛健盟药业/方盛制药的诺丽通颗粒、亚宝药业/卓和药业的风叶咳喘平口服液、华西天然药物的拈痛祛风颗粒,而复星医药的芍药舒筋片和沙松实业/天方药业的脑伤乐生颗粒,报产或被批准。
<END>
要解锁更多企业药品研发信息吗?查询药融云数据库(vip.pharnexcloud.com/?zmt-mhwz)掌握药品各国上市情况、药品批文信息、销售情况与各维度分析、市场竞争格局、一致性评价情况、集采中标情况、药企申报审批信息、最新动态与前景等,以及帮助企业抉择可否投入时提供数据参考!注册立享15天免费试用!








川公网安备51019002008863号
本网站未发布麻醉药品、精神药品、医疗用毒性药品、放射性药品、戒毒药品和医疗机构制剂的产品信息
收藏
登录后参与评论
暂无评论