
口腔崩解片( Orally Disintegrating Tablets,ODT) 简称口崩片,系指在口腔内不需要用水即能迅速崩解或溶解的片剂。一般适合于小剂量原料药物,常用于吞咽困难或不配合服药的患者。口崩片应在口腔内迅速崩解或溶解、口感良好、容易吞咽,对口腔黏膜无刺激性。其在口腔中仅通过微量唾液在数秒内即可快速崩解成微小颗粒甚至液态,服用方便,无需用水,除了可消除患者的吞咽困难障碍的优点外,其还具有迅速起效的作用,置舌下后即可快速溶出并通过口腔粘膜吸收,经胃前粘膜直接进入上腔静脉,5~15min即可达血药浓度峰值,同时避免肝脏首过效应,生物利用度高。
因其具备上述优势而倍受临床欢迎,特别是对一些特殊的疾病领域。因为其服用方式和吸收途径的特殊性,对崩解时限评价要求相比普通片剂要更加严格。这关乎到产品的有效性和质量的一致性。虽然中国、美国等主流药典都有收载口崩片崩解时限检测方法,但因为这些评价方法存在水用量大,片剂振荡幅度大等和实际口腔给药环境差异大的问题,不能真正反映口腔中的崩解行为,也难以区分产品质量。如中国药典要求的口崩片崩解时限测定仪,其用水量为900ml,升降的支架上下移动距离为10mm,往返频率为每分钟30次 。

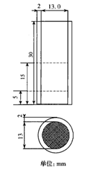
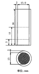
图1.中国药典收载口崩片测定崩解篮
口崩片需要在口腔微量唾液中迅速崩解,且崩解后的颗粒要足够小,无砂砾感。如此才能达到起效迅速,同时具有良好的口感。根据CDE发布的《口腔崩解片的剂型特点和质量控制会议纪要》对口崩片崩解时限检测有如下要求:崩解时间在一分钟以内,介质首选用水,用量应小于2ml,温度为37℃,采用静态方法,另应有粒度控制项目(应小于分散片的710µm)。为了确定可行的方法,建议同时设计几个方法来比较,也要同时做志愿者人体适应性实验,结合口腔具体生理环境,考虑重现性、分辨率、相关性和可操作性因素,加以研究、制订并统一。以上要求是国内官方最明确的指导意见,但具体如何测定崩解时限,并没有给出更进一步的操作方法,需要根据具体项目自行开发并验证。具体操作上有以下方法可供选择参考。
- 容器倾倒法
将口崩片置于装有2ml 37℃水的玻璃容器中 (例如内径1cm,高度 2cm的玻璃容器),当其接触水面时,开始计时,目测片剂崩解至无片心,可判定为崩解完毕,然后将溶液倾倒于25目筛网上至全部通过筛网。测定6次,取其平均值。该方法操作简单,但是对于片重较大的样品,因为水量较少,溶液混浊会导致判断崩解终点有较大的误差,表现在崩解终点的判定误差较大( RSD值相对较高),另外,因为水量太少,倾倒时水快速通过筛网,而本来可以通过筛网的崩解物被截留在筛网上,这样容易产生对砂砾感 (粒度)结果的误判。
- 滴定管液滴法
测定装置主要由铁架台、筛网、滴定管、接液装置组成,具体如图2所示。测定方法如下:将滴定管中装满 37℃水至0刻度,控制好水滴速度 (以2ml/min为宜),水滴距片剂垂直距离不大于2cm。将片剂置于筛网上,使滴定管中的水恰能滴到片剂上,开始计时,当片剂溶解并从筛网中全部漏下这段时间记为崩解时间。本方法具有以下优点:①水滴缓慢滴落至片剂上,片剂由润湿到崩解能一定程度上模拟口腔内部的生理环境。②水滴滴落的距离为2.0cm,冲击力对片剂或颗粒的影响非常小。③当片剂崩解后由筛网完全落下,试验结束后筛网上没有残留颗粒即能够反映该制剂的砂砾感程度。但是由于水量非常有限 (2ml),对于片重较小、直径较小的口崩片,采用该法较为适宜。对于片重较大、直径较大的口崩片,由于在崩解过程中的前期阶段口崩片吸水后会迅速膨胀散开,覆盖筛网较大的面积,这时在崩解的后期阶段就需要不断平移筛网,以使水滴能够把大面积的膨胀物洗脱过筛网。这样一来,片剂崩解所需水量和片剂的片重就不再呈线性关系。较大的片子所需的水量会大大增加,违背了模拟口腔内部环境的初衷。所以此法不太适合于片重较大、直径较大的口崩片。

图2. 滴定管液滴法示意图
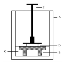
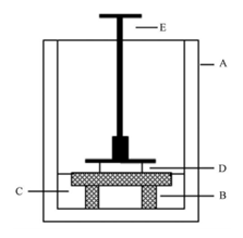
- 模拟口腔挤压法
如图3所示,将筛网固定于玻璃崩解杯中,杯中崩解介质是水,水温为37℃,水面刚刚没过筛网。将待测口崩片置于筛网上,筛网材料要有一定的刚性和弹性,口崩片上方是可以对其产生压力的转子,转子能够带动口崩片转动,压力和转速可调节。将转子放在口崩片上,口崩片刚刚能接触到崩解介质时开始计时,随着转子的转动口崩片会崩解并分散到筛网下面的崩解介质中,以口崩片完全漏下筛网为崩解完毕。该装置能较真实地测试口崩片的崩解性能,装置的转子对口崩片产生压力可以模拟口腔闭合时上颚对药片的挤压作用,转子带动口崩片缓慢转动模拟了舌头的轻微搅动。虽然有以上优点,因为没有工业化的产品,如何设计合适的筛网,以及精确控制转子压力都是不小的挑战。

图3.模拟口腔挤压法示意图
(A:玻璃崩解杯;B:筛网;C:崩解介质;D:口崩片;E:转子)
- 可移动筛网检查法
该方法所用装置主要包括筛篮和烧杯,所述筛篮为直径15mm、高30mm的不锈钢管(或玻璃管),底部连接25目筛。所述烧杯上部内径略大于筛篮,下部为圆弧状,圆弧端高7mm,烧杯底部有可固定的底座。

图4.可移动筛网检查法示意图
检测时将筛篮放入烧杯中,固定不锈钢管(或玻璃管) 使筛网与烧杯底部距离约为10mm,量取水倒入烧杯中使液面与筛网高度一致,再精密量取2ml水倒入烧杯中,置37℃水浴中恒温30分钟,待水温平衡,取本品1片平放于筛网中央,从药片接触水面开始计时,药片不断崩散,当水中片剂无崩散现象时停止计时,立刻快速将不锈钢筛篮提离水面。本法装置相对简单,通过快速将带有筛篮的容器提离水面,筛网上应无粒径大于筛网孔径的大颗粒留存,若有泡沫状粘性物质粘附于筛网表面,应视为已崩解,可有效的判断口崩片的崩解情况。对于片重较大的口崩片,本方法具有一定优势。
- 摇床过筛法
具体装置如图5所示,将10目筛子放置在玻璃圆筒内,使2 ml崩解介质可以填充在圆筒底部和筛子之间。将3ml水倒入装置中,使筛子下方有2ml水,筛子上方有1ml水。 该设备放置在摇床水浴上,将温度保持在37 °C。当片剂浸入崩解介质中时,摇床以150 rpm的速度来回水平运动。记录片剂颗粒通过筛子的时间作为崩解时间。该方法通过摇床晃动更容易将崩解的颗粒通过筛网,但是晃动过程可能带来不容易观察片剂完全崩解的时间。

图5.摇床过筛法示意图
综上所述,崩解时限测定装置都是结合口崩片的崩解特点,自行设计的装置,分别拥有各自的优缺点,并不适合所有的项目,但其设计理念和思路可以作为我们开发具体产品方法上的一个借鉴。具体方法开发上,还是要结合口腔具体生理环境,考虑重现性、分辨率、相关性和可操作性因素,加以研究、制订并统一。
参考文献:
[1]王晓玲, 钟武. 新型口腔崩解用冻干片剂的研究进展[C]// 中国毒理学会灾害与应急毒理学专业委员会第一次全国学术交流会. 2016.
[2]高丽, 孙浩. 口腔崩解片崩解时限检测方法的研究[J]. 黑龙江医药, 2011, 24(4):4.
[3]姚方耀, 刘欢, 刘衡,等. 口腔崩解片体外崩解评价方法探讨[J]. 中国药学杂志, 2007, 42(4):276-278.
[4]佟晔, 丁雪鹰, 高静,等. 中药口崩片体外崩解时限测定方法的研究[J]. 第二军医大学学报, 2009, 30(7):4.
[5] Fu Y , Jeong S H , Callihan J , et al. Preparation of Fast-Dissolving Tablets Based on Mannose[J]. Acs Symposium, 2006, 924:340-351.
[6] CDE发布的《口腔崩解片的剂型特点和质量控制会议纪要》
[7] 2020版《中国药典四部》
<END>







川公网安备51019002008863号
本网站未发布麻醉药品、精神药品、医疗用毒性药品、放射性药品、戒毒药品和医疗机构制剂的产品信息
收藏
登录后参与评论
暂无评论