
新库上线
· 新增【人类遗传资源行政许可数据库】,行业参考数据库群下的人类遗传资源行政许可数据库。
功能优化
· 对全球药物研发、销售库群、药品招投标、用量推算等数据库的数据检索与分析功能进行了升级优化。
数据更新
· 更新了市场与准入板块下药品集中采购数据库中的国采品种数据,以及医保目录数据库的医保目录数据信息。
新库上线
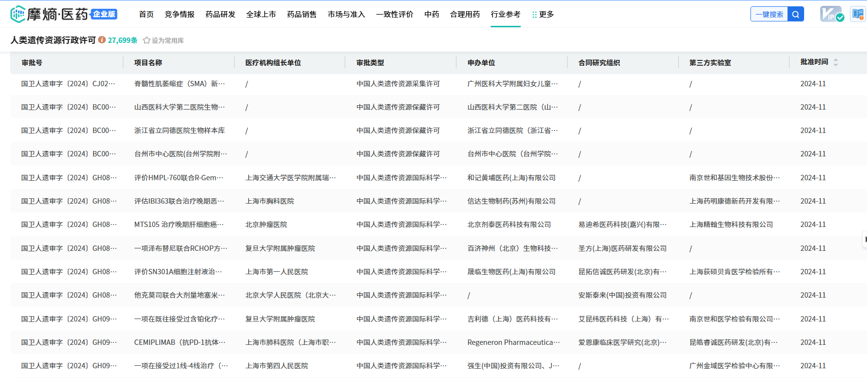
本次更新,我们新上线了1个全新的数据库,“行业参考”数据库群下的人类遗传资源行政许可数据库。
人类遗传资源行政许可数据库
数据库收集了公开的人类遗传资源行政许可信息,涵盖国际合作科研审批、遗传资源采集审批和材料出境审批等多个方面。用户可以通过关键词检索及条件筛选功能,轻松检索到审批号、审批类型及申办单位等详细信息。

此数据库不仅助力研究者深入了解许可要求和流程,提高申请通过率,同时也为主管部门、审查专家加强监管提供了便利,确保伦理审查委员会对研究伦理性的保障,以及资源提供方的合法供应。

此外,该数据库紧密连接人类遗传资源研究的各个环节,推动研究行为的规范化,保障公众利益。它对于提升人类遗传资源治理体系的透明度、优化研究环境具有显著作用。同时,在连接全球人类遗传资源研究网络、展示我国科研实力、促进国际合作等方面具有积极意义。

申请试用地址: https://vip.pharnexcloud.com/database/more?auto=1
功能优化
本次更新,我们还对竞争情报、药品销售、市场准入、一致性评价、原料药专版等板块下的全球药物研发、销售库群、药品招投标、用量推算等数据库的数据检索与分析功能进行了升级优化,方便您更加精准地筛选到目标信息,对目标数据进行处理分析,让工作更加高效便捷。
全球药物研发数据库
新版搜索功能正式上线,现在将条件筛选、高级检索和综合检索功能固定在页面顶部,便于用户快速选择不同的搜索方式来查询药品信息。

在条件筛选部分,靶点、药物类型、ATC分类、剂型、给药途径、国家/地区、适应症均支持层级筛选,同时药物化学结构搜索还支持绘制化学式进行精准检索及子结构检索。



在高级检索方面,同样支持靶点的层级筛选,并新增了检索组功能,优先展示推荐的检索条件,使用户能够一键快速查询药品的基本信息、企业详情以及适应症等关键内容。

药品销售数据库群
四大销售数据库——全国医院销售数据、全国医院销售(全终端)、全国药店零售数据、全国样本医院销售数据库,增加销售量的提示说明,明确销售量单位为“最小制剂单位(片/支/颗/袋等)”,方便用户进行单位转换。

此外,这四大销售数据库以及网上药店销售数据库的年度、季度趋势统计分析功能,优化了最新年份的增长率;其中,全国医院销售(全终端)、全国药店零售数据库的该分析功能中,还新增了预测统计值,方便您预测市场的未来销售趋势和走向。

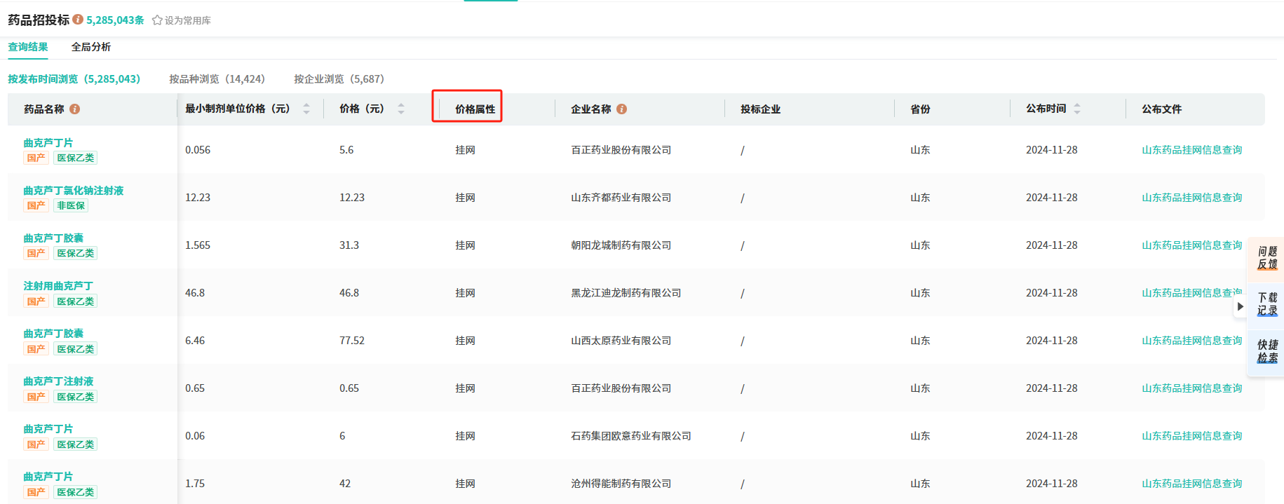
药品招投标数据库
新增【公布文件】的搜索项,让您能够迅速通过中标结果的文件名定位所需数据,极大地提升了查询效率。

同时,在列表页我们也增设了【价格属性】显示字段,便于您直观浏览不同价格属性的药品信息,从而更有效地进行行业情报分析,为招投标决策提供坚实的数据支撑。

一致性评价数据库
对全局分析功能进行了全面优化,升级了最新动态与一致性评价总览的界面设计,丰富了数据展示维度,确保信息的呈现更加清晰直观。

同时,新增了两个关键分析维度:“国采品种分析”与“仿制参比分析”,方便您深入剖析国家集采品种的相关数据,洞察不同目录下仿制药与其参比药品的排名情况及数量分布,为您的决策提供更加精准的数据支持。

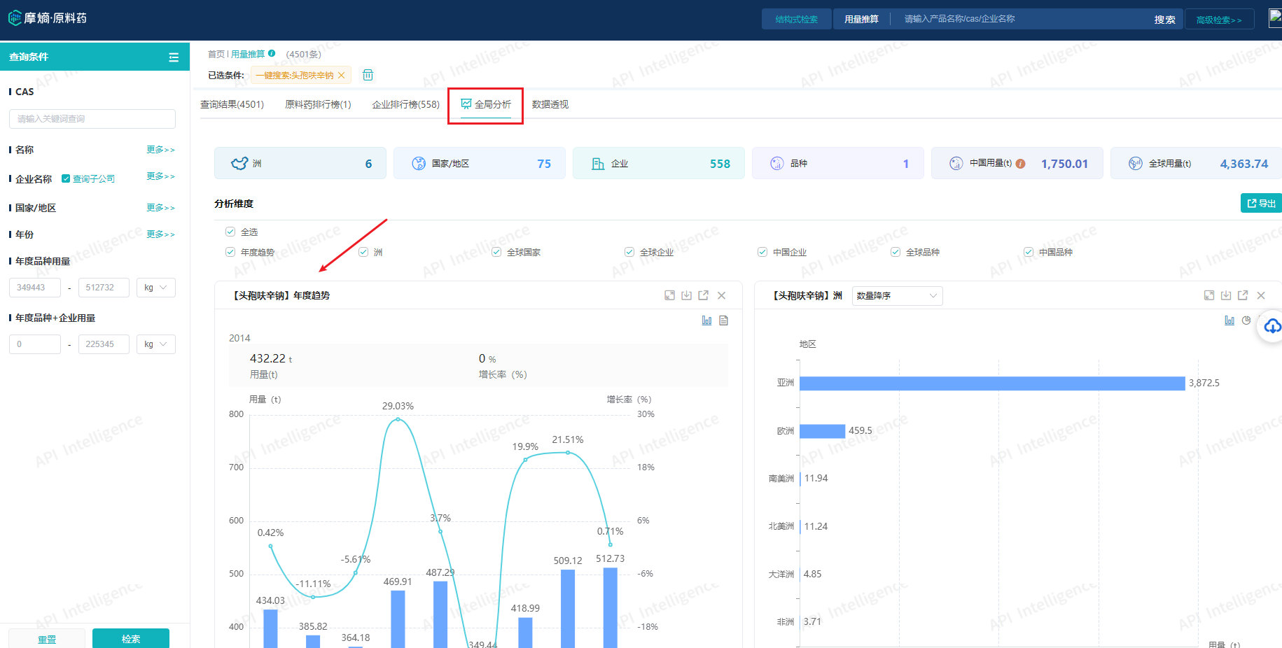
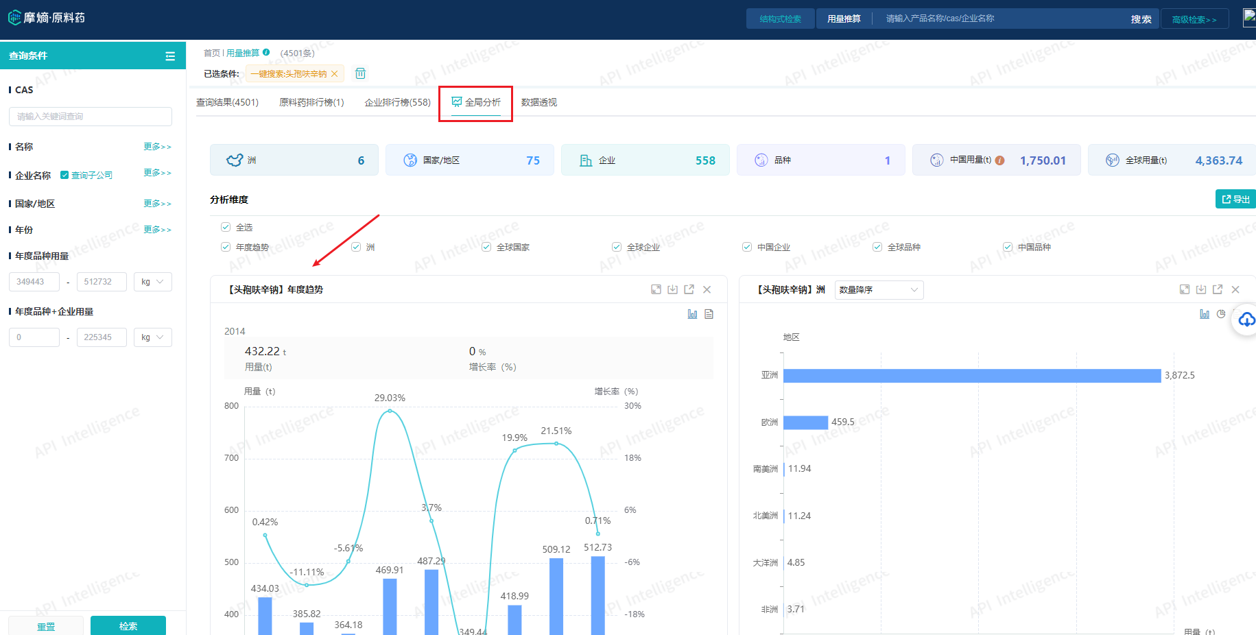
原料药专版数据库
原料药专版数据库的用量推算板块,其全局分析增加搜索条件作为图标表头功能,极大地提升了用户在进行数据分析和分类时的便捷性,使用户能够更高效地挖掘和利用数据,以满足其特定的分析需求。

数据更新
与此同时,我们还更新了市场与准入板块下药品集中采购数据库中的国采品种数据,以及医保目录数据库的医保目录数据信息。
药品集中采购数据库
增加了“第十批国采品种”的相关数据内容,方便您查看分析第十批国家药品集采的中选品种、采购量、中选企业、中选价格、剂型分布、治疗领域分布等详细情况,是药品采购新形势下医药企业进行价格决策的必不可少的助力工具。


医保目录数据库
上线了2024年版医保数据,目前该数据库已收录了国家2024、2023、2022、2021、2020、2019、2017、2009年版医保目录以及全国31个省市发布的最新地方医保目录,总计七万余条数据,可以帮助您分析国内药品市场需求层次及准入环境,合理规划产品线及制订营销策略。

本次的更新小报就到这里,这次的新变化你还满意吗?更多细节更新,等您来体验。
摩熵医药数据库目前已上线网页端(和微信小程序),在网页端地址栏输入pharma.bcpmdata.com ,进入首页,右上角点击登陆/注册即可体验。
摩熵医药团队不断打磨数据库,致力于为用户提供国内最权威的医药数据智能分析解决方案,也欢迎大家向我们提出关于数据库的宝贵意见!
想要解锁更多药物研发信息吗?查询摩熵医药(原药融云)数据库(vip.pharnexcloud.com/?zmt-mhwz)掌握药物基本信息、市场竞争格局、销售情况与各维度分析、药企研发进展、临床试验情况、申报审批情况、各国上市情况、最新市场动态、市场规模与前景等,以及帮助企业抉择可否投入时提供数据参考!注册立享15天免费试用!








川公网安备51019002008863号
本网站未发布麻醉药品、精神药品、医疗用毒性药品、放射性药品、戒毒药品和医疗机构制剂的产品信息
收藏
登录后参与评论
暂无评论