
本期亮点:
新库上线——更新了销售数据库群下子数据库的名称和排版,并新上线了【全终端医院销售(含省份)】、【重点城市医院销售】、【实体药店销售(2019至今)】、【网上药店销售(2021至今)】四个子库。并新转入了两个数据库,原属于【市场与准入】库群下的“全国医院大全数据库”和原属于【行业参考】库群下的“药品经营企业(含药店)数据库”.......
数据更新——新增了原料药专版的用量推算数据库和药品研发数据库群下的临床试验结果数据库,以及销售数据库群下6个数据库的数据信息。
一、新库上线
本次更新,我们更新了销售数据库群下子数据库的名称和排版,并新上线了【全终端医院销售(含省份)】、【重点城市医院销售】、【实体药店销售(2019至今)】、【网上药店销售(2021至今)】四个子库。
销售数据库群—新旧数据库名称对照表

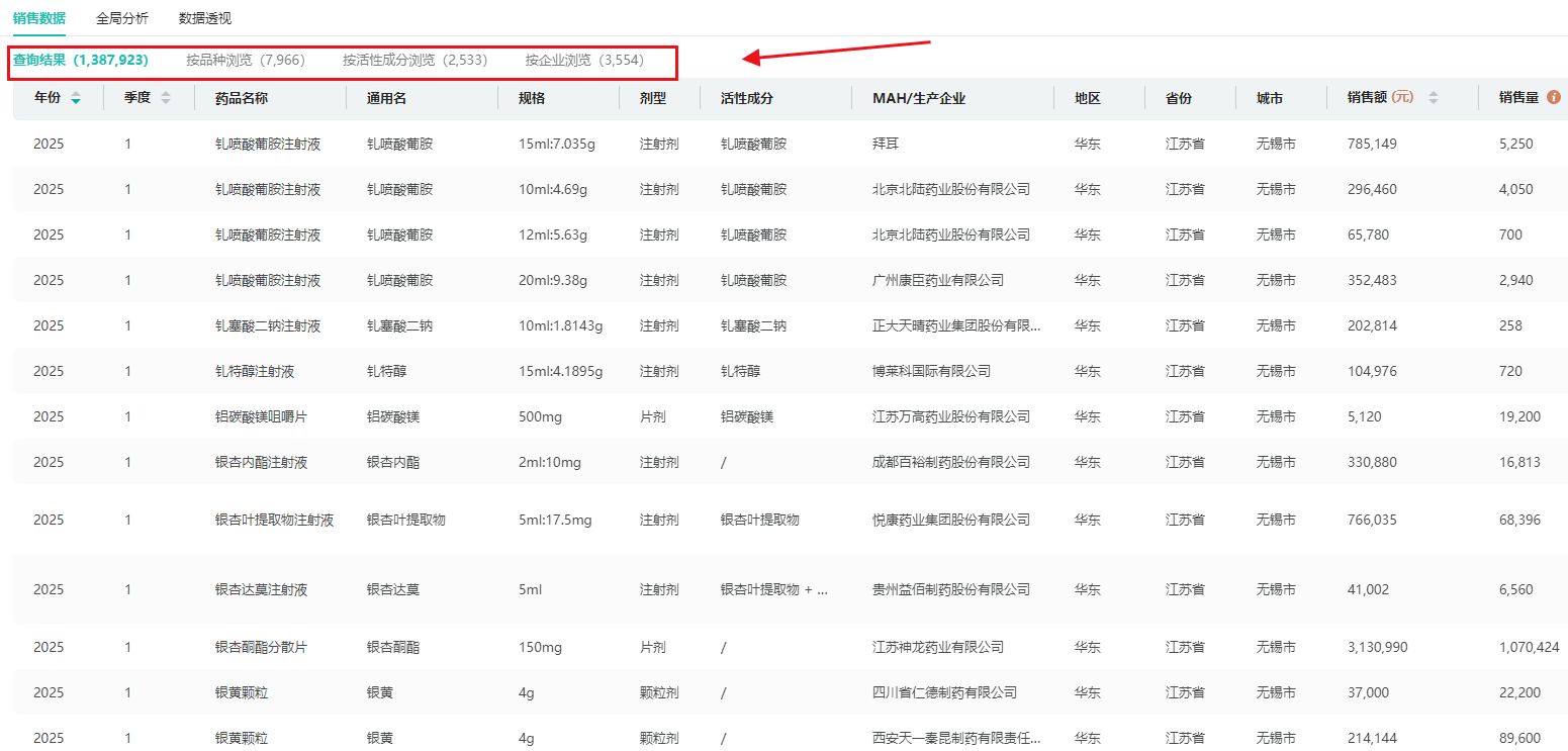
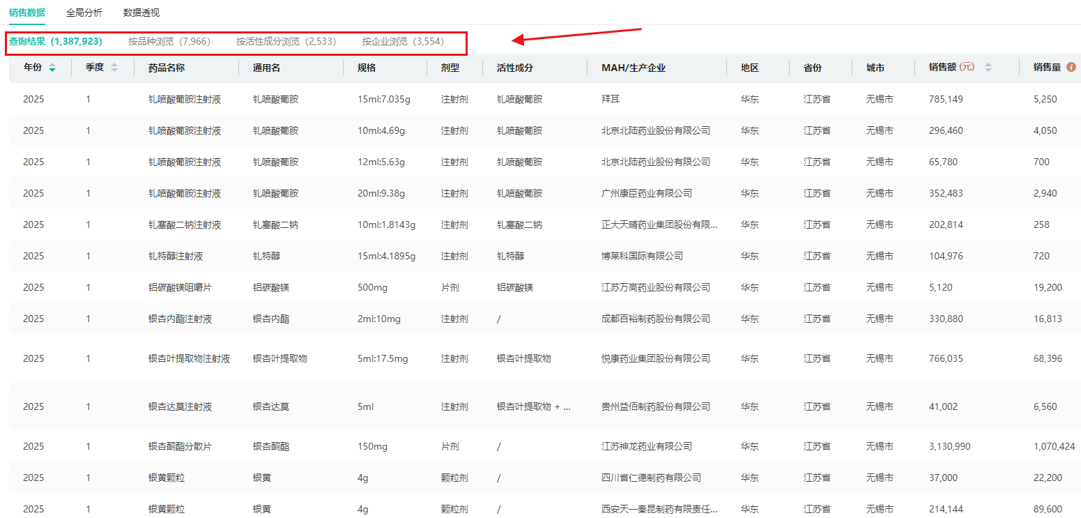
1、全终端医院销售(含省份)数据库
基于全国2200+家二级及以上医院(含1795家综合、473家专科,床位≥100)的分层抽样,结合医院数量、床位、类型、地域疾病及医疗水平,通过专业模型放大,覆盖超10000家二级及以上医院、约12000家一级医院、10000家未定级医院及98万家基层卫生机构(以社区卫生服务中心、乡镇卫生院为主)。


在全终端医院销售数据基础上,本数据库将地理维度细化至省级,能更精准把握不同地区市场需求与竞争格局。药物覆盖全面,既包含14大类、90个亚类共5000余个通用名的化学药/生物药,也涵盖13大类共6000余个通用名的中成药。查询方式灵活,支持按药品、企业、ATC分类、剂型、用药途径、年份等多条件筛选;分析维度丰富,可实现年度趋势、季度趋势、企业/品种/剂型/规格/用药途径销售格局等分析,且支持以可视化图表与原始数据两种形式呈现并提供下载。

2、重点城市医院销售数据库
主要源于合作医院采购数据、合作药企发货数据、部分医药流通企业的合作数据等多种可靠数据源,通过专业的数据清洗整合形成了重点城市医院销售数据库。数据样本覆盖约3000+医院,覆盖全国31省39个重点城市。药物全面涵盖化学药/生物药及中成药,其中化学药/生物药物涉及15个大类、90个亚类,4800+个通用名品种;中成药涉及13个大类,70个亚类,4000+个通用名品种。数据库支持多条件筛选与多维度可视化分析,精准呈现区域销售格局、企业/品种竞争态势及市场动态趋势,是洞察重点城市医院销售表现、预测市场变化的核心决策工具。



而新增的【实体药店销售(2019年至今)】与【网上药店销售(2021年至今)】数据库,与原有的【实体药店销售(2019-2024Q2)】及【网上药店销售(2013-2024Q2)】相比,主要区别在于:原有数据库包含更详细的规格及转换系数信息,且以历史数据为主;而新增的两个数据库更新频率更高,能够提供更及时的市场动态。

与此同时,【销售数据】库群下还新转入了两个数据库,原属于【市场与准入】库群下的“全国医院大全数据库”和原属于【行业参考】库群下的“药品经营企业(含药店)数据库”。

二、数据更新
本次更新,我们新增了原料药专版的用量推算数据库和药品研发数据库群下的临床试验结果数据库,以及销售数据库群下6个数据库的数据信息。
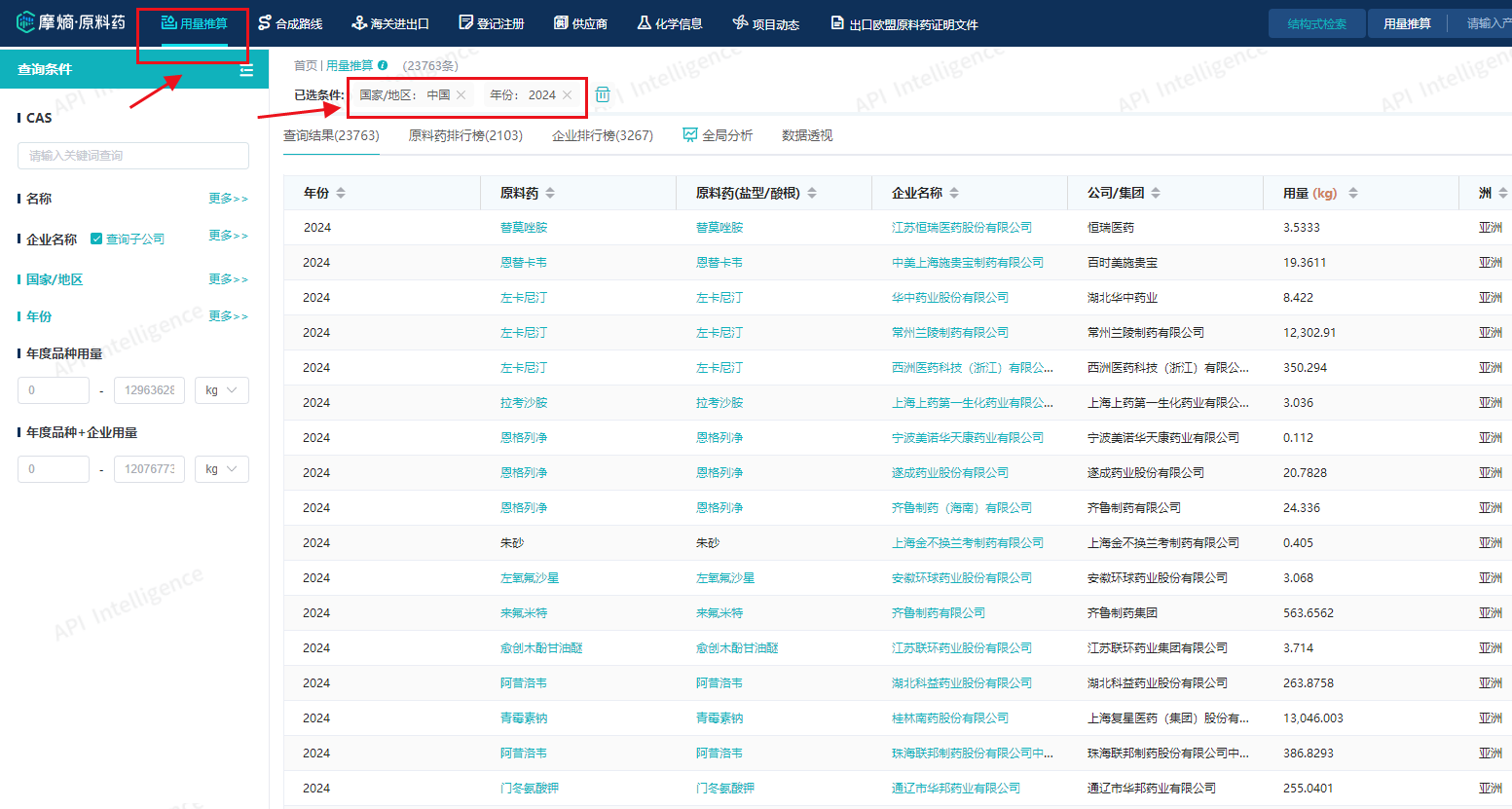
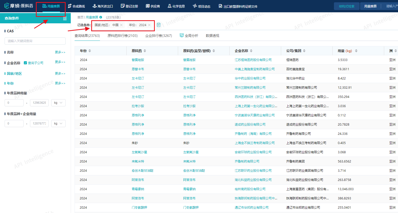
1、原料药用量推算数据库
更新了2024年度国内原料药用量的数据,为用户把握本土原料药动态提供坚实的数据基础。目前,数据库总数据量已超过582万条,覆盖不同品种、生产企业、国家市场及多个年份的详细用量、市场占比与排名信息。用户可通过多维度灵活检索,分析目标原料药在特定市场中的近年用量趋势,进而准确研判规模变化、快速定位潜在客户及竞争对手,为供应链策略优化和市场竞争分析提供可靠的数据支撑。


2、临床试验结果数据库
新上线EHA、ELCC、IDWEEK、SABCS、AAN等12个国际权威学术会议的研究数据,覆盖血液学、肺癌、感染病、乳腺癌及神经病学等多个疾病领域。同时,还对ASCO、ESMO、ASH、AACR、SITC、EULAR、ACR这7个原有会议的数据进行了2025年度更新,进一步提升了数据库的全面性和时效性。本数据库广泛整合全球多个国家及地区的临床试验数据,来源包括权威期刊文献、学术会议报告、企业公告及专业新闻资讯,为用户提供可靠、多维度的证据支持,是您评价药物相关药效的得力帮手。


3、销售数据库群
多个核心数据库已完成最新数据更新。其中,重点城市医院销售、全终端医院销售(含省份)、网上药店销售(2021至今)三个数据库的数据已更新至2025年第一季度,实体药店销售(2019至今)数据库已同步至2025年第二季度,而二级以上医院销售与全终端医院销售数据库的数据已更新至2024年第四季度,为您提供更全面、及时的市场销售视图。



申请试用地址: https://vip.pharnexcloud.com/?auto=1
更多细节更新,等您来体验!
摩熵医药数据库目前已上线网页端和微信小程序。
摩熵医药企业版,在网页端地址栏输入pharma.bcpmdata.com ,进入首页,右上角点击登陆/注册,微信扫一扫,填写相关信息即可注册成功。
小程序个人版,在微信搜索摩熵医药,点击打开,即可随时随地掌握药品研发、审评、集采信息。
想要解锁更多药物研发信息吗?查询摩熵医药(原药融云)数据库(vip.pharnexcloud.com/?zmt-mhwz)掌握药物基本信息、市场竞争格局、销售情况与各维度分析、药企研发进展、临床试验情况、申报审批情况、各国上市情况、最新市场动态、市场规模与前景等,以及帮助企业抉择可否投入时提供数据参考!注册立享15天免费试用!








川公网安备51019002008863号
本网站未发布麻醉药品、精神药品、医疗用毒性药品、放射性药品、戒毒药品和医疗机构制剂的产品信息
收藏
登录后参与评论
暂无评论