
药融云数据库的新功能、新数据和各项优化又火热上线啦!本次更新,我们对全球上市药品专利、全国医院销售数据、全国医院销售(全终端)、全国药店零售数据、全国样本医院销售数据、原料药用量推算6个数据库的筛选项、数据分析、数据导出等功能进行了优化升级,方便您更精准地锁定目标信息,更全面地分析数据信息,让工作更加高效便捷。
亮 点 预 览
功能优化:对对全球上市药品专利、全国医院销售数据、全国医院销售(全终端)、全国药店零售数据、全国样本医院销售数据、原料药用量推算6个数据库的筛选项、数据分析、数据导出等功能进行了优化升级。
新库上线:上线了1个全新的数据库,中药数据库群下的中药材GAP基地数据库。
数据更新:更新了全国医院销售数据、全国样本医院销售数据2个数据库。
一、功能优化
1. 全球上市药品专利数据库
详情页的“专利登记信息、专利声明信息、补充保护证书信息”新增导出功能,方便用户一键导出所需信息,有助于提升信息获取、分析和应用的效率和质量。

数据库提供医药领域覆盖全球的上市药品专利信息,能够为研发立项、技术研发及投融资活动等工作提供更多技术性、法律性的参考价值。
2. 销售数据库群
全国医院销售数据、全国医院销售(全终端)、全国药店零售数据、以及全国样本医院销售数据4个数据库的全局分析板块,新增药品、企业、ATC分析数据一键导出功能,方便您能够更高效地获取、分析和利用关键数据信息,提高数据处理的便捷性和灵活性,从而支持更精准的市场决策和战略规划。


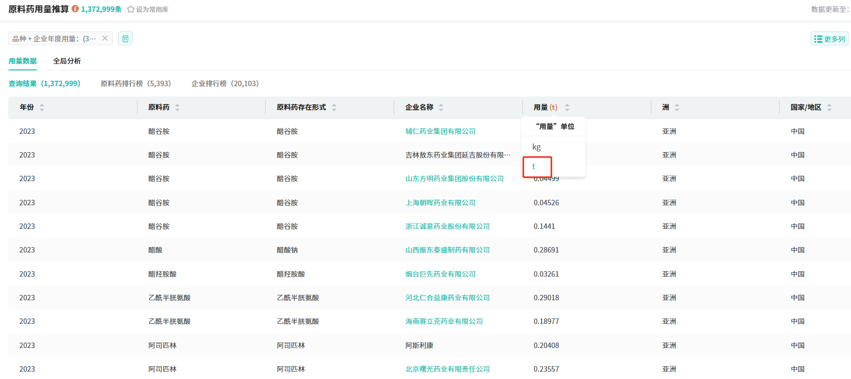
3. 原料药用量推算数据库
数据检索方面,新增按“品种”年度用量区间和“品种+企业”年度用量区间进行精准搜索的筛选功能,通过设定年度用量区间,您可以轻松获取到某个品种原料药在不同年份的市场用量情况,从而更准确地分析市场趋势、供需变化以及竞争格局。

信息展示方面,原料药用量新增切换不同单位查看数据的功能,您可以灵活选择kg或t查看数据,无需自行进行单位换算,不仅提升了用户体验和数据可读性,还增强了数据的灵活性和可用性,提高工作效率,降低错误风险。

数据分析方面,全局分析增加搜索条件作为图表表头功能,您可以根据自己的需求,轻松创建个性化图表;同时搜索条件直接反映了数据的维度和范围,使得图表更加清晰易懂。


二、新库上线
本次更新,我们上线了1个全新的数据库,中药数据库群下的中药材GAP基地数据库。
1. 中药材GAP基地数据库
收录了国家及各省市药品监督管理局公布的通过中药材GAP延伸检查、中药材GAP检查的中药材基地信息,并根据官网发布信息及时更新;数据库提供方便、快捷、全面的检索方式,展示内容包括中药材品种、中药材生产企业、基地所在地区、基地面积、公告时间等信息,便于用户了解全国中药材GAP基地的基本概况。


三、数据更新
与此同时,我们还更新了全国医院销售数据、全国样本医院销售数据2个数据库。


2024年第一季度的数据信息,通过最新的销售数据,方便用户可以迅速获得当前市场的最新动态,洞察市场格局和竞争态势,从而制定更加有效的竞争策略、产品布局,以更好地满足市场需求。


药融云数据库目前已上线网页端和微信小程序。
药融云数据库目前已上线网页端和微信小程序。药融云企业版,在网页端地址栏输入pharma.bcpmdata.com ,进入首页,右上角点击登陆/注册,微信扫一扫,填写相关信息即可注册成功。
小程序个人版,在微信搜索药融云,点击打开,即可随时随地掌握药品研发、审评、集采信息。更多细节更新,等您来体验!
申请试用地址: https://vip.pharnexcloud.com/database/more?auto=1
<END>
想要解锁更多药物研发信息吗?查询药融云数据库(vip.pharnexcloud.com/?zmt-mhwz)掌握药物基本信息、市场竞争格局、销售情况与各维度分析、药企研发进展、临床试验情况、申报审批情况、各国上市情况、最新市场动态、市场规模与前景等,以及帮助企业抉择可否投入时提供数据参考!注册立享15天免费试用!








浙公网安备33011002015279
本网站未发布麻醉药品、精神药品、医疗用毒性药品、放射性药品、戒毒药品和医疗机构制剂的产品信息
收藏
登录后参与评论
暂无评论