一、微球制剂概述
1. 微球制剂的定义及分类
微粒制剂,也称微粒给药系统(microparticle drug delivery system,MDDS),系指药物或与适宜载体(一般为生物可降解材料),经过一定的分散包埋技术制得具有一定粒径(微米级或纳米级)的微粒组成的固态、液态或气态药物制剂,具有掩盖药物的不良气味与口味、液态药物固态化、减少复方药物的配伍变化,提高难溶性药物的溶解度,或提高药物的生物利用度,或改善药物的稳定性,或降低药物不良反应,或延缓药物释放、提高药物靶向性等作用的一大类新型药物制剂。
微粒给药系统根据药剂学分散系统分类原则可以分为微米分散体系和纳米分散体系。微米分散体系大小在1-500μm,包括微囊、微球和亚微乳;纳米分散体系<1000 nm,包括脂质体、纳米乳、纳米粒及聚合物胶束。

微球(Microsphere)指药物溶解或分散在载体辅料中形成的微小球状实体,通常粒径在1~250μm之间。

2. 微球的释药机制
微球被注射进人体后(粒径较大,一般为皮下注射或者肌肉注射),在生理环境下,外壳的聚合物会被缓慢溶蚀,降解成乳酸、乙醇酸进而降解成二氧化碳和水,包载的药物则以一定的速率在体内稳定释放,其释放的速度是根据药物设计人员对药物临床需求的针对性设计。

3. 微球的优势与应用
微球具备较多剂型优势,主要包括安全性、靶向性、长效性及高效性,具体来说:
(1)安全性:微球在给药部位缓慢释放,维持有效的血药浓度,降低血药浓度波动,减少毒副作用;是可降解的高分子聚合物,在体内缓慢降解成水和二氧化碳,安全性高。
(2)靶向性:微球与某些细胞组织有特殊的亲和性,能被组织器官的网状内皮系统所内吞,实现靶向性。
(3)长效性:药物可缓释几个月到半年,通过降低用药频率大大提高病人的用药依从性。
(4)高效性:微球的给药途径为注射,绕过首过效应,提高生物利用度,降低给药剂量。

微球主要用于需要长时间频繁给药的适应症,如肿瘤,精神疾病、镇痛、糖尿病、生殖系统等。

4. 微球材料的分类
按制备微球所采用的材料不同,可以分为合成高分子材料、天然高分子材料和无机材料3大类:
(1)天然高分子材料:天然高分子材料是指没有经过人工合成的,天然存在于动物、植物和微生物体内的大分子有机化合物。常用天然高分子材料根据其化学结构的不同可以分为5类:(1) 多糖,如淀粉、纤维素、甲壳素、海藻酸、透明质酸和果胶; (2) 聚酰胺,如酪蛋白、明胶、骨胶原和大豆蛋白等;(3) 类聚异戊二烯,如天然橡胶; (4) 聚酯,如聚羟基脂肪酸酯(PHA)和聚苹果酸酯(PMLA); (5) 聚酚,如木质素。
(2)合成高分子材料:聚乳酸(polylacticacid, PLA) 是以速生资源玉米为主要原料,经发酵制得乳酸,再经乳酸缩合得到的直链脂肪族聚酯,是第一批通过美国食品药品监督管理局(FDA) 认证,被正式作为药用辅料收录进美国药典的可生物降解材料。聚乳酸-羟基乙酸共聚物[(poly(lactic-co-gly-colic acid) ,PLGA]是由一定比例的乳酸和羟基乙酸聚合而成的高分子材料,也已被美国食品药品监督管理局(FDA)和欧洲药品管理局(EMA) 收录为药用辅料。
(3)无机材料:无机材料是由硅酸盐、铝酸盐、硼酸盐、磷酸盐、锗酸盐等原料或氧化物、氯化物、碳化物、硼化物、硫化物、硅化物、卤化物等原料经一定的工艺制备而成的材料。传统无机材料是指以SiO2及其硅酸盐化合物为主要成分制成的硅酸盐材料,主要有陶瓷、玻璃等。新型无机材料是用氧化物、氯化物、碳化物、硼化物、硫化物、硅化物以及各种无机非金属化合物经特殊的先进工艺制成的材料。主要包括新型陶瓷、特种玻璃、多孔材料等。
5. 微球制剂的目前面临的技术挑战
(1)制备和表征的困难
微球需要复杂且精密的制备方法,如乳化、溶剂挥发、喷雾干燥或凝胶化。这些方法涉及多个步骤和参数,需要仔细控制和优化,以获得具有期望特性的微球,如大小、形态、药物载量和释放曲线。此外,微球需要先进、灵敏的表征技术,如显微镜、光谱、色谱或量热法,来评估其物理、化学和生物性质。
(2)药物释放和生物利用度的变化性
微球可能因为聚合物、药物和微球的异质,以及生理条件的影响,如pH、温度、酶等而表现出药物释放和生物利用度的变化性。这可能会影响药物递送系统的可重复性和可预测性,这需要广泛的体外和体内的测试和验证。
(3)生物相容性和安全性问题
微球可能引起生物相容性和安全性问题,如炎症、感染、免疫反应或异物反应等,这或许是由于残留的溶剂、添加剂或降解产物的存在,或由于微球与生物组织或细胞的相互作用。这可能损害药物递送系统的性能和效果,需要严格的生物相容性和毒性评估。
二、中国微球市场分析
截至2024年10月,国内有19款微球产品上市,其中有4款造影剂,主要用于肿瘤、糖尿病和精神分裂。

1. 中国微球市场规模:市场规模增速远超全球
2017-2019年,全球微球制剂市场规模从72亿美元上升至78亿美元,2017-2019年CAGR为4.3%。

2015-2023年,中国微球制剂销售额从25亿元增长到79亿元,2015-2019年CAGR为13.4%,2019-2023年CAGR为17.1%。

2015-2023年,国产微球制剂销售额占比呈逐步提高的趋势,从2015年的34.6%增长至2023年的49.7%;自2018年起,国产销售额占比一直稳定在45%以上。

由此可见,中国微球制剂市场规模的增长速度远高于全球市场。随着国内企业加紧微球制剂的研发布局,未来中国微球制剂市场的规模有望继续保持高速增长。
2. 我国不同微球药物市场分析:亮丙瑞林的销售额占比最高,曲普瑞林次之
2023年,亮丙瑞林国内总销售额为53.92亿元,占总销售额的68.5%,曲普瑞林次之,总销售额为18.36亿元,占比23.3%。

(1)亮丙瑞林市场分析:国内销售额持续增长,2023年达到53亿元
亮丙瑞林主要用于治疗前列腺癌、乳腺癌和中枢性性早熟,亮丙瑞林制剂2019-2023年国内销售额保持持续增长趋势,从2019年的27.44亿元增长到2023年的53.92亿元,CAGR为18.4%。

截至2024年10月,国内市场上销售亮丙瑞林制剂的企业有北京博恩特、丽珠制药和日本武田,2023年销售额占比分别为29.5%、41.9%和28.7%。近五年,丽珠制药的注射用醋酸亮丙瑞林微球的销售额占比最高,销售额占比基本维持在40%左右。

(2)曲普瑞林:国内销售额持续增长,2023年达到18亿元
2019-2023年,曲普瑞林制剂的国内销售额持续增长,从2019年的11.49亿元增长到2023年的18.36亿元,CAGR为12.4% 。

不同曲普瑞林制剂中,法国益普生的注射用醋酸曲普瑞林的销售额占比最高,2023年销售额占比为56.2%,然而,近5年其销售额占比呈现缓慢下滑趋势。唯一一款国产曲普瑞林制剂为丽珠制药的注射用醋酸曲普瑞林微球,于2023年5月获批上市,随着国产制剂成功推入市场,后续曲普瑞林市场规模有望进一步增长,并加速该品种的国产替代进程。

(3)奥曲肽:销售额趋于稳定
2020年,奥曲肽微球的销售额快速增长,从2019年的2.42亿元增长到4.56亿元,2020年后,奥曲肽微球在国内销售额趋于稳定,保持在4亿元以上;截至2024年10月,国内奥曲肽微球市场上的在售产品有诺华的善龙和齐鲁制药的佑远,诺华市场占比在99%以上。

(4)利培酮:销售额快速增长
截至2024年10月,国内市场上销售利培酮微球的企业有杨森和绿叶制药,自绿叶制药的瑞欣妥推入市场后,销售额一路走高,2023年销售额达到4718万元,目前市场占比已超过99%。

三、微球制剂改良型新药的分析
改良型新药是指在已知活性成份(API)的基础上,对其结构、剂型、处方工艺、给药途径、适应症等进行优化,且具有明显临床优势的药品。微球制剂改良型新药是通过优化微球载体技术,改良药物的释放特性、提高生物利用度、延长药效持续时间或增强靶向性的一类新型药物。
1. 微球制剂制备改良型新药的优势
(1)释放周期灵活可调:微球制剂可以实现药物的缓慢释放和持续作用,从而延长药物在体内的作用时间,释放周期灵活可调,从一周至6个月释放都可实现。
(2)适用范围广:无论是小分子药物,还是多肽,蛋白等大分子药物,都可以采用微球技术制备长效缓释制剂;API可以是水溶性差的药物,也可以是水溶性非常好的药物。
(3)仿制相比原研难度大:与原研一致的聚乳酸-羟基乙酸共聚物(PLGA)不易获得;微球制剂的表征难度大;PK研究难度大:分段AUC在微球制剂中是常态。
2. 微球制剂制备改良型新药的考量因素
(1)载药量的限制:微球制剂的载药量一般在30%以下,一次注射的微球的质量一般在600mg以内,由于载药量的限制,因此每日剂量需求较高的产品不适合做成微球。
(2)药物的半衰期:半衰期太短的药物,做成微球长效缓释,可能需要比普通注射液高很多倍的剂量,才能达到普通注射剂的血药浓度,因此半衰期特别短的药物不适合。
(3)药物的作用机制:如瑞林类的GnRH激动剂,其机理是对垂体功能进行先刺激后抑制,从而达到降低性激素分泌的作用,因此前期突释可以高一些。其他类型的产品,基本上都是要尽量降低前期的突释。
3. 国内微球制剂制备改良型新药分析
截至2024年10月,国内已获批的改良型微球制剂共4款,分别为山东绿叶的注射用利培酮微球(Ⅱ)和注射用戈舍瑞林微球、丽珠医药的注射用醋酸曲普瑞林微球、绿叶嘉奥制药的注射用罗替高汀微球,注册类型均为2.2类。2.2类主要是对已知化合物的给药途径、剂型、处方等进行的改良,以改善安全性、有效性或依从性为目标。

(1)注射用利培酮微球(II)分析
山东绿叶的注射用利培酮微球(II)于2021年我国全球首次获批上市后,在23年1月宣布在FDA成功获批上市,成为我国首个成功出海的中枢神经系统的自研新药。该药主要用于急性和慢性精神分裂症或作为单药或作为锂盐/丙戊酸盐的辅助疗法用于双相障碍引型成人患者的维持治疗。

绿叶的利培酮微球改善了原研(恒德)的延缓释放效应,无需口服用药补充,具有一定的临床优势。通过单次和多次PK研究,证明了与被改良药物的暴露量相当,通过量效关系分析和群体药代动力学模拟分析,最终豁免了确证性临床试验。

(2)注射用罗替高汀微球分析
注射用罗替高汀微球(金悠平)基于绿叶制药全球领先的微球技术平台开发,作为纳入优先审评审批程序的品种,已获得国家药品监督管理局的上市批准,用于帕金森病的治疗。
金悠平是全球首个治疗帕金森病的长效缓释微球制剂,只需每周一次给药,有效弥补了罗替高汀贴片治疗帕金森病的不足(每日需固定时间使用一次、患者易遗忘更换贴片或贴片发生意外脱落、可能发生皮肤过敏反应、由于药物浓度波动易产生症状波动以及不良反应)

金悠平的上市批准基于多项I期临床试验和一项III期临床试验,试验结果表明,该产品治疗帕金森病安全有效,可全面持续改善帕金森病患者的运动症状,继而提高患者生活质量。
总结来说,金悠平的优势主要有以下几点:
a. 7天内可维持稳定的罗替高汀释放,保持稳定的血药浓度和连续多日的持续疗效,克服了短效多巴胺能药物产生的非生理性的脉冲式刺激,实现持续性多巴胺能刺激(CDS)。
b. 相较于短效多巴胺能药物,不良反应更少。
c. 每周给药一次,可提高患者的依从性,更利于帕金森病患者的长期管理。
d. 可以对中晚期患者运动并发症起到推迟和治疗的作用。

四、微球制剂行业公司
微球制剂行业主要的参与企业包括绿叶制药、丽珠医药、帝奇医药、金赛药业、圣兆药物,本章将对这些企业的销售情况、药品研发情况、药品上市情况等进行分析。
1. 绿叶制药
绿叶制药成立于 1994 年,并于2014年在港交所主板上市,是一家致力于创新药物的研发、生产和销售的国际化制药集团,2023年,报告期内营业收入同比增长2.7%达到61.43亿元。

公司的研究与开发活动由化学药物的四个平台组成,即长效及缓释技术、脂质体及靶向给药、透皮释药系统以及新型化合物。公司目前已上市 30 多个产品,覆盖抗肿瘤、中枢神经系统、心血管、消化及代谢等疾病领域,并已于CDE登记PLGA信息。其中,上市的微球制剂包括注射用戈舍瑞林微球、注射用利培酮微球(II)、注射用罗替高汀微球。


此外,绿叶制药还有5款微球制剂处于申请临床阶段,其中注射用醋酸戈舍瑞林缓释微球(三月一次)在国内已进入I期临床阶段。

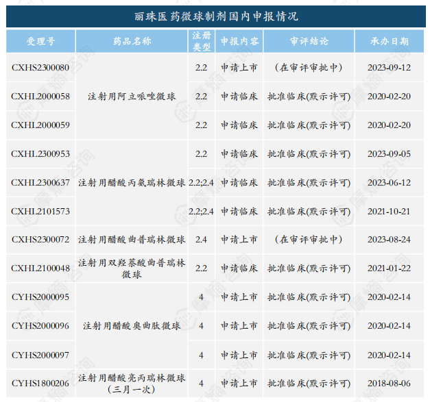
2. 丽珠医药
丽珠医药集团股份有限公司创建于1985年1月,是集医药产品研发、生产、销售为一体的综合医药集团公司,2013年1月丽珠集团正式引进微球项目平台,目前公司已经建成7条微球制剂相关的生产线,已于CDE登记PLGA信息。

2023年度,丽珠医药公司营业收入124.3亿元,净利润19.54亿元,研发投入12.35亿元,占营业收入的9.94%;化学制剂营业收入为65.71亿元,占总营业收入的52.86%,原料药及中间体营业收入为32.53亿元,占比26.17%。

丽珠医药目前拥有两个已上市微球制剂,分别为治疗前列腺癌的维宝宁®和治疗乳腺癌/前列腺癌的贝依®。

注射用醋酸亮丙瑞林微球(三月一次)在国内已进入BE临床研究阶段,注射用醋酸曲普瑞林微球的新适应症子宫内膜异位症也已申请上市,目前正在审评审批中。此外,还有四款微球制剂在国内处于申请上市和临床试验阶段。

3. 广州帝奇医药技术有限公司
广州帝奇医药技术有限公司成立于2011年,专注于二类创新药及药物递送技术的开发和产业化,拥有6个具有自主知识产权的创新技术平台,包括长效制剂技术、靶向纳米技术、缓控释技术、聚乙二醇化技术、生物可降解辅料和仿制药开发,具有制备不同端基、分子量、特性黏度、单体比例组成(如50:50、65:35、75:25、85:15、95:05、100:0等)等特性的PLGA的技术。

其全球首创每四周给药一次的“注射用利培酮微球(4W)”是帝奇自主研发的2类创新微球制剂,目前已获得CDE和美国FDA临床许可。

与已上市产品相比,注射用利培酮微球(4W)在人体内的血药浓度平稳,血药浓度波动更加平缓,血药峰值和谷值减小,不仅降低了剂量依赖性副作用的发生风险,而且提升了患者的用药安全性和耐受性。其用药频率显著降低,有效改善患者漏服、忘服的低依从性情况。复发率从口服制剂的56%降至10%左右,降幅高达80%以上。

4. 长春金赛药业有限责任公司
金赛药业1997年成立,是一家集自主研发、生产、营销和服务于一体的基因工程创新研发企业,是长春高新(股票代码000661SZ)控股子公司。公司聚焦儿童健康、女性健康、肿瘤、免疫等领域,拥有完整的创新药物、器械全球开发体系,在研管线60+,上市产品30余项,2023年公司实现营收110亿元,利税60亿元。金赛药业每年投入超过年销售额10%的巨额资金用于未来产品线的研发和搭建。目前,金赛药业已经建立了高标准的真核、原核、PEG 修饰、长效微球、化药和蛋白结构化学6个技术平台和独立的中试车间,使得所有项目的开发研究及检测均能独立完成。

金赛药业已于2023年2月完成一项多中心、开放、单臂3期临床研究,旨在评估注射用醋酸曲谱瑞林微球治疗儿童中枢性性早熟的安全性和有效性,目前注射用醋酸曲谱瑞林微球的上市申请已获CDE受理,审评状态为在审评审批中。

5. 浙江圣兆药物科技股份有限公司
圣兆药物成立于2011年,立足长效缓释制剂和靶向制剂两大创新制剂领域,专注于以微球、微晶、脂质体和缓释植入剂为核心的高端复杂注射剂的开发和产业化。研发产品适应症涵盖精神分裂症、恶性肿瘤、子宫内膜异位症、术后镇痛以及糖尿病等重大疾病谱,公司研发的高端复杂注射剂产品能显著提高药物临床疗效,降低药物毒副作用和给药频率,大大提高患者用药依从性。其长效缓释制剂研究中心主要进行长效缓释微球制剂技术、非微球类长效缓释制剂技术(纳米或微米级准溶性药物长效缓释技术)的开发,拥有微球制剂反应系统等成套符合cGMP标准、满足长效缓释制剂工艺研究要求的进口高端定制设备。圣兆药物26个产品管线中,盐酸多柔比星脂质体注射液已于2023年9月获批上市,注射用利培酮微球(2周制剂)已处于上市审评阶段。

五、微球制剂未来发展趋势
1. 微球制剂行业已经进入加速发展期
中国微球制剂市场的发展经历了三个阶段。2000年-2008年为市场导入期,期间日本武田注射用亮丙瑞林微球、Ferring注射用曲普瑞林及Novartis注射用醋酸奥曲肽微球相继进入中国市场。2009年-2014年为微球制剂行业的初步发展期,丽珠制药和博奥特的产品获批上市并被纳入国家医保,同时《中国药典》2010年版收录了相关指导原则。2015年至今为加速发展期,2015年版《中国药典》进一步明确了微球制剂的要求,AstraZeneca和绿叶制药等公司推出了创新产品,丽珠集团也开启了新的合作模式。这一阶段标志着中国微球制剂技术的快速发展和创新。

2. 微球产业化仍是限制微球制剂行业发展的主要壁垒
微球制剂的产业化发展面临多重壁垒。首先,在原料端,制备微球所需的聚乳酸(PLA)和聚乳酸-羟基乙酸共聚物(PLGA)等聚合物材料种类有限,国内企业主要依赖进口,这增加了生产成本和供应链的不确定性。其次,在设备端,微球制剂的生产设备需要定制,费用较高,这对企业的资金投入提出了更高要求。最后,在技术端,不同药物适用的微球制备技术各不相同,参数调试过程复杂,导致微球制剂难以实现产业化的线性放大。这些因素共同制约了微球制剂行业的快速发展,需要进一步的技术创新和产业支持来突破这些瓶颈。

3. 微球制剂国内需求广阔,医药行业政策利好频发,市场前景可观
随着国内老龄化加剧,诸多慢性疾病如脑血管、恶性肿瘤、心脏疾病发病率逐步提高;另一方面,我国社会经济快速发展,城镇化率提升,居民生活方式改变导致精神压力增加,将推动精神疾病相关药物的需求增长。微球制剂具有控制药物的释放速度达到长效目的,因此市场价值较高;

近年来,中国出台了一系列政策支持生物医药和中医药产业的发展。2016年,《“十三五”生物产业发展规划》提出推动缓控释制剂和靶向制剂等技术的产业化。2017年,《“十三五”中医药科技创新专项规划》强调发展新型给药系统。同年,CFDA发布意见,优先审评使用先进制剂技术的药品。2018年,国家知识产权局将新型制剂纳入重点支持产业目录。这些政策旨在扶持中国医药行业有序健康的发展,带动微球制剂行业良好的发展。此外,微球制备技术和工艺的不断优化与创新发展,有利于推动微球制剂需求增长,带动整体微球市场规模的提升。

以上内容均来自摩熵咨询{基于剂型改良的复杂注射剂分析-微球篇},如需查看或下载完整版报告,可点击!
想要解锁更多药物研发信息吗?查询摩熵医药(原药融云)数据库(vip.pharnexcloud.com/?zmt-mhwz)掌握药物基本信息、市场竞争格局、销售情况与各维度分析、药企研发进展、临床试验情况、申报审批情况、各国上市情况、最新市场动态、市场规模与前景等,以及帮助企业抉择可否投入时提供数据参考!注册立享15天免费试用!








川公网安备51019002008863号
本网站未发布麻醉药品、精神药品、医疗用毒性药品、放射性药品、戒毒药品和医疗机构制剂的产品信息
收藏
登录后参与评论
暂无评论