
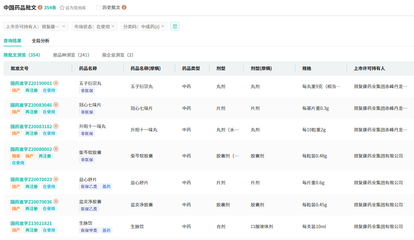
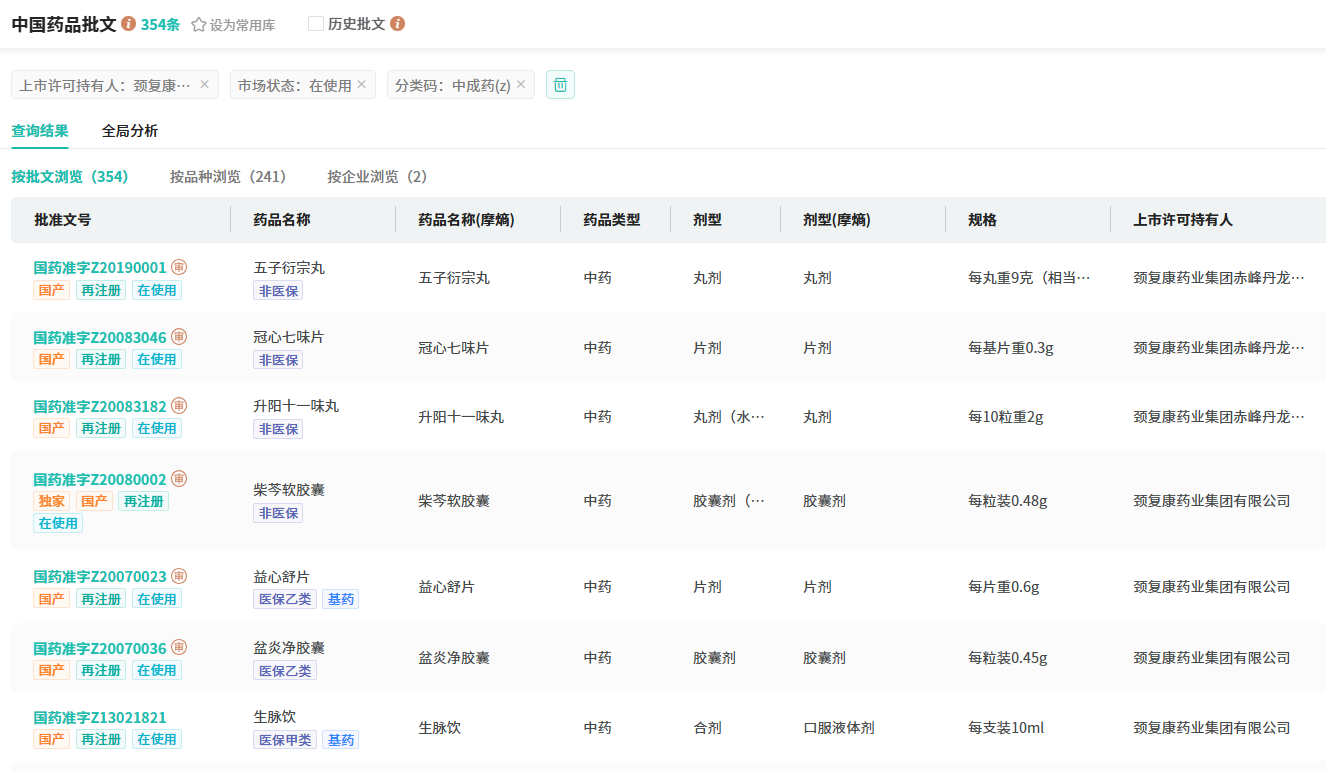
近日,国家药典委发布了3个中药标准公示,分别为蚁参蠲痹胶囊、附子和灵芝孢子粉胶囊,其中蚁参蠲痹胶囊是颈复康药业的独家风湿性疾病中成药,据摩熵医药数据库显示,2024年(截至Q2)该品种在全国院内市场的销售额超2千万,同比增长达73.62%。

截图来源:ChPC官网
蚁参蠲痹胶囊专注补肾健脾,有效祛风除湿,活血通络,专为类风湿性关节炎设计,尤其针对中医辨证属脾肾两虚、寒湿瘀阻证型。其适应症包括:关节肿胀疼痛、压痛明显、活动受限、晨僵现象、关节寒冷感、夜间疼痛加剧、手足温度降低、精神疲乏、阴雨天症状加重,以及舌淡苔白、脉沉细等体征。据摩熵医药数据库显示,肌肉-骨骼系统药物在2023年全国院内市场销售额超130亿元,其中蚁参蠲痹胶囊的销售额超2千万,该品种颈复康药业完全垄断了该品种的市场,占据100%的份额。










川公网安备51019002008863号
本网站未发布麻醉药品、精神药品、医疗用毒性药品、放射性药品、戒毒药品和医疗机构制剂的产品信息
收藏
登录后参与评论
暂无评论