
近期,国家药典委员会(ChPC)已公示了九款国家药品标准,具体涵盖了固本延龄丸、人丹、麝香心痛宁片、心脑通口服液、消风止痒颗粒、蛇莲胶囊、枫蓼肠胃康合剂、人参袋泡茶及消栓通络片。公示期为1个月(人丹为3个月)。

截图来源:ChPC官网
心脑血管疾病用药占据主导,5款独家品种在列
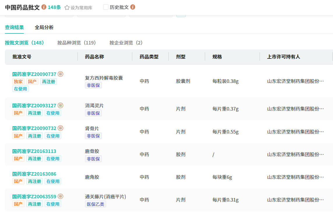
从ChPC公示的9款中成药国家药品标准中,其中独家品种的比例超55%,包括麝香心痛宁片、心脑通口服液、蛇莲胶囊、枫蓼肠胃康合剂以及人参袋泡茶。
据摩熵医药数据库显示,麝香心痛宁片作为宏济堂制药的独家产品,专用于治疗气滞血瘀型冠心病心绞痛引发的胸痛、胸闷、两胁胀痛、气短及心悸等症状。据摩熵医药数据库的统计,2022年第一季度至第三季度,麝香心痛宁片在全国医院(全终端)的销售额累计突破7万元,同时,宏济堂制药在院内市场中占据100%的市场份额。










川公网安备51019002008863号
本网站未发布麻醉药品、精神药品、医疗用毒性药品、放射性药品、戒毒药品和医疗机构制剂的产品信息
收藏
登录后参与评论
暂无评论