
在数字化浪潮汹涌前行的时代背景下,摩熵数科(原药融云品牌)迎来了品牌升级的里程碑时刻,全面实施“4+4+6”战略升级计划。并借此契机,将隆重推出倾力打造的“网上药店销售数据库”。
这一数据库是继医院终端和线下实体药店端后,摩熵数科在医药数据领域的又一重大布局,标志着其成功实现了药品市场销售数据全渠道覆盖,为行业用户提供了一站式、高效便捷的市场分析工具。
一、销售数据全渠道覆盖,精准洞察市场趋势
摩熵医药-销售数据库群,目前已全面覆盖全国医院销售数据、全国医院销售(全终端)数据、全国药店零售数据、全国样本医院销售数据、网上药店销售数据、药物流向数据......用户可以全方位地了解药品市场的竞争格局,迅速捕捉市场变化趋势,为企业的战略决策提供强有力的数据支持。

其中,摩熵医药药物流向数据是与全国各省市多家药品流通配送商合作,脱敏合规统计的药物在全国范围内的流向数据,数据详细且全面,落地到具体医院,可覆盖全国三级医院3000+,二级医院10000+,一级和未定级医院75000+。
在大数据蓬勃发展的今天,精准把握数据趋势已成为抢占市场先机的核心要素,医药行业亦不例外。摩熵数科推出的“网上药店销售数据库”,是摩熵医药(原药融云数据库)数据库旗下【药品销售数据库群】中的子库,专注于深度挖掘全国药品在主流B2C电商平台(不含O2O平台)的销售数据,全面涵盖了国内已上市的中成药、化学药及生物制剂。

其中,化学药/生物药涉及14大类、90个亚类,2000+个通用名品种;中成药涉及13个大类,4000+个通用名品种,真实、全面地展现了全国所有线上药店的药品销售态势,为药品市场分析提供了前所未有的便捷与深刻洞察。
二、网上药店销售数据库亮点
1. 数据检索:多检索方式+多条件筛选
在数据检索方面,网上药店销售数据库的查询方式灵活,支持关键词检索、条件检索、高级检索、多条件筛选等多种数据查询方式,满足用户多样化的查询需求。
用户可以通过药品名称、活性成分、企业名称、靶点、品种/企业销售额、销售量等多种关键词进行精准搜索,同时支持剂型、药品类型、ATC分类、给药途径、年份、企业所在地等多种筛选项进行自由组合,实现精准筛选与查询;还支持通过高级搜索功能进行“且”或“非”的逻辑条件检索出目标信息,多种检索方式极大提升数据检索的效率和准确性,确保用户每一次查询都能迅速定位到所需信息。

其中剂型、ATC分类、给药途径、省市、企业所在地等多个筛选项,均支持按层级逐步深入筛选,使用户能够穿梭于庞大的数据海洋中,迅速而准确地锁定目标信息。

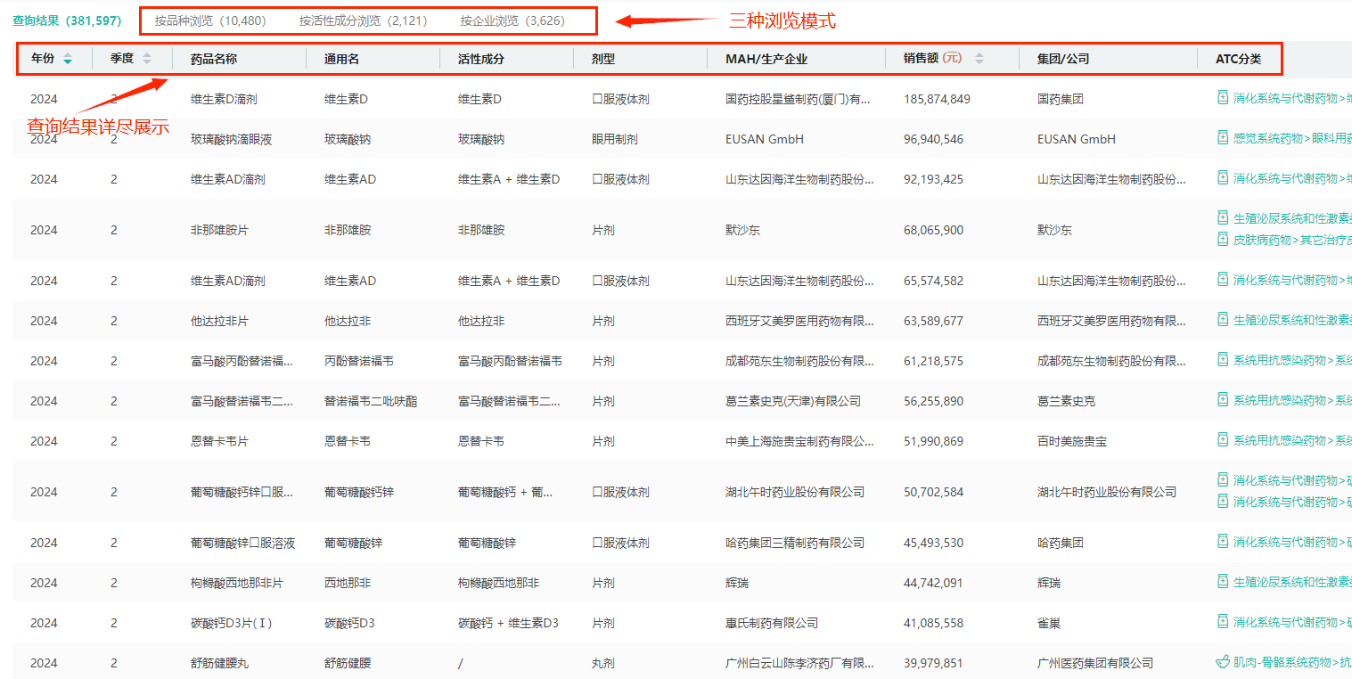
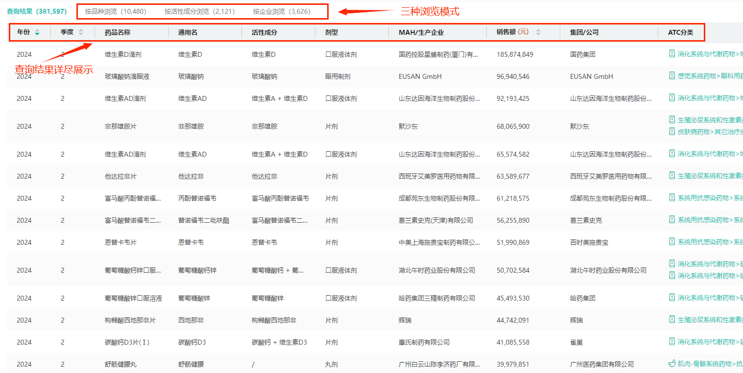
2. 数据展示:多维度结果呈现,有效字段全面展示
在信息展示方面,网上药店销售数据库多维度呈现查询结果,药品名称、活性成分、剂型、年份、生产企业、ATC分类、销售额、销售量应有尽有,让查询结果详尽无遗,有效字段全面展示,一次检索满足用户所有需求。
同时,为了满足用户在不同场景下对信息的多样化需求,还提供了按品种浏览、按活性成分浏览、以及按企业浏览三种浏览模式。从不同维度深入探索数据,更便于用户对各类信息进行精细化分析与比较,无论是聚焦于特定品种的市场表现,还是分析某一活性成分的应用趋势,亦或是评估不同企业的竞争力,都能轻松实现。

3. 数据分析:多维度可视化分析,快速把握市场动态
在数据分析方面,网上药店销售数据库具备强大的多维度全局分析能力,结合销售额与销售量两大统计维度,为企业构建了一个全面、深入的数据分析框架,是企业在竞争激烈的市场环境中制定和优化经营策略的重要工具。
通过销售额统计维度,企业能够清晰了解各产品线的线上销售渠道的盈利能力,为优化产品组合、调整价格策略提供数据支持,从而实施更为有效的市场定位与推广策略,最大化市场潜力。通过销售量统计维度,企业能够预测未来市场需求变化,合理安排生产计划,有效避免库存积压或供应短缺的风险;销售量数据还揭示了企业的运营效率,为企业优化供应链管理,提升整体运营效率提供有力的数据支持。

网上药店销售数据库不仅支持销售额与销售量两大核心统计维度,而且数据分析细化至年度趋势、季度趋势、企业销售格局、品种销售格局、剂型销售格局、规格销售格局、用药途径销售格局等多个关键维度。
通过年度趋势分析图表,用户可以直观地观察到历年网上药店销售额与销售量的动态变化,包括增长趋势、波动幅度以及历年间的对比情况,有助于企业把握市场发展的长期趋势。
网上药店年度销售趋势分析

通过分析品种销售格局,了解热门药品的分布情况以及各品种在市场中的份额占比,帮助企业了解消费者偏好和市场热点,从而优化产品结构,提升市场竞争力。
药品分析TOP10/TOP50

通过企业销售格局分析,可以对比不同企业的销售业绩,揭示市场中的竞争格局,为企业的市场定位和发展策略提供参考......
企业分析TOP10/TOP50

同时,为了进一步提升数据分析的直观性和易用性,我们采用了先进的可视化分析技术和多图表展示方式。通过将复杂的数据信息转化为直观易懂的图表形式,如折线图、柱状图、饼图等,图表还支持自定义配置信息,包括图表类型、统计维度、排序方式、数据范围等;用户可以迅速捕捉到市场波动的关键信息,清晰直观地对比不同企业的销售业绩,从而更加高效地把握市场动态,为企业的决策提供有力支持。
4. 数据透视:让数据信息分析、对比更直观
在数据透视方面,网上药店销售数据库也展现了突出的性能优势。用户可以通过自定义设置X轴、Y轴字段,生成分类统计或精准统计数据透视表,方便用户能够迅速且灵活地执行目标数据的筛选、排序以及分类汇总等一系列操作,自动生成详尽的汇总表格,并支持透视表导出,实现数据多维度展现,极大地提升了数据分析的效率与准确性,使用户能够基于全面且深入的数据洞察。

此外,除了强大的数据分析功能,数据库还提供便捷的原始数据下载服务。用户只需简单点击导出功能,即可根据实际需求,将分析结果或特定数据集直接导出至本地存储。不仅方便了用户进行更细致、更个性化的深入分析,还极大地促进了报告撰写和数据共享的效率,进一步增强了数据资源的利用价值。
【数据库申请试用方式】
摩熵医药企业版官网申请:
https://vip.pharnexcloud.com/database/wsydsale?auto=1 ,填写表单,免费申请试用
三、摩熵咨询,为生命科学领域提供市场洞察解决方案
摩熵咨询(原药融咨询)是摩熵数科旗下生物医药专业咨询服务品牌,依托摩熵数科全面的医药全产业链数据库,为客户提供产品立项评估及管线规划、产业/行业调研、数据定制、市场洞察等专业咨询服务和定制化解决方案。
摩熵咨询依托【药品销售数据库群】全渠道的药品市场销售数据,可以帮助用户在立项可行性评估时,分析现有竞品优劣势;在产品管线分析及规划时,进行临床需求分析、已上市药物竞争格局分析;在进行品牌市场特征研究时,帮助用户进行市场销售分析、企业战略咨询;在投资机会筛选时,对产品、企业、技术平台、投资、政策、企业等方面进行客观的机会分析,可对潜在投资标的全方位、多维度调研......
应用场景示例:
在市场洞察咨询业务中,摩熵咨询可以帮助客户建立行业认知、制定市场进入策略、优化经营策略、追踪销售业绩和临床进展。
市场洞察解决方案及服务模块

计划进入新的市场,推出新的产品,但对这个市场并不了解? 摩熵咨询可以帮助客户建立对该市场的认知,如产品类型、市场规模、竞争格局、市场潜力等,企业可以进一步通过可行性研究等方式,从投资回报率、符合企业战略发展方向等角度,从而做出决策。
在制定新产品的市场进入策略时,不知道进一步了解哪些方面? 摩熵咨询可以帮助客户对比分析新产品与市场现有产品差异;结合市场情况和企业对产品的期望,对产品进行定位;对典型客户类型进行归纳总结;结合产品定位、成本和目标客户购买力等情况,使用定价模型对产品进行合理定价;了解竞争对手动态以及市场需求和反馈....
摩熵医药-网上药店销售数据库的上线,将为医药行业带来更加精准、高效的市场分析手段,助力企业抢占市场先机,实现可持续发展。
<END>
想要解锁更多药物研发信息吗?查询药融云数据库(vip.pharnexcloud.com/?zmt-mhwz)掌握药物基本信息、市场竞争格局、销售情况与各维度分析、药企研发进展、临床试验情况、申报审批情况、各国上市情况、最新市场动态、市场规模与前景等,以及帮助企业抉择可否投入时提供数据参考!注册立享15天免费试用!








川公网安备51019002008863号
本网站未发布麻醉药品、精神药品、医疗用毒性药品、放射性药品、戒毒药品和医疗机构制剂的产品信息
收藏
登录后参与评论
暂无评论