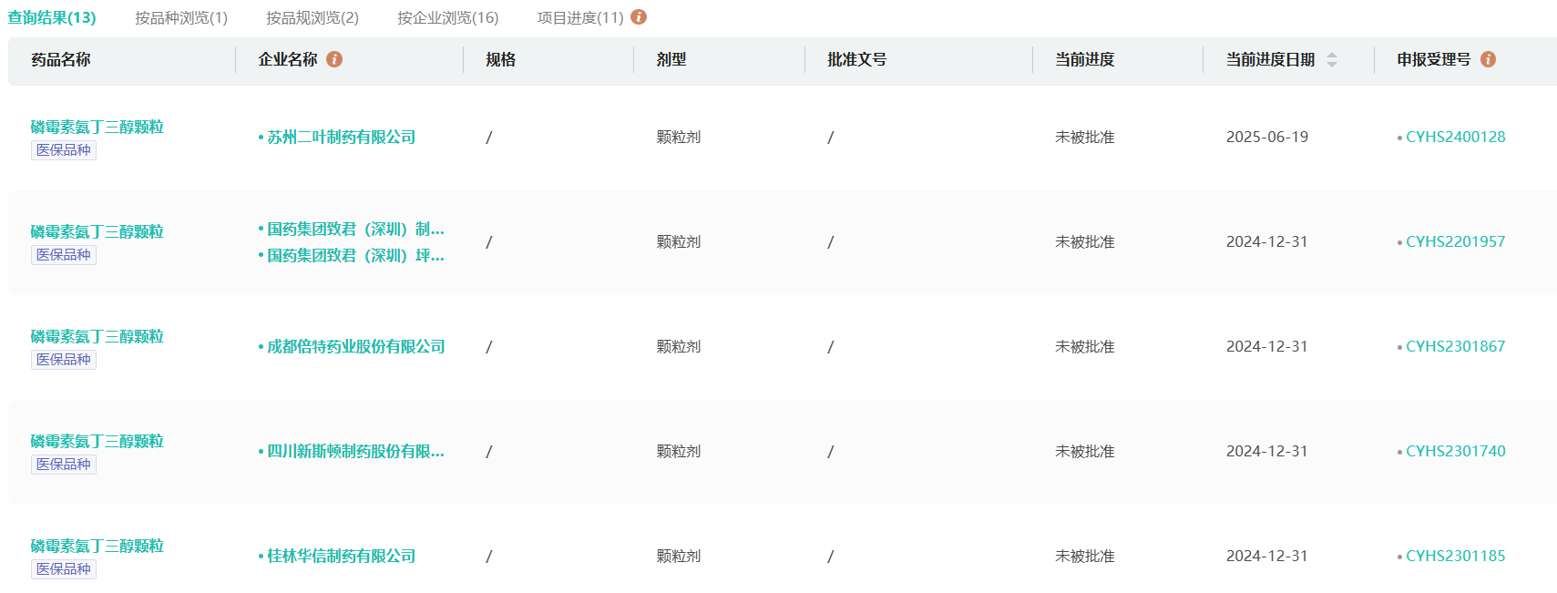
市场逐年上涨,自然会被仿制企业盯上,2023年起开始有企业仿制,但已经连续被驳回5家,成都倍特、国药致君统统折戟。
其中4家还是在同一天被驳回,提交上市时间不同,驳回日期同一个,特别是2022年就提交的国药致君,等了两年,最终还是被驳回。
磷霉素氨丁三醇颗粒有参比,原研国内上市,仿制这个产品还这么难?
选错参比?
具体为什么驳回,有一个企业公布过原因,只是理由非常让人费解。
国药致君于2022年11月向国家药品监督管理局递交磷霉素氨丁三醇颗粒的上市申请并予以受理,本次不予批准的原因是:本品剂型与参比制剂不一致。
国药致君是未进行BE试验申报上市,不清楚选了哪个参比。
但剂型怎么可能不一致?
磷霉素氨丁三醇颗粒参比就一种,分别在国内、美国、欧盟上市。

难道国家致君选错参比了?
那么来看一下,磷霉素氨丁三醇还有哪个剂型?
磷霉素氨丁三醇散,一个无参比过评的产品。
散剂共有三家企业无参比过评,分别是东北制药、山西仟源、湖南华纳大药厂。

这三家企业在无参比制剂还能批的时间段,用了自家备案的产品通过了一致性评价。
虽然无参比制剂现今已过评无望,但当时能无参比过评属于实力强劲企业了,历程详见无参比制剂,还有路可走么?
难道国药致君用了磷霉素氨丁三醇散来作为参比制剂?
是否豁免BE?
其他几家企业未公布驳回原因,选错参比可能性太小,那么就需考虑磷霉素氨丁三醇颗粒是否真能豁免BE。
品种为固体颗粒制剂,正常情况需要BE试验,除非基于某些法规(如ICHM9)豁免BE。
据公众号法规注册小屋分析:查询该品种BCS分类信息,虽未查到明确BCS分类,但文献信息显示本品在水中极易溶解,渗透性为中等。说明该品种BCS分类可属于III类(高溶解性、低渗透性)。
对于此类品种,可依据ICHM9《基于生物药剂学分类系统的生物等效性试验豁免》进行BE豁免,如果属于BCS III类,企业除了需要证明高溶解性外,还需要满足以下要求:
1、表现出非常快速(≤15 分钟内平均溶出百分比≥85%)的体外溶出特征。
2、所有辅料应种类相同且用量相似,可能影响吸收的辅料应种类相同且用量相似,即在参比制剂辅料用量的±10%范围内,并且这些辅料的累计差异应在±10%范围内。
那么也就是说磷霉素氨丁三醇颗粒到底能不能豁免BE还需看CDE评审,看似简明的法规条款,在处方与工艺选择层面却暗藏重重挑战。
江苏联环基于这种考量就进行了BE试验,是唯一一家完成磷霉素氨丁三醇颗粒BE试验的公司。
江苏联环完成了该品种BE试验,却未提交上市申请。
目前该品种仍有6家企业在走审批流程,依旧全部未进行BE试验,值得注意的是国药致君也重新提交了上市申请,再经历了一次失败后,仍旧选择无BE试验提报,或许驳回跟是否BE试验无关联?

图:磷霉素氨丁三醇颗粒提交上市申请企业,图源:摩熵医药
想要解锁更多药品信息吗?查询摩熵医药(原药融云)数据库(vip.pharnexcloud.com/?zmt-mhwz)掌握药物基本信息、市场竞争格局、销售情况与各维度分析、药企研发进展、临床试验情况、申报审批情况、各国上市情况、最新市场动态、市场规模与前景等,以及帮助企业抉择可否投入时提供数据参考!注册立享15天免费试用!

收藏
登录后参与评论
暂无评论