
随着摩熵数科“4+4+6”品牌战略升级计划的稳步实施,公司再度发力,隆重推出了旗下摩熵医药数据库的最新力作——“品种格局数据库”。这是继摩熵医药-靶点格局、适应症格局、企业格局数据库之后,推出的又一创新数据库产品,加速了品牌战略的进一步深化与拓展。
一、品种格局数据库:项目立项与竞争情报分析的新利器
品种格局数据库,收录了超过20万个国内在研及上市的医药项目,全面整合了从药品申请临床、临床试验、申请上市、上市批文到市场准入、市场销售等全链条信息,凭借丰富的数据资源和多样化的应用场景,是用户进行项目立项调研和竞争情报分析不可或缺的重要工具。

二、高效便捷的数据检索功能:奠定专业分析基础
“品种格局数据库”具备高效便捷的数据检索功能。用户可通过药品名称、企业名称、成分/获批适应症、剂型、项目进度日期等关键词进行快速搜索,同时支持ATC分类、靶点、药品类型、项目进度、一致性评价状态、国家集采批次、医保品种等多条件筛选,其中ATC分类和靶点还支持层级筛选。高级检索功能,允许用户通过逻辑关键词AND、OR、NOT构建复杂的查询逻辑,实现精准查询。

丰富的检索字段,多样的组合查询方式,使得用户能够迅速定位到相关药品、企业、靶点和适应症的研发项目,实时跟进研发进度,为项目决策提供全面的信息支撑。
三、四大核心版块:全方位支撑医药决策
品种格局数据库包含项目进度、品种格局、成分格局、全局分析四大核心版块,每个版块都提供了丰富的分析工具和数据支持,帮助用户进行全方位的医药项目分析。
1. 项目进度 —— 实时监控研发动态
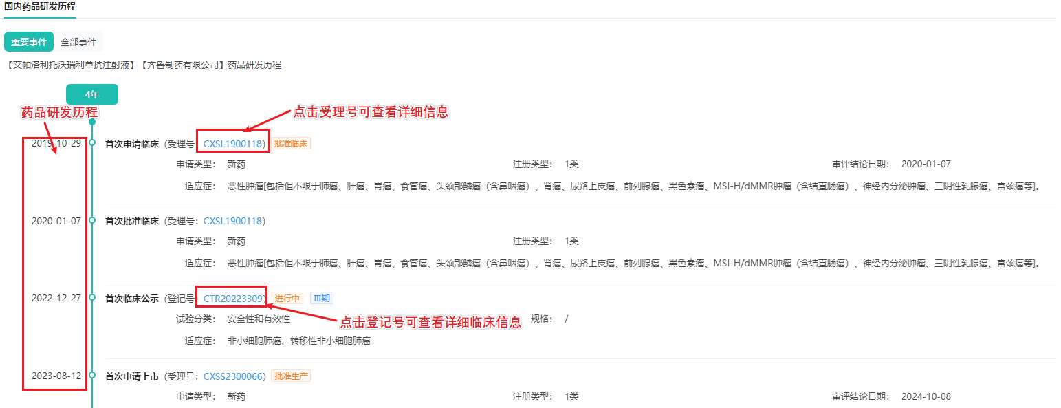
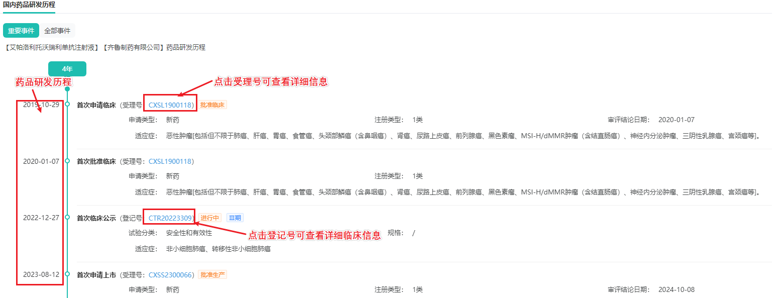
项目进度版块,收录了CDE、NMPA等官方机构公示的新药、仿制药、改良型新药等项目管线信息,以项目为核心,整合了药品申请临床、临床试验、申请上市、上市批文等信息,提供项目最新的国内研发进展。
实时监控国内新药、仿制药等项目的研发动态,提供项目最新的国内研发进展和关键信息,包括药品基本信息、原料药信息、参比制剂信息、市场销售表现以及药品研发时间轴等。

点击药品名称进入项目详情页,可以查看药品基本信息、原料药信息、参比制剂信息、市场销售表现以及药品研发时间轴等关键内容。
基本信息:提供药品名称、研发企业、药品类别、剂型、靶点、成分、ATC分类等药物信息,以及全球市场及中国准入信息,为研发计划的制定提供数据支持。
原料药信息:查看国内原料药登记备案情况,把握原料药的可及性,确保供应链的稳定性。
参比制剂信息:提供参比制剂情况,帮助企业了解市场先导产品,为仿制药开发提供参考。


市场销售表现:通过查看中国院内和药店零售市场的份额分布、销售趋势等数据,辅助市场规划和决策。
药品研发时间轴:提供项目国内立项、临床试验、审批和上市的时间线信息,帮助用户了解品种国内研发历程。

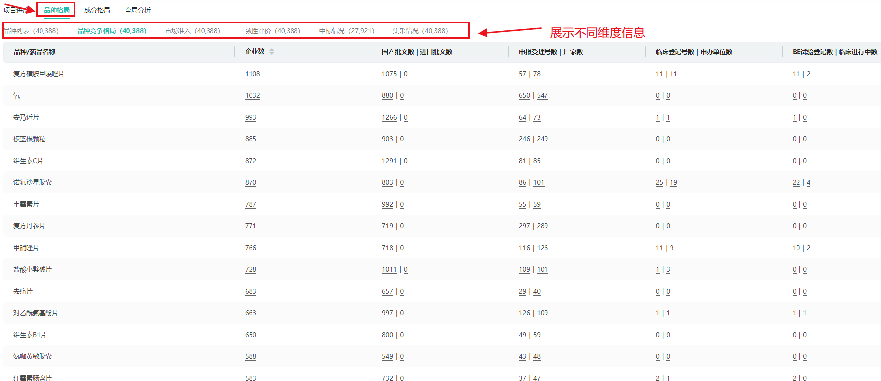
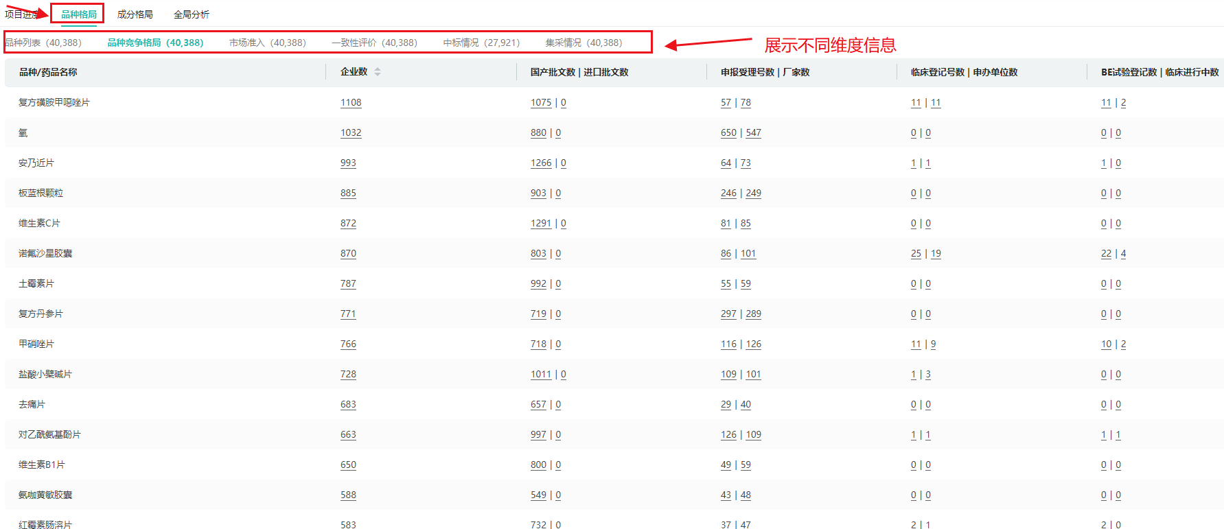
2. 品种格局—— 洞察市场竞争态势
品种格局全面剖析品种的竞争格局,广泛适应多种实际应用场景。它详尽展示了当前品种的基本信息、竞争格局、市场准入、一致性评价情况、集采中标信息等信息,帮助用户洞悉竞争对手的研发项目、市场准入情况等关键信息,快速了解领域品种并进行选品决策,为企业决策提供有力支持。

品种竞争格局:汇总了不同药品的布局企业数量,国产批文数/进口批文数,申报受理号数/厂家数、临床登记号数/申办单位数、BE试验登记数/临床进行中数等多维度统计数据。
市场准入:提供药品是否进入医保、是否基药、OTC类型、是否目录集收录等市场准入信息,助力用户快速判断药品的市场潜力。
一致性评价:覆盖了药品的批文数、企业数、过评企业数、一致性评价申报受理号数/厂家数、新注册分类仿制药申报受理号数/申报企业数、BE试验登记号数/申办单位数、推荐参比制剂数、是否达5家过评、首家申报企业、企业进展等信息。

中标情况:展示了近3年、近5年及全部时间段内的中标药品品种、中标企业、产品规格、中标省份以及最低、平均、中位数、最高中标价等详细数据,为价格策略和市场布局提供有力参考。
集采情况:提供药品是否国采品种、国采中选企业数、供应地区、最低国采中选单价、平均国采中标价、最高国采中选单价、最低降幅、最高降幅、品种等关键集采指标;点击品种进入其详情页,可以了解该品种的国采情况,分析企业中选价格和首年约定采购量。


3. 成分格局 —— 深入剖析成分市场
成分格局收录了成分的全球研发阶段、适应症研发情况、全球已上市药品等详细信息,并整合了国内企业竞争分析、不同剂型管线信息、市场销售数据以及说明书用药信息,支持用户深入了解药品成分的市场竞争力,为药品研发决策、市场竞争分析、市场规划和药品监管提供科学依据。

4. 全局分析 —— 多维度数据分析
全局分析,分析维度涵盖ATC分类、企业分析、品种分析、剂型分析、靶点分布等多个维度,满足不同场景的特定需求。同时,数据库采用图表等可视化分析方式,使复杂的数据更加直观易懂,并且支持下载,方便用户进行进一步的分析和报告制作。

四、品种格局数据库的应用价值
摩熵数科的“品种格局数据库”不仅是一个庞大的数据集合,更是一个助力医药行业专业人士进行精准决策的强大工具。凭借其全面的数据覆盖、高效便捷的检索功能、四大核心版块的全方位支撑以及精准的市场洞察与决策支持,将成为医药决策与竞争情报领域的新标杆,助力企业高效决策,构建竞争优势。
项目进度跟踪:实时了解药品从申请临床到上市的全过程。
品种竞争格局分析:掌握竞争对手的研发项目和市场准入情况。
企业竞争格局分析:了解企业在特定领域的市场地位和竞争优势。
市场准入分析:提供药品在中国市场的准入情况,辅助市场规划。
中标/集采/销售情况分析:通过详细的市场销售数据,支持企业的市场策略和决策。
【数据库申请试用方式】
方式一:官网注册申请
申请试用地址: https://vip.pharnexcloud.com/database/more?auto=1
方式二:二维码申请试用
扫码填写相关信息,即可申请数据库试用。

<END>
想要解锁更多药品信息吗?查询摩熵医药(原药融云)数据库(vip.pharnexcloud.com/?zmt-mhwz)掌握药品各国上市情况、药品批文信息、销售情况与各维度分析、市场竞争格局、一致性评价情况、集采中标情况、药企申报审批信息、最新动态与前景等,以及帮助企业抉择可否投入时提供数据参考!注册立享15天免费试用!








川公网安备51019002008863号
本网站未发布麻醉药品、精神药品、医疗用毒性药品、放射性药品、戒毒药品和医疗机构制剂的产品信息
收藏
登录后参与评论
暂无评论