今年以来已有8个抗贫血药物获批,其中腺苷钴胺胶囊适用于巨幼红细胞性贫血,营养不良性贫血、妊娠期贫血、多发性神经炎、神经根炎、三叉神经痛、坐骨神经痛、神经麻痹;也可用于营养性疾患以及放射线和药物引起的白细胞减少症的辅助治疗,市场前景未来可期。
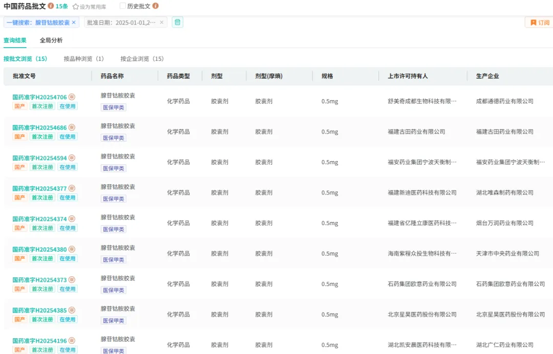
目前,国内已批准上市销售腺苷钴胺的剂型有片剂、注射剂和胶囊剂,共计41家企业的54个批文在使用中。腺苷钴胺胶囊原研在国内尚未上市。

截图来源:摩熵医药中国药品批文数据库
当前已有石药集团、山东鲁抗医药、湖南九典制药、杭州康恩贝制药、山东新华制药等23家药企获得腺苷钴胺胶囊生产批文。值得注意的是,仅今年就有15家企业密集获批,短期内获批数量占总量超六成,足见这一品种在市场中的关注度与企业布局的迫切性。

截图来源:摩熵医药中国药品批文数据库
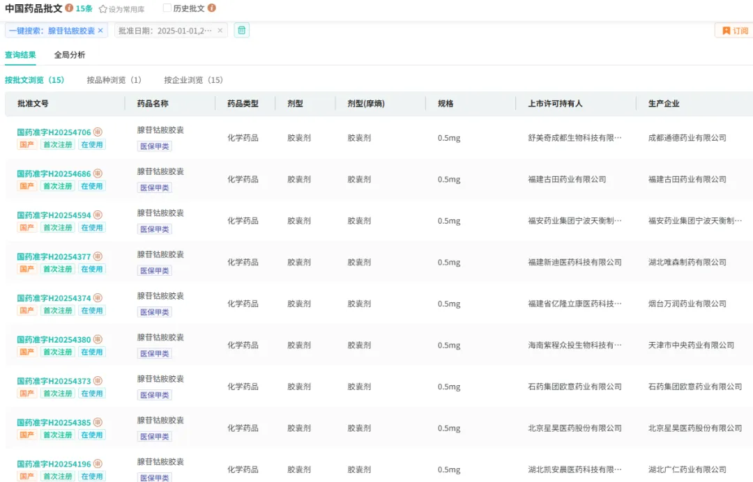
国药集团、华海药业、山东益康药业、南京海纳制药、华北制药等32家企业报产在审,竞争热度持续攀升。随着腺苷钴胺胶囊不断布局,将为更多因维生素B12缺乏而苦恼的人群带来新的希望。

截图来源:摩熵医药中国药品审评数据库
小结
湖南先施制药腺苷钴胺胶囊上市申请的受理,将这一抗贫血药细分赛道的竞争再次推向新高度。从已获批的23家企业抢占先机,到32家企业排队报产的紧追不舍,再到湖南先施制药的及时入局,不难看出腺苷钴胺胶囊背后的市场潜力正持续释放。未来,随着更多企业的产品进入,市场格局或将进一步洗牌。
想要解锁更多药物研发信息吗?查询摩熵医药(原药融云)数据库(vip.pharnexcloud.com/?zmt-mhwz)掌握药物基本信息、市场竞争格局、销售情况与各维度分析、药企研发进展、临床试验情况、申报审批情况、各国上市情况、最新市场动态、市场规模与前景等,以及帮助企业抉择可否投入时提供数据参考!注册立享15天免费试用!

收藏
登录后参与评论
暂无评论