
北京中因科技有限公司(以下简称中因科技)近日完成新一轮融资,所募资金将用于深度推进公司药物管线的临床和产业化进程,加速推动公司自主研发的眼科基因治疗药物早日上市,改变全球遗传性视网膜变性患者无药可医的现状。此次融资由昆仑资本领投,金浦投资等共同参与。

北京中因科技有限公司是一家专业从事遗传性眼病临床基因诊断和基因治疗药物研发的国家高新技术企业,是国内率先进行眼科基因治疗药物研发的企业。
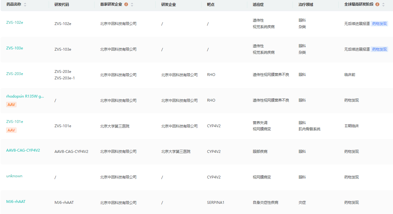
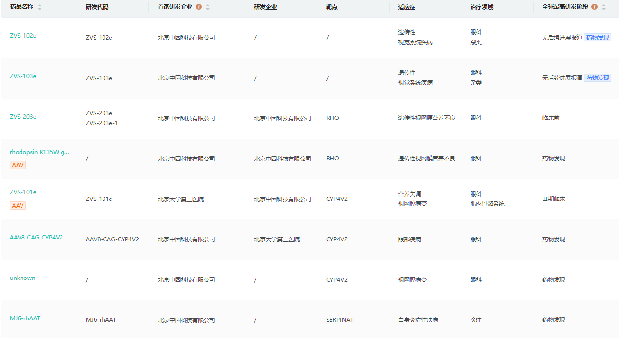
目前有7个在研遗传性眼病基因治疗管线,公司的药物研发主要聚焦在遗传性眼科疾病的基因治疗领域。主要研发两类产品:一类是基因替代治疗,主要策略是使用rAAV病毒将突变基因的正常拷贝携带到患者视网膜细胞中,进行基因表达补充,起到治疗的作用,这种治疗方式主要针对突变导致的基因表达不足的遗传疾病,如常染色体隐性遗传性疾病和X-linked隐性遗传疾病;另外一类是基因编辑治疗,主要策略是使用rAAV病毒将能够修复基因突变位点的修复序列携带到患者视网膜细胞中,对基因突变位点进行定点修复,恢复基因的正常功能,这种治疗方式主要针对常染色体显性遗传疾病。
研发管线查询

截图来源:药融云全球药物研发数据库
参考资料:
1.公司官网
2.药融云数据库
<END>
要解锁更多企业药品研发信息吗?查询药融云数据库(vip.pharnexcloud.com/?zmt-mhwz)掌握药品各国上市情况、药品批文信息、销售情况与各维度分析、市场竞争格局、一致性评价情况、集采中标情况、药企申报审批信息、最新动态与前景等,以及帮助企业抉择可否投入时提供数据参考!注册立享15天免费试用!








川公网安备51019002008863号
本网站未发布麻醉药品、精神药品、医疗用毒性药品、放射性药品、戒毒药品和医疗机构制剂的产品信息
收藏
登录后参与评论
暂无评论