
10月8日,据CDE官网显示,江苏万高药业提交的4类仿制化药苯磺酸左氨氯地平片上市申请已获受理。据药融云数据库显示,该品种在2023年全国院内市场的销售额超11亿元。

截图来源:CDE官网
苯磺酸左氨氯地平片是一种钙通道阻滞剂,它能通过阻止钙离子进入血管平滑肌细胞,从而松弛血管平滑肌,降低血压。据药融云数据库显示,苯磺酸左氨氯地平片在2023年全国院内市场的销售额超11亿元,是心血管系统药物全国医院销售榜TOP13品种。

截图来源:摩熵医药(原药融云)全国医院销售数据库
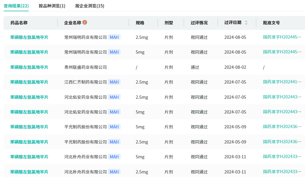
目前,苯磺酸左氨氯地平片在国内市场有山东新时代药业、山东新华制药、华北制药、扬子江药业集团上海海尼药业等18家药企拥有生产批文,其中过评的有15家药企。

截图来源:摩熵医药(原药融云)过评药品汇总数据库
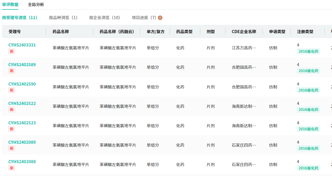
目前在仿制药布局方面,苯磺酸左氨氯地平片有江苏万高药业、石家庄四药、山东鲁抗医药等10家药企均以仿制4类报产在审。

截图来源:摩熵医药(原药融云)中国药品审评数据库
目前,江苏万高药业(含子公司)有37个仿制药报产在审,2024年至今,江苏万高药业(含子公司)有苯磺酸左氨氯地平片、盐酸伐地那非片、达格列净片等22个品种的仿制申请,均在审评审批中。
此外,今年以来江苏万高药业(含子公司)有乙磺酸尼达尼布软胶囊、吡仑帕奈片、盐酸氨溴索口服溶液等14个品种过评。
参考来源:
[1] CDE官网
[2] 药融云数据库
<END>
想要解锁更多药物研发信息吗?查询药融云数据库(vip.pharnexcloud.com/?zmt-mhwz)掌握药物基本信息、市场竞争格局、销售情况与各维度分析、药企研发进展、临床试验情况、申报审批情况、各国上市情况、最新市场动态、市场规模与前景等,以及帮助企业抉择可否投入时提供数据参考!注册立享15天免费试用!








川公网安备51019002008863号
本网站未发布麻醉药品、精神药品、医疗用毒性药品、放射性药品、戒毒药品和医疗机构制剂的产品信息
收藏
登录后参与评论
暂无评论